适用于私有云的 Edge v. 4.16.09
硬件要求
您必须满足以下最低硬件要求,才能获得高可用性 部署在生产级环境中的基础架构。对于 安装拓扑,下表中列出了 对安装组件的最低硬件要求
在以下表格中,除了要用到的磁盘可用空间之外, 操作系统根据您的应用和网络流量,您的安装可能 所需的资源比下面列出的资源要多或少。
|
安装组件 |
RAM |
CPU |
最小硬盘容量 |
|---|---|---|---|
|
Cassandra |
16 GB |
8 核 |
250GB 本地存储空间(含 SSD)或支持 2000 IOPS 的快速 HDD |
|
同一机器上有消息处理器/路由器 |
8/16GB |
4 核† |
100GB |
|
Google Analytics- 将 Postgres/Qpid 置于同一服务器上(不建议用于生产) |
16GB* |
8 核* |
500GB - 1TB** 网络存储空间***,最好使用 SSD 后端,支持 1,000 IOPS 或更高*。 |
|
Google Analytics- Postgres 独立式 |
16GB* |
8 核* |
500GB - 1TB** 网络存储空间***,最好使用 SSD 后端; 支持 1000 IOPS 或更高*。 |
|
Google Analytics- Qpid 独立式 |
8 GB |
4 核 |
30GB - 50GB 本地存储空间(含 SSD 或快速 HDD) 如果安装时间超过 250 TPS,本地存储支持 1000 IOPS 的 HDD 建议。 |
|
其他(OpenLDAP、界面、管理服务器) |
4GB |
2 核 |
60 GB |
|
† 根据吞吐量调整消息处理器的系统要求: 为高吞吐量系统,最小建议为 4 核和 8 核。 您可以运行性能测试来确定 API 的最佳大小。 |
|||
|
*根据吞吐量调整 Postgres 系统要求:
|
|||
|
**Postgres 硬盘值基于
Edge。如果您向分析数据添加自定义值,那么这些值应
也会相应地提高使用以下公式估算所需存储空间: |
|||
|
*** 建议为 Postgresql 数据库使用 Network Storage,因为:
|
|||
此外,下面还列出了要安装 变现服务:
|
具有创收功能的组件 |
RAM |
CPU |
硬盘 |
|---|---|---|---|
|
管理服务器(含变现服务) |
8 GB |
4 核 |
60 GB |
|
Google Analytics- 同一服务器上的 Postgres/Qpid |
16 GB |
8 核 |
500GB - 1TB 网络存储空间,最好带 SSD 后端,支持 1000 IOPS 或 或使用上表中的规则。 |
|
Google Analytics- Postgres 独立式 |
16 GB |
8 核 |
500GB - 1TB 网络存储空间,最好带 SSD 后端,支持 1000 IOPS 或 或使用上表中的规则。 |
|
Google Analytics- Qpid 独立式 |
8 GB |
4 核 |
40GB |
下面列出了要安装 API BaaS 的硬件要求:
|
API BaaS 组件 |
RAM |
CPU |
硬盘 |
|---|---|---|---|
|
ElasticSearch* |
8 GB |
4 核 |
60 - 80GB |
|
API BaaS 堆栈 * |
8 GB |
4 核 |
60 - 80GB |
|
API BaaS 门户 |
1GB |
2 核 |
20GB |
|
Cassandra(可选 - 通常您针对这两个 Edge 使用同一 Cassandra 集群 和 API BaaS 服务) |
16 GB |
8 核 |
250GB 本地存储空间(含 SSD)或支持 2000 IOPS 的快速 HDD |
|
* 您可以在同一节点上安装 ElasticSearch 和 API BaaS Stack。如果有, 将 ElasticSearch 配置为使用 4GB 的内存(默认)。如果 ElasticSearch 已安装到 然后使用 6GB 内存。 |
|||
注意:
- 如果根文件系统不够大,无法进行安装,建议您 将数据放在更大的磁盘上
- 如果机器上安装的是适用于私有云的旧版 Apigee Edge,请确保 在新安装前删除文件夹 /tmp/java。
- 系统级临时文件夹 /tmp 需要有执行权限, 启动 Cassandra。
- 如果在安装之前创建了用户“apigee”,请确保 “/home/apigee”以主目录形式存在,且由 “apigee:apigee”。
操作系统和第三方 软件要求
这些安装说明和提供的安装文件已在 操作系统和第三方软件(详见 https://apigee.com/docs/api-services/reference/supported-software)。
创建 apigee 用户
安装过程会创建一个名为“apigee”的 Unix 系统用户。边缘目录和 “apigee”拥有的文件和 Edge 进程均拥有。这意味着 Edge 组件会以 “apigee”用户。如有必要,您可以用其他用户身份运行组件。请参阅“绑定路由器” 安全端口”请参阅在 node。
安装目录
默认情况下,安装程序会将所有文件写入 /opt/apigee 目录。您无法更改此设置 目录位置。
在本指南的说明中,安装目录标注为 /<inst_root>/apigee,其中 /<inst_root> 默认为 /opt。
Java
您需要在安装前在每台计算机上安装受支持的 Java1.8 版本。 下面列出了支持的 JDK:
https://apigee.com/docs/api-services/reference/supported-software
确保 JAVA_HOME 指向 到执行安装的用户的 JDK 的根目录。
网络设置
建议您在安装前检查网络设置。安装程序 希望所有机器都具有固定的 IP 地址。使用以下命令验证 设置:
- hostname:返回名称 机器的
- hostname -i 会返回 IP 地址。
根据您的操作系统类型和版本,您可能必须修改 /etc/hosts 和 /etc/sysconfig/network(如果主机名不是 设置正确。如需了解详情,请参阅具体操作系统的文档。
卡桑德拉
所有 Cassandra 节点都必须连接到一个环。Cassandra 将数据副本存储在 以确保可靠性和容错能力每个边缘的复制策略 键空间决定了副本所在的 Cassandra 节点。如需了解详情,请参阅关于 Cassandra 复制 系数和一致性级别。
Cassandra 会根据可用内存自动调整其 Java 堆大小。如需了解详情, 请参阅调整 Java 资源。在性能下降或内存消耗较高时。
安装适用于私有云的 Edge 后,您可以检查 Cassandra 是否已配置 正确做法是检查 /<inst_root>/apigee/apigee-cassandra/conf/cassandra.yaml 文件。例如,确保适用于私有云的 Edge 安装脚本设置了以下 属性:
- cluster_name
- initial_token
- 分区
- 种子
- listen_address
- rpc_address
- 告密
警告:请勿修改此文件。
PostgreSQL 数据库
安装 Edge 后,您可以根据 系统上的可用 RAM 容量:
conf_postgresql_shared_buffers = 35% of RAM # min 128kB conf_postgresql_effective_cache_size = 45% of RAM conf_postgresql_work_mem = 512MB # min 64kB
如需设置这些值,请执行以下操作:
- 修改 postgresql.properties:
>六 /<inst_root>/apigee/customer/application/postgresql.properties
如果该文件不存在,请创建该文件。 - 设置上面列出的属性。
- 保存所做的修改。
- 重启 PostgreSQL 数据库:
> /<inst_root>/apigee/apigee-service/bin/apigee-service apigee-postgresql 重启
jsvc
“jsvc”是使用 API BaaS 的前提条件。安装时,系统会同时安装版本 1.0.15-dev API BaaS
网络威胁防护服务 (NSS)
网络威胁防护服务 (NSS) 是一组库,支持开发 启用了安全性的客户端和服务器应用。您应该确保已安装 NSS v3.19 或更高版本。
如需查看当前版本,请按以下步骤操作:
> yum info nss
如需更新 NSS,请执行以下操作:
> yum update nss
请参阅 RedHat 的这篇文章 。
在 Google Cloud 上停用 IPv6 适用于 RedHat/CentOS 7 的平台
如果您要在 Google Cloud Platform 上的 RedHat 7 或 CentOS 7 上安装 Edge,则需要 必须在所有 Qpid 节点上停用 IPv6。
有关说明,请参阅与您的具体操作系统版本对应的 RedHat 或 CentOS 文档 停用 IPv6。
AWS AMI
如果要在适用于 Red Hat Enterprise Linux 的 AWS Amazon 机器映像 (AMI) 上安装 Edge 您必须先运行以下命令:
> yum-config-manager --enable rhui-REGION-rhel-server-extras rhui-REGION-rhel-server-optional
工具
安装程序在 EL5 提供的标准版中使用以下 UNIX 工具,或者 EL6。
|
awk |
dirname |
ls |
每分钟转数 |
unzip |
|
基名 |
echo |
perl |
rpm2cpio |
添加 |
|
bash |
表达式 |
pgrep(来自 procps) |
sed |
wc |
|
bc |
grep |
ps |
tar |
美味 |
|
curl |
主机名 |
pwd |
tr |
chkconfig |
|
date |
id |
Python |
uname |
sudo |
注意:
- 工具“useradd”的可执行文件位于 /usr/sbin 中,chkconfig 位于 /sbin 中。
- 通过 sudo 访问权限,您可以获取调用用户的环境的访问权限,例如, 通常,您会调用“sudo <command>”或 “sudo PATH=$PATH:/usr/sbin:/sbin <command>”。
- 确保您已先安装“补丁”工具,然后再安装服务软件包(补丁) 安装。
ntpdate - 建议对服务器进行时间同步。如果 则“ntpdate”实用程序可以用于这一目的, 服务器是否进行时间同步。您可以使用“yum install ntp”来安装 实用程序。这在复制 OpenLDAP 设置时特别有用。请注意,您设置了 时区。
openldap 2.4 - 本地安装需要 OpenLDAP 2.4。如果 您的服务器已连接到互联网,然后会下载并安装 Edge 安装脚本 OpenLDAP.如果您的服务器未连接到互联网,请务必确保 OpenLDAP 已 。在 RHEL/CentOS 上,你可以 “yum install openldap-clients openldap-servers"安装 OpenLDAP。
对于 13 个主机的安装和具有 2 个数据中心的 12 个主机的安装,您需要 OpenLDAP 复制,因为有多个托管 OpenLDAP 的节点。
防火墙和虚拟主机
“虚拟”一词在 IT 领域经常被忽视, 适用于私有云部署和虚拟主机的 Apigee Edge。需要说明的是 “虚拟”一词的使用:
- 虚拟机 (VM):不是必需的,但部分部署会使用虚拟机技术 为 Apigee 组件创建独立的服务器。虚拟机主机(如物理主机)可以 网络接口和防火墙这些安装说明并非专门针对 虚拟机安装。
- 虚拟主机:网络端点,类似于 Apache 虚拟主机。
虚拟机中的路由器可以公开多个虚拟主机(只要这些主机在 其主机别名或接口端口中)。
举一个命名示例,单个物理服务器“A”可能运行两个虚拟机, 分别命名为“VM1”和“VM2”我们假设 VM1 公开了一个虚拟以太网 接口,命名为 eth0 并且虚拟化会为其分配 IP 地址 111.111.111.111 计算机或网络 DHCP 服务器;然后假设 VM2 还公开了一个虚拟以太网接口 名为 eth0,它会被分配一个 IP 地址 111.111.111.222。
两个虚拟机中可能都运行了一个 Apigee 路由器。路由器会公开虚拟主机 如以下假设示例所示:
VM1 中的 Apigee 路由器在其 eth0 接口(有一些 api.mycompany.com:80、api.mycompany.com:443 和 test.mycompany.com:80。
VM2 中的路由器公开 api.mycompany.com:80(与 由 VM1 公开)。
物理主机的操作系统可能具有网络防火墙;如果是,该防火墙 必须配置为通过 接口(111.111.111.111:{80, 443} 和 111.111.111.222:80)。此外,每个 虚拟机的操作系统可能会在其 eth0 接口上提供自己的防火墙,这些防火墙也必须 则允许端口 80 和 443 流量进行连接。
基本路径是将 API 调用路由到不同 API 代理所涉及的第三个组成部分 您可能已部署的资源如果 API 代理软件包具有不同的端点,则可以共享一个端点 基本路径。例如,一个基本路径可以定义为 http://api.mycompany.com:80/,而另一个基本路径可以定义为 定义为 http://api.mycompany.com:80/salesdemo。
在这种情况下,您需要通过某种类型的负载平衡器或 Traffic Director 来拆分 两个 IP 地址(VM1 上的 111.111.111.111 和 VM2 上的 111.111.111.222)之间的 http://api.mycompany.com:80/ 流量。此函数 特定于您的安装,并由本地网络组进行配置。
基本路径是在部署 API 时设置的。在上面的示例中,您可以部署两个 API, mycompany 和 testmycompany(对于组织) mycompany-org 和 其主机别名为 api.mycompany.com 且端口设置为 80。如果您没有声明 基本路径,则路由器不知道要发送传入请求的 API 目标。
但是,如果您使用 testmycompany 这一基准网址部署 API /salesdemo,则用户可以访问 该 API(网址为 http://api.mycompany.com:80/salesdemo)。如果您 使用 / 的基础网址部署您的 API mycompany,然后用户通过该网址访问 API http://api.mycompany.com:80/.
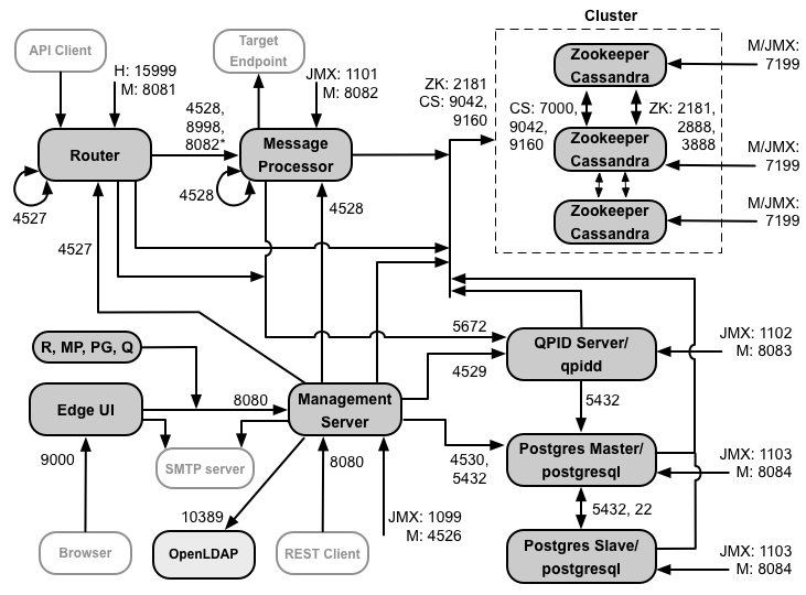
边缘端口要求
对防火墙的管理不仅仅局限于虚拟主机;虚拟机和物理主机 防火墙必须允许组件与各个组件通信所需端口的流量通过 其他。
下图显示了每个 Edge 组件的端口要求:

下图中的备注:
-
*仅当您执行下列操作时,路由器上的端口 8082 才需要开放 配置路由器和邮件处理器之间的 TLS/SSL。如果您未配置 TLS/SSL (默认配置),端口 8082 仍必须 在消息处理器上打开以管理组件,但路由器不要求 访问。
- 以“M”为前缀的端口是用于管理组件的端口,必须在 组件,并且必须在组件上打开,以便管理服务器访问。
- 以下组件需要访问管理服务器上的端口 8080:路由器、 消息处理器、界面、Postgres 和 Qpid。
- 消息处理器必须打开端口 4528 作为其管理端口。如果您有多个 它们必须都能够通过端口 4528(用 上图中消息处理器上的端口 4528 的循环箭头)。如果您有多个 数据中心,必须可从所有数据中心内的所有消息处理器访问该端口。
- 您可以在路由器上打开端口 4527,以供任何邮件访问,尽管这不是必需操作 处理器。否则,您可能会在消息处理器日志文件中看到错误消息。
- 路由器必须打开端口 4527 作为其管理端口。如果您有多个路由器 都必须能够通过端口 4527(由 如上图所示,路由器上的端口 4527)。
- Edge 界面需要访问 API 代理公开的端口上的路由器,以支持 跟踪工具中的发送按钮。
- 管理服务器需要访问 Cassandra 节点上的 JMX 端口。
- 对 JMX 端口的访问可配置为需要用户名/密码。如需了解详情,请参阅如何监控。
- 您可以选择为特定连接配置 TLS/SSL 访问, 不同的端口请参阅 TLS/SSL 。
- 如果将两个 Postgres 节点配置为使用主备用复制功能,则必须打开端口 22 进行 SSH 访问您可以选择打开个别节点上的端口,以允许 使用 SSH 连接到 Cloud VPN。
- 您可以将管理服务器和边缘界面配置为通过外部 SMTP 发送电子邮件 服务器。如果这样做,您必须确保管理服务器和 UI 可以访问必要的 SMTP 服务器上的端口对于非 TLS SMTP,端口号通常为 25。对于已启用 TLS SMTP,通常为 465,但请与您的 SMTP 提供商确认。
下表显示了需要在防火墙中按 Edge 组件打开的端口:
|
组件 |
Port(端口) |
说明 |
|---|---|---|
|
标准 HTTP 端口 |
80、443 |
HTTP 以及您用于虚拟主机的任何其他端口 |
|
管理服务器 |
8080 |
用于调用 Edge Management API 的端口。这些组件要求访问端口 8080, 管理服务器:路由器、消息处理器、UI、Postgres 和 Qpid。 |
|
1099 |
JMX 端口 |
|
|
4526 |
适用于分布式缓存和管理调用 |
|
|
管理界面 |
9000 |
用于通过浏览器访问管理界面的端口 |
|
消息处理器 |
8998 |
用于从路由器通信的消息处理器端口 |
|
8082 |
消息处理器的默认管理端口,必须在组件上打开 管理服务器访问的资源。
如果您在路由器和邮件处理器之间配置 TLS/SSL(由路由器使用)
对消息处理器进行健康检查。
|
|
|
1101 |
JMX 端口 |
|
|
4528 |
适用于消息处理器之间的分布式缓存和管理调用,以及 通过路由器进行通信 |
|
|
路由器 |
8081 |
路由器的默认管理端口,必须在组件上打开才能访问 由管理服务器管理 |
|
4527 |
适用于分布式缓存和管理调用 |
|
|
15999 |
健康检查端口。负载平衡器使用此端口来确定路由器是否 可用。 要获取路由器的状态,负载平衡器会向 路由器: > curl -v http://<routerIP>:15999/v1/servers/self/reachable 如果路由器可以访问,则请求将返回 HTTP 200。 |
|
|
ZooKeeper |
2181 |
供管理服务器、路由器、消息处理器等其他组件使用 已开启 |
|
2888、3888 |
供 ZooKeeper 在内部用于 ZooKeeper 集群(称为 ZooKeeper 集成学习) 通信 |
|
|
Cassandra |
7000、9042、9160 |
Apache Cassandra 端口,用于在 Cassandra 节点之间通信以及 其他 Edge 组件。 |
|
7199 |
JMX 端口。必须开放以供管理服务器访问。 |
|
|
Qpid |
5672 |
用于从路由器和消息处理器到 Qpid 服务器的通信 |
|
8083 |
Qpid 服务器上的默认管理端口,必须在组件上打开 管理服务器访问的资源。 |
|
|
1102 |
JMX 端口 |
|
|
4529 |
适用于分布式缓存和管理调用 |
|
|
Postgres |
5432 |
用于从 Qpid/Management 服务器到 Postgres 的通信 |
|
8084 |
Postgres 服务器上的默认管理端口必须在组件上打开才能访问 由管理服务器管理 |
|
|
1103 |
JMX 端口 |
|
|
4530 |
适用于分布式缓存和管理调用 |
|
|
22 |
如果要将两个 Postgres 节点配置为使用主备用复制功能,则必须打开 为 SSH 访问各节点上的端口 22。 |
|
|
LDAP |
10389 |
OpenLDAP |
|
SmartDocs |
59002 |
边缘路由器上的端口,用于发送 SmartDocs 页面请求。 |
|
注意:此外,您可能需要打开防火墙中的端口以进行测试。对于 例如 59001,依此类推。 |
||
下表显示了相同的端口(以数字形式列出),其中包含来源和目标 组件:
|
端口号 |
目的 |
源组件 |
目标组件 |
|---|---|---|---|
|
<虚拟主机端口> |
HTTP 以及您用于虚拟主机 API 调用流量的任何其他端口。端口 80 和 443 最常用的类别邮件路由器可以终止 TLS/SSL 连接。 |
外部客户端(或负载平衡器) |
消息路由器上的监听器 |
|
1099 到 1103 |
JMX 管理 |
JMX 客户端 |
管理服务器 (1099) 消息处理器 (1101) Qpid 服务器 (1102) Postgres 服务器 (1103) |
|
2181 |
ZooKeeper 客户端通信 |
管理服务器 路由器 消息处理器 Qpid 服务器 Postgres 服务器 |
ZooKeeper |
|
2888 和 3888 |
Zookeeper 节点间管理 |
ZooKeeper |
ZooKeeper |
|
4526 到 4530 |
RPC 管理端口,用于分布式缓存和来自管理服务器的调用 其他组件 |
管理服务器 |
管理服务器 (4526) 路由器 (4527) 消息处理器 (4528) Qpid 服务器 (4529) Postgres 服务器 (4530) |
|
4528 |
适用于消息处理器之间的分布式缓存调用,以及 从路由器 |
路由器 消息处理器 |
消息处理器 |
|
5432 |
Postgres 客户端 |
Qpid 服务器 |
Postgres |
|
5672 |
用于从路由器和消息处理器向 Qpid 发送分析数据 |
路由器 消息处理器 |
Qpid 服务器 |
|
7,000 |
Cassandra 节点间通信 |
Cassandra |
其他 Cassandra 节点 |
|
7199 |
JMX 管理。必须开放给管理层在 Cassandra 节点上访问 服务器。 |
JMX 客户端 |
Cassandra |
|
8080 |
Management API 端口 |
Management API 客户端 |
管理服务器 |
|
8081 到 8084 |
组件 API 端口,用于直接向各个组件发出 API 请求。 每个组件会打开不同的端口;所使用的端口取决于具体的配置 但必须在组件上打开,以便管理服务器访问 |
Management API 客户端 |
路由器 (8081) 消息处理器 (8082) Qpid 服务器 (8083) Postgres 服务器 (8084) |
|
8998 |
路由器和消息处理器之间的通信 |
路由器 |
消息处理器 |
|
9,000 |
默认边缘管理界面端口 |
浏览器 |
管理界面服务器 |
|
9042 |
CQL 原生传输 |
路由器 消息处理器 管理服务器 |
Cassandra |
|
9160 |
Cassandra 旧款客户 |
路由器 消息处理器 管理服务器 |
Cassandra |
|
10389 |
LDAP 端口 |
管理服务器 |
OpenLDAP |
| 15999 |
健康检查端口。负载平衡器使用此端口来确定路由器是否 可用。 |
负载均衡器 | 路由器 |
|
59002 |
发送 SmartDocs 页面请求的路由器端口 |
SmartDocs |
路由器 |
消息处理器使专用连接池保持对已配置的 Cassandra 开放 永不超时。当消息处理器和 Cassandra 服务器之间有防火墙时, 防火墙可能会使连接超时。但是,消息处理器并非设计为 重新建立与 Cassandra 的连接。
为防止出现这种情况,Apigee 建议将 Cassandra 服务器、消息处理器和 因此这些路由器位于同一子网中,这样在部署这些路由器时无需防火墙 组件。
如果防火墙位于路由器和消息处理器之间,并且设置了空闲的 tcp 超时时间, 我们的建议是:
- 设置 net.ipv4.tcp_keepalive_time = Linux 操作系统上 sysctl 设置中的 1800,其中 1800 应低于防火墙空闲时间 tcp 超时。此设置应使连接处于已建立状态, 防火墙不会断开连接。
- 在所有消息处理器上,修改 /<inst_root>/apigee/customer/application/message-processor.properties
以添加以下属性。如果该文件不存在,请创建该文件。
conf_system_casssandra.maxconnecttimeinmillis=-1 - 重启消息处理器:
> /opt/apigee/apigee-service/bin/apigee-service edge-message-processor restart - 在所有路由器上,修改 /<inst_root>/apigee/customer/application/router.properties
以添加以下属性。如果该文件不存在,请创建该文件。
conf_system_casssandra.maxconnecttimeinmillis=-1 - 重启路由器:
> /opt/apigee/apigee-service/bin/apigee-service Edge-router restart
如果您安装含有两个数据中心的 12 个主机集群配置,请确保 两个数据中心内的节点可以通过如下所示的端口进行通信:

API BaaS 端口要求
如果您选择安装 API BaaS,则需要添加 API BaaS 堆栈和 API BaaS 门户组件。 这些组件使用下图所示的端口:

下图中的备注:
- API BaaS 门户绝不会直接向 BaaS Stack 节点发出请求。如果开发者 登录门户后,系统会将该门户应用下载到浏览器。门户应用 然后浏览器向 BaaS 堆栈节点发出请求。
- API BaaS 的生产环境安装在 API BaaS 门户节点之间使用负载平衡器 和 API BaaS 栈节点在配置门户和进行 BaaS API 调用时,您需要 指定负载平衡器的 IP 地址或 DNS 名称,而不是栈节点的 IP 地址或 DNS 名称。
- 您必须将所有 Baas Stack 节点配置为通过外部 SMTP 服务器发送电子邮件。对于 不使用 TLS SMTP,则端口号通常为 25。对于启用了 TLS 的 SMTP,该值通常为 465, 与您的 SMTP 提供商相关联。
- Cassandra 节点可以专用于 API BaaS,也可以与 Edge 共享。
下表按组件显示了需要在防火墙中打开的默认端口:
|
组件 |
Port(端口) |
说明 |
|---|---|---|
|
API BaaS 门户 |
9000 |
API BaaS 界面的端口 |
|
API BaaS 堆栈 |
8080 |
接收 API 请求的端口 |
|
ElasticSearch |
9200 至 9400 |
用于与 API BaaS 堆栈通信以及在 ElasticSearch 之间通信 节点 |
许可
每次安装 Edge 时,您都需要从 Apigee 获取唯一的许可文件。您将 在安装管理服务器时需要提供许可文件的路径,例如 /tmp/license.txt.
安装程序将许可文件复制到 /<inst_root>/apigee/customer/conf/license.txt。
如果许可文件有效,管理服务器会验证许可文件是否过期,并显示允许的消息 处理器 (MP) 数量。如果任何许可设置已过期,您可以在 以下位置:/<inst_root>/apigee/var/log/edge-management-server/logs。 在这种情况下,您可以联系 Apigee 支持团队 迁移详情。