Edge for Private Cloud v. 4.16.05
Requisitos de hardware
Debes cumplir con los siguientes requisitos mínimos de hardware para un dispositivo con de nube en un entorno de producción. Para todas las situaciones de instalación descritas en Topologías de instalación, en las siguientes tablas se enumeran los requisitos mínimos de hardware para los componentes de instalación.
En estas tablas, los requisitos de disco duro se suman al espacio en disco duro requerido por el sistema operativo. Según las aplicaciones y el tráfico de red, es posible que la instalación requieren más o menos recursos de los que se indican a continuación.
|
Componente de instalación |
RAM |
CPU |
Disco duro mínimo |
|---|---|---|---|
|
Cassandra |
16 GB |
8 núcleos |
Almacenamiento local de 250 GB con SSD o HDD rápido que admite 2,000 IOPS |
|
Procesador de mensajes/router en la misma máquina |
8/16GB |
4 núcleos† |
100GB |
|
Analytics: Postgres/Qpid en el mismo servidor (no recomendado para producción) |
16GB* |
8 núcleos* |
De 500 GB a 1 TB** de almacenamiento en red***, preferentemente con backend SSD, que admite 1,000 IOPS o superior.* |
|
Analytics: Postgres independiente |
16GB* |
8 núcleos* |
De 500 GB a 1 TB** de almacenamiento en red***, preferentemente con backend SSD, que admiten 1,000 IOPS o más.* |
|
Analytics: Qpid independiente |
8 GB |
4 núcleos |
De 30 GB a 50 GB de almacenamiento local con SSD o HDD rápido Para instalaciones superiores a 250 TPS, se recomienda un HDD con almacenamiento local que admite 1,000 IOPS se recomienda. |
|
Otro (OpenLDAP, IU, servidor de administración) |
4 GB |
2 núcleos |
60 GB |
|
† Ajuste de los requisitos del sistema del procesador de mensajes en función de la capacidad de procesamiento: La recomendación mínima es de 4 núcleos y 8 núcleos para un sistema de alta capacidad de procesamiento. Puedes ejecutar pruebas de rendimiento para determinar el tamaño óptimo para tus APIs. |
|||
|
*Ajusta los requisitos del sistema de Postgres según la capacidad de procesamiento:
|
|||
|
**El valor del disco duro de Postgres se basa en las estadísticas listas para usar que captura
Edge. Si agregas valores personalizados a los datos de Analytics, estos deben ser
aumentaron en consecuencia. Usa la siguiente fórmula para estimar el almacenamiento requerido: |
|||
|
*** Se recomienda el almacenamiento en red para la base de datos de Postgresql por los siguientes motivos:
|
|||
Además, el siguiente artículo enumera los requisitos de hardware si deseas instalar el Servicios de Monetización:
|
Componente con monetización |
RAM |
CPU |
Disco duro |
|---|---|---|---|
|
Servidor de administración (con servicios de monetización) |
8 GB |
4 núcleos |
60 GB |
|
Analytics: Postgres/Qpid en el mismo servidor |
16 GB |
8 núcleos |
Almacenamiento en red de 500 GB a 1 TB, preferentemente con backend SSD, que admite 1,000 IOPS o más arriba o usa la regla de la tabla que aparece arriba. |
|
Analytics: Postgres independiente |
16 GB |
8 núcleos |
Almacenamiento en red de 500 GB a 1 TB, preferentemente con backend SSD, que admite 1,000 IOPS o más arriba o usa la regla de la tabla que aparece arriba. |
|
Analytics: Qpid independiente |
8 GB |
4 núcleos |
40GB |
A continuación, se muestra una lista de los requisitos de hardware si quieres instalar API BaaS:
|
Componente de BaaS de API |
RAM |
CPU |
Disco duro |
|---|---|---|---|
|
ElasticSearch* |
8 GB |
4 núcleos |
De 60 a 80 GB |
|
Pila de BaaS de la API * |
8 GB |
4 núcleos |
De 60 a 80 GB |
|
Portal de BaaS de la API |
1 GB |
2 núcleos |
20GB |
|
Cassandra (opcional; por lo general, usas el mismo clúster de Cassandra para Edge y los servicios de BaaS de APIs) |
16 GB |
8 núcleos |
Almacenamiento local de 250 GB con SSD o HDD rápido que admite 2,000 IOPS |
|
* Puedes instalar ElasticSearch y API BaaS Stack en el mismo nodo. Si lo haces, configurar ElasticSearch para que use 4 GB de memoria (predeterminado). Si ElasticSearch está instalado en su propio nodo y configurarlo para que use 6 GB de memoria. |
|||
Nota:
- Si el sistema de archivos raíz no es lo suficientemente grande para la instalación, se recomienda colocar los datos en un disco más grande.
- Si se instaló una versión anterior de Apigee Edge para la nube privada en la máquina, asegúrate de borrar la carpeta /tmp/java antes de una nueva instalación.
- La carpeta temporal de todo el sistema /tmp necesita permisos de ejecución para iniciar Cassandra.
- Si el usuario “apigee” se creó antes de la instalación, asegúrate de que “/home/apigee” existe como directorio principal y es propiedad de “apigee:apigee”.
Sistema operativo y herramientas de requisitos de software
Estas instrucciones de instalación y los archivos de instalación suministrados se probaron en el los sistemas operativos y software de terceros que se mencionan aquí: https://apigee.com/docs/api-services/reference/supported-software.
Crea el usuario de Apigee
El procedimiento de instalación crea un usuario de sistema Unix llamado “apigee”. Los directorios perimetrales y Los archivos son propiedad de “apigee”, al igual que los procesos de Edge. Eso significa que los componentes de Edge se ejecutan como “Apigee” usuario. Si es necesario, puedes ejecutar los componentes como un usuario diferente. Consulta “Cómo vincular el router” a un puerto protegido" en Cómo instalar componentes de Edge en un para ver un ejemplo.
Directorio de instalación
De forma predeterminada, el instalador escribe todos los archivos en el directorio /opt/apigee. No puedes cambiar esto del directorio.
En las instrucciones de esta guía, el directorio de instalación se indica como /<inst_root>/apigee, y /<inst_root> es /opt de forma predeterminada.
Java
Necesitas tener instalada una versión compatible de Java 1.8 en cada máquina antes de la instalación. Los JDK compatibles se enumeran aquí:
https://apigee.com/docs/api-services/reference/supported-software
Asegúrate de que JAVA_HOME apunte a la raíz del JDK para el usuario que realiza la instalación.
Configuración de red
Te recomendamos comprobar la configuración de red antes de la instalación. El instalador espera que todas las máquinas tengan direcciones IP fijas. Usa los siguientes comandos para validar parámetro de configuración:
- hostname devuelve el nombre de la máquina
- hostname -i muestra la IP para el nombre de host que se puede dirigir desde otras máquinas.
Según el tipo y la versión de tu sistema operativo, es posible que debas editar /etc/hosts y /etc/sysconfig/network si el nombre de host no es el correcto. correctamente. Para obtener más información, consulta la documentación de tu sistema operativo específico.
Cassandra
Todos los nodos de Cassandra deben estar conectados a un anillo.
Cassandra ajusta automáticamente el tamaño de montón de Java en función de la memoria disponible. Para obtener más información, consulta Ajuste de Java recursos. En caso de una degradación del rendimiento o un alto consumo de memoria.
Luego de instalar Edge para la nube privada, verifica que Cassandra esté configurado de forma correcta examinando el archivo /<inst_root>/apigee/apigee-cassandra/conf/cassandra.yaml . Por ejemplo, asegúrate de que la secuencia de comandos de instalación del perímetro para la nube privada establezca lo siguiente: propiedades:
- cluster_name
- initial_token
- particionador
- semillas
- listen_address
- rpc_address
- snexo
Advertencia: No edites este archivo.
Base de datos de PostgreSQL
Luego de instalar Edge, puedes ajustar la siguiente configuración de la base de datos de PostgreSQL según el cantidad de RAM disponible en tu sistema:
conf_postgresql_shared_buffers = 35% of RAM # min 128kB conf_postgresql_effective_cache_size = 45% of RAM conf_postgresql_work_mem = 512MB # min 64kB
Para establecer estos valores, sigue estos pasos:
- Edita postgresql.properties:
> vi /<inst_root>/apigee/customer/application/postgresql.properties
Si el archivo no existe, créalo. - Configura las propiedades que se mencionaron anteriormente.
- Guarda los cambios.
- Reinicia la base de datos de PostgreSQL:
> /<inst_root>/apigee/apigee-service/bin/apigee-service apigee-postgresql reiniciar
jsvc
“jsvc” es un requisito previo para usar las BaaS de las APIs. Se instala la versión 1.0.15-dev cuando instalas la BaaS de la API.
Servicios de seguridad de red (NSS)
Network Security Services (NSS) es un conjunto de bibliotecas que admite el desarrollo de aplicaciones cliente y servidor habilitadas para seguridad. Asegúrate de haber instalado NSS v3.19 o una versión posterior.
Para consultar tu versión actual, haz lo siguiente:
> yum info nss
Para actualizar NSS, haz lo siguiente:
> yum update nss
Consulta este artículo de Red Hat. para obtener más información.
AMI de AWS
Si instalas Edge en una imagen de máquina de Amazon (AMI) de AWS para Red Hat Enterprise Linux 7.x, primero debes ejecutar el siguiente comando:
> yum-config-manager --enable rhui-REGION-rhel-server-extras rhui-REGION-rhel-server-optional
Herramientas
El instalador usa las siguientes herramientas de UNIX en la versión estándar proporcionada por EL5 o EL6.
|
sem |
dirname |
ls |
rpm |
unzip |
|
nombre base |
echo |
perl |
rpm2cpio |
Agregar usuario |
|
Bash |
expr. |
pgrep (de procps) |
sed |
wc |
|
bc |
grep |
ps |
tar |
yum |
|
curl |
Nombre de host |
pwd |
tr |
chkconfig |
|
fecha |
id |
python |
uname |
sudo |
Nota:
- El ejecutable de la herramienta “useradd” se encuentra en /usr/sbin, y para chkconfig, en /sbin.
- Con el acceso sudo, puedes obtener acceso sobre el entorno del usuario que realiza la llamada, por ejemplo, por lo general, lo llamarías “sudo <command>” o “sudo PATH=$PATH:/usr/sbin:/sbin <comando>”.
- Asegúrate de tener instalada la herramienta de parches antes de colocar el Service Pack (parche) instalación.
ntpdate: se recomienda sincronizar el tiempo de los servidores. Si "ntpdate" podría cumplir este propósito, el cual verifica si los servidores están sincronizados en el tiempo. Puedes usar “yum install ntp” para instalar el o de terceros. Esto es particularmente útil para replicar configuraciones de OpenLDAP. Ten en cuenta que configuraste el servidor la zona horaria en UTC.
openldap 2.4: la instalación local requiere OpenLDAP 2.4. Si Si el servidor tiene conexión a Internet, la secuencia de comandos de instalación perimetral se descarga y se instala OpenLDAP. Si tu servidor no tiene conexión a Internet, debes asegurarte de que el OpenLDAP ya instalada antes de ejecutar la secuencia de comandos de instalación de Edge. En RHEL/CentOS, puedes ejecutar "yum install openldap-clients" openldap-servers" para instalar el OpenLDAP.
Para instalaciones de 13 hosts y de 12 hosts con dos centros de datos, necesitas Replicación de OpenLDAP porque hay varios nodos que alojan OpenLDAP.
Firewalls y hosts virtuales
El término “virtual” suele sobrecargarse en el ámbito de la TI, así que sucede Apigee Edge para la implementación de nubes privadas y hosts virtuales. Para aclarar, hay dos principales usos del término “virtual”:
- Máquinas virtuales (VM): No es obligatoria, pero algunas implementaciones usan tecnología de VM. crear servidores aislados para sus componentes de Apigee. Los hosts de VM, al igual que los hosts físicos, pueden tener interfaces de red y firewalls. Estas instrucciones de instalación no son compatibles específicamente Instalaciones de VM.
- Hosts virtuales: Extremos web, similares a un host virtual de Apache
Un router en una VM puede exponer varios hosts virtuales (siempre que difieran entre sí en su alias del host o en su puerto de interfaz).
Como ejemplo, un solo servidor físico “A” podría ejecutar dos VMs, llamada “VM1” y “VM2”. Supongamos que VM1 expone una red Ethernet virtual , que se denomina eth0. dentro de la VM, y a qué dirección IP le asigna la dirección IP 111.111.111.111 mediante la virtualización o un servidor DHCP de red; y, luego, supongamos que VM2 expone una interfaz Ethernet virtual llamada eth0 y se le asigna una dirección IP 111.111.111.222.
Es posible que tengamos en ejecución un router de Apigee en cada una de las dos VMs. Los routers exponen como en este ejemplo hipotético:
El router de Apigee en VM1 expone tres hosts virtuales en su interfaz eth0 (que tiene algunos dirección IP específica), api.mycompany.com:80, api.mycompany.com:443 y test.mycompany.com:80.
El router en la VM2 expone api.mycompany.com:80 (el mismo nombre y puerto que que expone la VM1).
El sistema operativo del host físico puede tener un firewall de red. Si es así, se establecerá la configuración se debe configurar para pasar el tráfico de TCP vinculado a los puertos que se exponen en la red interfaces (111.111.111.111:{80, 443} y 111.111.111.222:80). Además, cada El sistema operativo de la VM puede proporcionar su propio firewall en su interfaz eth0, que también debe permitir que se conecte el tráfico de los puertos 80 y 443.
La ruta base es el tercer componente involucrado en el enrutamiento de llamadas a la API a diferentes proxies de API que hayas implementado. Los paquetes de proxy de API pueden compartir un extremo si tienen diferentes basepaths. Por ejemplo, una ruta base se puede definir como http://api.mycompany.com:80/ y otra se define como http://api.mycompany.com:80/salesdemo.
En este caso, necesitas un balanceador de cargas o un director de tráfico de algún tipo que divida el http://api.mycompany.com:80/ entre las dos direcciones IP (111.111.111.111 en VM1 y 111.111.111.222 en VM2). Esta función es específicas de tu instalación en particular, y las configura tu grupo local de redes.
La ruta base se establece cuando implementas una API. En el ejemplo anterior, puedes implementar dos APIs. mycompany y testmycompany para la organización miempresa-org con la configuración host que tiene el alias de host api.mycompany.com y el puerto configurado como 80. Si no declaras un base de la ruta de la implementación, el router no sabrá qué API enviar las solicitudes entrantes. a los que tiene acceso una cuenta.
Sin embargo, si implementas la API testmycompany con la URL base de /salesdemo y los usuarios acceden esa API usando http://api.mycompany.com:80/salesdemo. Si implementa tu API mycompany con la URL base / luego, tus usuarios acceden a la API mediante la URL http://api.mycompany.com:80/.
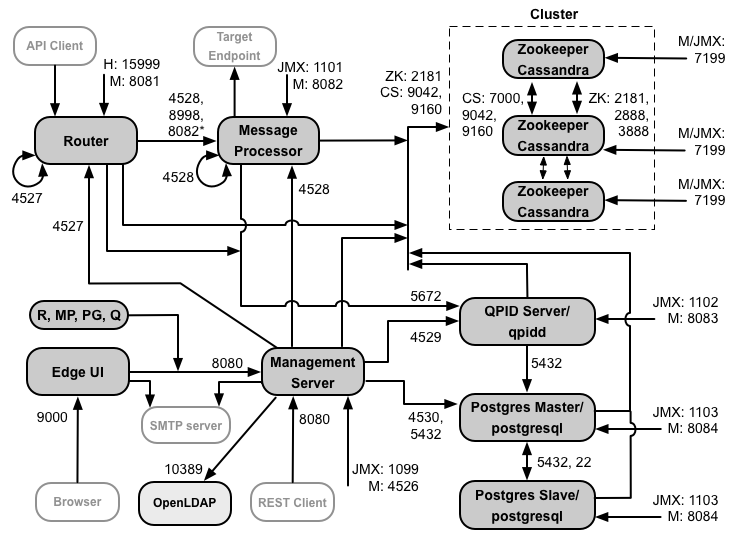
Requisitos de los puertos perimetrales
La necesidad de administrar el firewall va más allá de los hosts virtuales; una VM y un host físico los firewalls deben permitir el tráfico hacia los puertos que requieren los componentes para comunicarse con cada entre sí.
En la siguiente imagen, se muestran los requisitos de puertos para cada componente de Edge:

Notas sobre este diagrama:
-
*El puerto 8082 en el Message Processor solo debe estar abierto para que el router acceda a configurar TLS/SSL entre el router y Message Processor. Si no configuras TLS/SSL entre el router y el procesador de mensajes, la configuración predeterminada, el puerto 8082 debe estar abierto en el Message Processor para administrar el componente, pero el router no el acceso a ellos.
- Los puertos con el prefijo “M” son puertos que se utilizan para administrar el componente y deben estar abiertos en el para que acceda el servidor de administración.
- Los siguientes componentes requieren acceso al puerto 8080 en el servidor de administración: router, Message Processor, IU, Postgres y Qpid.
- Un Message Processor debe abrir el puerto 4528 como su puerto de administración. Si tienes varias de mensajes, todos deben poder acceder entre sí a través del puerto 4528 (indicado por el flecha de bucle en el diagrama anterior para el puerto 4528 en Message Processor). Si tienes varias Para los centros de datos, se debe poder acceder al puerto desde todos los procesadores de mensajes de todos los centros de datos.
- Si bien no es necesario, puedes abrir el puerto 4527 en el router para acceder a través de cualquier mensaje. Procesador. De lo contrario, es posible que veas mensajes de error en los archivos de registro de Message Processor.
- Un router debe abrir el puerto 4527 como su puerto de administración. Si tienes varios routers, deben poder acceder entre sí a través del puerto 4527 (indicado por la flecha de bucle en el diagrama anterior para el puerto 4527 del router).
- La IU de Edge requiere acceso al router, en los puertos que exponen los proxies de API, para admitir el botón Enviar en la herramienta de registro.
- El servidor de administración requiere acceso al puerto JMX en la instancia nodos.
- El acceso a los puertos JMX se puede configurar para que requiera un nombre de usuario y una contraseña. Consulta Cómo supervisar para obtener más información.
- Puedes configurar el acceso TLS/SSL para ciertas conexiones, que pueden usar puertos diferentes. Consulta TLS/SSL para más.
- Si configuras dos nodos de Postgres para usar la replicación en espera de instancia principal, debes abrir el puerto 22 en cada nodo para el acceso SSH. Si lo deseas, puedes abrir puertos en nodos individuales para permitir acceso SSH.
- Puedes configurar el servidor de administración y la IU perimetral para enviar correos electrónicos a través de un SMTP externo servidor. Si lo hace, debe asegurarse de que el servidor de administración y la IU puedan acceder a los puerto en el servidor SMTP. En el caso de SMTP que no sea TLS, el número de puerto suele ser 25. Para TLS habilitado SMTP, por lo general es 465, pero consulta con tu proveedor de SMTP.
En la siguiente tabla, se muestra que el componente de Edge debe abrir los puertos en firewalls:
|
Componente |
Puerto |
Descripción |
|---|---|---|
|
Puertos HTTP estándar |
80, 443 |
HTTP más cualquier otro puerto que uses para hosts virtuales |
|
Servidor de administración |
8080 |
Puerto para llamadas a la API de Edge Management. Estos componentes requieren acceso al puerto 8080 en servidor de administración: Router, Procesador de mensajes, IU, Postgres y Qpid. |
|
1099 |
Puerto JMX |
|
|
4526 |
Para caché distribuida y llamadas de administración |
|
|
IU de administración |
9000 |
Puerto para el acceso del navegador a la IU de administración |
|
Message Processor |
8998 |
Puerto del procesador de mensajes para las comunicaciones del router |
|
8082 |
Puerto de administración predeterminado para Message Processor y debe estar abierto en el componente de el acceso por el servidor de administración.
Si configuras TLS/SSL entre el router y el procesador de mensajes, que usa el router
para realizar verificaciones de estado en Message Processor.
|
|
|
1101 |
Puerto JMX |
|
|
4528 |
Para caché distribuida y llamadas de administración entre procesadores de mensajes y para comunicación desde el router |
|
|
Router |
8081 |
Puerto de administración predeterminado para el router; debe estar abierto en el componente para acceder por el servidor de administración. |
|
4527 |
Para caché distribuida y llamadas de administración |
|
|
15999 |
Puerto de verificación de estado. Un balanceador de cargas usa este puerto para determinar si el router disponibles. Para obtener el estado de un router, el balanceador de cargas envía una solicitud al puerto 15999 en el Router: > curl -v http://<routerIP>:15999/v1/servers/self/reachable Si se puede acceder al router, la solicitud muestra HTTP 200. |
|
|
ZooKeeper |
2181 |
Lo utilizan otros componentes, como el servidor de administración, el router, el procesador de mensajes, etcétera. activado |
|
2888 y 3888 |
ZooKeeper lo usa internamente para el clúster de ZooKeeper (conocido como el ensamble de ZooKeeper). comunicación |
|
|
Cassandra |
7000, 9042 y 9160 |
Puertos de Apache Cassandra para la comunicación entre los nodos de Cassandra y el acceso para otros componentes de Edge. |
|
7199 |
JMX. Debe estar abierto para que pueda acceder el servidor de administración. |
|
|
Qpid |
5672 |
Se usa para las comunicaciones entre el router y el procesador de mensajes con el servidor Qpid |
|
8083 |
Puerto de administración predeterminado en el servidor Qpid y debe estar abierto en el componente para el acceso por el servidor de administración. |
|
|
1102 |
Puerto JMX |
|
|
4529 |
Para caché distribuida y llamadas de administración |
|
|
Postgres |
5432 |
Se usa para la comunicación entre Qpid/Management Server y Postgres |
|
8084 |
Puerto de administración predeterminado en el servidor de Postgres y debe estar abierto en el componente para el acceso por el servidor de administración. |
|
|
1103 |
Puerto JMX |
|
|
4530 |
Para caché distribuida y llamadas de administración |
|
|
22 |
Si configuras dos nodos de Postgres para usar la replicación en espera de instancia principal, debes abrir el puerto 22 de cada nodo para el acceso SSH. |
|
|
LDAP |
10,389 |
OpenLDAP |
|
SmartDocs |
59002 |
El puerto del router perimetral al que se envían las solicitudes de páginas de SmartDocs. |
|
Nota: Además, es posible que debas abrir puertos en los firewalls para realizar pruebas. Para por ejemplo, 59001, etcétera. |
||
En la siguiente tabla, se muestran los mismos puertos, enumerados numéricamente, con el origen y el destino componentes:
|
Número de puerto |
Objetivo |
Componente de origen |
Componente de destino |
|---|---|---|---|
|
<puerto de host virtual#> |
HTTP o cualquier otro puerto que uses para el tráfico de llamadas a la API de host virtual. Puertos 80 y 443 son los más utilizados; el Enrutador de mensajes puede finalizar las conexiones TLS/SSL. |
Cliente externo (o balanceador de cargas) |
Objeto de escucha en Message Router |
|
De 1099 a 1103 |
Administración de JMX |
Cliente JMX |
Servidor de administración (1099) Message Processor (1101) Servidor Qpid (1102) Postgres Server (1103) |
|
2,181 |
Comunicación con el cliente de Zookeeper |
Servidor de administración Router Message Processor Servidor Qpid Servidor de Postgres |
Zookeeper |
|
2888 y 3888 |
Administración de nodos de Zookeeper |
Zookeeper |
Zookeeper |
|
De 4526 a 4530 |
Puertos de administración de RPC que se usan para la caché distribuida y las llamadas desde los servidores de administración a los demás componentes |
Servidor de administración |
Servidor de administración (4526) Router (4527) Message Processor (4528) Servidor Qpid (4529) Postgres Server (4530) |
|
4,528 |
Para llamadas de caché distribuidas entre procesadores de mensajes y para la comunicación desde el router |
Router Message Processor |
Message Processor |
|
5,432 |
Cliente de Postgres |
Servidor Qpid |
Postgres |
|
5,672 |
Se usa para enviar estadísticas del router y el procesador de mensajes a Qpid |
Router Message Processor |
Servidor Qpid |
|
7,000 |
Comunicaciones entre nodos de Cassandra |
Cassandra |
Otro nodo de Cassandra |
|
7,199 |
Administración de JMX. Debe estar abierto para que la gerencia acceda al nodo de Cassandra. Servidor. |
cliente JMX |
Cassandra |
|
8080 |
Puerto de la API de Management |
Clientes de la API de Management |
Servidor de administración |
|
De 8081 a 8084 |
Puertos de API de componentes, que se usan para emitir solicitudes a la API directamente a componentes individuales. Cada componente abre un puerto diferente. el puerto exacto usado depende de la configuración pero debe estar abierto en el componente para que pueda acceder el servidor de administración |
Clientes de la API de Management |
Router (8081) Message Processor (8082) Servidor Qpid (8083) Postgres Server (8084) |
|
8,998 |
Comunicación entre el router y el procesador de mensajes |
Router |
Message Processor |
|
9,000 |
Puerto predeterminado de la IU de administración perimetral |
Navegador |
Servidor de IU de administración |
|
9042 |
Transporte nativo de CQL |
Router Message Processor Servidor de administración |
Cassandra |
|
9,160 |
Cliente de segunda mano de Cassandra |
Router Message Processor Servidor de administración |
Cassandra |
|
10,389 |
Puerto LDAP |
Servidor de administración |
OpenLDAP |
| 15,999 | Puerto de verificación de estado. Un balanceador de cargas usa este puerto para determinar si el router disponibles. | Balanceador de cargas | Router |
|
59,002 |
El puerto del router al que se envían las solicitudes de la página SmartDocs |
SmartDocs |
Router |
Un procesador de mensajes mantiene un grupo de conexiones dedicado abierto a Cassandra, que se configura para que nunca se agote el tiempo de espera. Cuando un firewall se encuentra entre un procesador de mensajes y un servidor Cassandra, firewall puede agotar el tiempo de espera de la conexión. Sin embargo, el procesador de mensajes no está diseñado para restablecer conexiones con Cassandra.
Para evitar esta situación, Apigee recomienda que el servidor Cassandra, el procesador de mensajes y los routers estén en la misma subred, de modo que un firewall no esté involucrado en la implementación de estos o los componentes de la solución.
Si un firewall se encuentra entre el router y los procesadores de mensajes, y tiene configurado un tiempo de espera de TCP inactivo, nuestra recomendación es:
- Configura net.ipv4.tcp_keepalive_time = 1800 en la configuración sysctl del SO Linux, donde 1800 debería ser menor que el firewall inactivo tiempo de espera de tcp. Esta configuración debe mantener la conexión en un estado establecido para que la firewall no desconecta la conexión.
- En todos los procesadores de mensajes, edita /<inst_root>/apigee/customer/application/message-processor.properties
para agregar la siguiente propiedad. Si el archivo no existe, créalo.
conf_system_casssandra.maxconnecttimeinmillis=-1 - Reinicia el Message Processor:
> /opt/apigee/apigee-service/bin/apigee-service Edge-message-processor restart - En todos los routers, edita /<inst_root>/apigee/customer/application/router.properties
para agregar la siguiente propiedad. Si el archivo no existe, créalo.
conf_system_casssandra.maxconnecttimeinmillis=-1 - Reinicia el router:
> /opt/apigee/apigee-service/bin/apigee-service Edge-router restart
Si instalas la configuración agrupada en clústeres de 12 hosts con dos centros de datos, asegúrate de que las los nodos de ambos centros de datos se pueden comunicar a través de los puertos que se muestran a continuación:

Requisitos del puerto de BaaS de la API
Si optas por instalar las BaaS de las APIs, debes agregar los componentes de la pila de BaaS de APIs y del portal de BaaS de APIs. Estos componentes usan los puertos que se muestran en la siguiente figura:

Notas sobre este diagrama:
- Los nodos de Cassandra pueden dedicarse a las BaaS de las APIs o se pueden compartir con Edge.
- Una instalación de producción de la API BaaS usa un balanceador de cargas entre el nodo del portal de la API de BaaS y los nodos de pila BaaS de APIs. Al configurar el Portal y realizar llamadas a la API de BaaS, puedes especificar la dirección IP o el nombre de DNS del balanceador de cargas, no de los nodos de pila.
- Debes configurar todos los nodos de la pila de Baas para enviar correos electrónicos a través de un servidor SMTP externo. Para que no sea SMTP por TLS, el número de puerto suele ser 25. Para SMTP habilitado por TLS, a menudo es 465, pero verifica con tu proveedor de SMTP.
En la siguiente tabla, se muestran los puertos predeterminados que se deben abrir en firewalls, por componente:
|
Componente |
Puerto |
Descripción |
|---|---|---|
|
Portal de BaaS de la API |
9000 |
Puerto para la IU de BaaS de la API |
|
Pila de BaaS de API |
8080 |
Puerto donde se recibe la solicitud a la API |
|
ElasticSearch |
De 9,200 a 9,400 |
Para la comunicación con la pila BaaS de la API y para la comunicación entre ElasticSearch nodos |
Licencias
Cada instalación de Edge requiere un archivo de licencia único que obtienes de Apigee. Lo que harás proporcionar la ruta al archivo de licencia cuando instalas el servidor de administración, por ejemplo, /tmp/license.txt.
El instalador copia el archivo de licencia en /<inst_root>/apigee/customer/conf/license.txt.
Si el archivo de licencia es válido, el servidor de administración valida el vencimiento y el mensaje permitido. de procesadores (MP). Si venció alguna de las configuraciones de licencia, puedes encontrar los registros en la la siguiente ubicación: /<inst_root>/apigee/var/log/edge-management-server/logs. En este caso, puedes comunicarte con el equipo de asistencia de Apigee para detalles de la migración.