Edge для частного облака v. 4.16.05
Требования к оборудованию
Вы должны соответствовать следующим минимальным требованиям к оборудованию для высокодоступной инфраструктуры в среде производственного уровня. Для всех сценариев установки, описанных в разделе «Топологии установки» , в следующих таблицах указаны минимальные требования к оборудованию для компонентов установки.
В этих таблицах требования к жесткому диску указаны в дополнение к пространству на жестком диске, необходимому операционной системе. В зависимости от ваших приложений и сетевого трафика для вашей установки может потребоваться больше или меньше ресурсов, чем указано ниже.
Компонент установки | БАРАН | Процессор | Минимальный жесткий диск |
|---|---|---|---|
Кассандра | 16 ГБ | 8-ядерный | Локальное хранилище объемом 250 ГБ с твердотельным накопителем или быстрым жестким диском с поддержкой 2000 операций ввода-вывода в секунду. |
Процессор сообщений/маршрутизатор на одном компьютере | 8/16 ГБ | 4‑ядерный † | 100 ГБ |
Аналитика — Postgres/Qpid на том же сервере (не рекомендуется для производства) | 16 ГБ* | 8-ядерный* | Сетевое хранилище объемом от 500 ГБ до 1 ТБ**, желательно с серверным твердотельным накопителем, поддерживающим 1000 операций ввода-вывода в секунду или выше*. |
Аналитика — автономный Postgres | 16 ГБ* | 8-ядерный* | Сетевое хранилище объемом от 500 ГБ до 1 ТБ**, желательно с серверным твердотельным накопителем, поддерживающим 1000 операций ввода-вывода в секунду или выше*. |
Аналитика – автономный Qpid | 8 ГБ | 4-ядерный | 30–50 ГБ локального хранилища с SSD или быстрым жестким диском Для установок с производительностью более 250 TPS рекомендуется использовать жесткий диск с локальным хранилищем, поддерживающим 1000 IOPS. |
Другое (OpenLDAP, пользовательский интерфейс, сервер управления) | 4ГБ | 2-ядерный | 60 ГБ |
† Настройте системные требования процессора сообщений в зависимости от пропускной способности: Минимальная рекомендация — 4 ядра и 8 ядер для системы с высокой пропускной способностью. Вы можете запустить тесты производительности, чтобы определить оптимальный размер ваших API. | |||
*Настройте системные требования Postgres в зависимости от пропускной способности:
| |||
**Значение жесткого диска Postgres основано на готовых аналитических данных, полученных Edge. Если вы добавляете пользовательские значения к данным аналитики, то эти значения следует соответствующим образом увеличить. Используйте следующую формулу для оценки необходимого объема хранилища: | |||
*** Сетевое хранилище рекомендуется для базы данных Postgresql, потому что:
| |||
Кроме того, ниже перечислены требования к оборудованию, если вы хотите установить Службы монетизации:
Компонент с монетизацией | БАРАН | Процессор | Жесткий диск |
|---|---|---|---|
Сервер управления (со службами монетизации) | 8 ГБ | 4-ядерный | 60 ГБ |
Аналитика — Postgres/Qpid на том же сервере | 16 ГБ | 8-ядерный | Сетевое хранилище от 500 ГБ до 1 ТБ, желательно с серверной частью SSD, поддерживающее 1000 IOPS или выше, или используйте правило из таблицы выше. |
Аналитика — автономный Postgres | 16 ГБ | 8-ядерный | Сетевое хранилище от 500 ГБ до 1 ТБ, желательно с серверной частью SSD, поддерживающее 1000 IOPS или выше, или используйте правило из таблицы выше. |
Аналитика – автономный Qpid | 8 ГБ | 4-ядерный | 40 ГБ |
Ниже перечислены требования к оборудованию, если вы хотите установить API BaaS:
API-компонент BaaS | БАРАН | Процессор | Жесткий диск |
|---|---|---|---|
ЭластичныйПоиск* | 8 ГБ | 4-ядерный | 60–80 ГБ |
Стек API BaaS * | 8 ГБ | 4-ядерный | 60–80 ГБ |
API BaaS-портал | 1 ГБ | 2-ядерный | 20 ГБ |
Cassandra (необязательно — обычно вы используете один и тот же кластер Cassandra как для Edge, так и для служб API BaaS) | 16 ГБ | 8-ядерный | Локальное хранилище объемом 250 ГБ с твердотельным накопителем или быстрым жестким диском с поддержкой 2000 операций ввода-вывода в секунду. |
* Вы можете установить ElasticSearch и API BaaS Stack на одном узле. Если да, настройте ElasticSearch на использование 4 ГБ памяти (по умолчанию). Если ElasticSearch установлен на отдельном узле, настройте его на использование 6 ГБ памяти. | |||
Примечание :
- Если корневая файловая система недостаточно велика для установки, рекомендуется разместить данные на диске большего размера.
- Если на компьютере была установлена более старая версия Apigee Edge для частного облака, убедитесь, что вы удалили папку /tmp/java перед новой установкой.
- Общесистемной временной папке /tmp необходимы разрешения на выполнение для запуска Cassandra.
- Если пользователь «apigee» был создан до установки, убедитесь, что «/home/apigee» существует в качестве домашнего каталога и принадлежит «apigee:apigee».
Требования к операционной системе и стороннему программному обеспечению
Эти инструкции по установке и прилагаемые установочные файлы были протестированы на операционных системах и стороннем программном обеспечении, перечисленных здесь: https://apigee.com/docs/api-services/reference/supported-software .
Создание пользователя apigee
Процедура установки создает пользователя системы Unix с именем «apigee». Каталоги и файлы Edge, как и процессы Edge, принадлежат Apigee. Это означает, что компоненты Edge запускаются от имени пользователя apigee. при необходимости вы можете запускать компоненты от имени другого пользователя. Пример см. в разделе «Привязка маршрутизатора к защищенному порту» в разделе «Установка компонентов Edge на узле» .
Каталог установки
По умолчанию установщик записывает все файлы в каталог /opt/apigee . Вы не можете изменить расположение этого каталога.
В инструкциях в этом руководстве каталог установки указан как /<inst_root>/apigee , где /<inst_root> — это /opt по умолчанию.
Ява
Перед установкой на каждом компьютере должна быть установлена поддерживаемая версия Java1.8. Поддерживаемые JDK перечислены здесь:
https://apigee.com/docs/api-services/reference/supported-software
Убедитесь, что JAVA_HOME указывает на корень JDK пользователя, выполняющего установку.
Настройка сети
Перед установкой рекомендуется проверить настройки сети. Установщик ожидает, что все машины будут иметь фиксированные IP-адреса. Используйте следующие команды для проверки настройки:
- имя хоста возвращает имя машины
- имя_хоста -i возвращает IP-адрес имени хоста, к которому можно обращаться с других компьютеров.
В зависимости от типа и версии вашей операционной системы вам, возможно, придется отредактировать /etc/hosts и /etc/sysconfig/network, если имя хоста установлено неправильно. Дополнительную информацию см. в документации к вашей конкретной операционной системе.
Кассандра
Все узлы Cassandra должны быть подключены к кольцу.
Cassandra автоматически корректирует размер кучи Java в зависимости от доступной памяти. Дополнительную информацию см. в разделе Настройка ресурсов Java . В случае ухудшения производительности или высокого потребления памяти.
После установки Edge для частного облака вы можете проверить правильность настройки Cassandra, проверив файл /<inst_root>/apigee/apigee-cassandra/conf/cassandra.yaml . Например, убедитесь, что в сценарии установки Edge для частного облака заданы следующие свойства:
- имя_кластера
- начальный_токен
- разделитель
- семена
- прослушиваемый_адрес
- rpc_address
- стукач
Внимание : не редактируйте этот файл.
База данных PostgreSQL
После установки Edge вы можете настроить следующие параметры базы данных PostgreSQL в зависимости от объема оперативной памяти, доступной в вашей системе:
conf_postgresql_shared_buffers = 35% of RAM # min 128kB conf_postgresql_effective_cache_size = 45% of RAM conf_postgresql_work_mem = 512MB # min 64kB
Чтобы установить эти значения:
- Отредактируйте postgresql.properties:
> vi /<inst_root>/apigee/customer/application/postgresql.properties
Если файл не существует, создайте его. - Установите свойства, перечисленные выше.
- Сохраните изменения.
- Перезапустите базу данных PostgreSQL:
> /<inst_root>/apigee/apigee-service/bin/apigee-service перезапуск apigee-postgresql
JSVC
«jsvc» является обязательным условием для использования API BaaS. Версия 1.0.15-dev устанавливается при установке API BaaS.
Службы сетевой безопасности (NSS)
Службы сетевой безопасности (NSS) — это набор библиотек, которые поддерживают разработку клиентских и серверных приложений с поддержкой безопасности. Вам следует убедиться, что у вас установлена NSS v3.19 или более поздняя версия.
Чтобы проверить текущую версию:
> yum info nss
Чтобы обновить NSS:
> yum update nss
Дополнительную информацию см. в этой статье RedHat.
АВС АМИ
Если вы устанавливаете Edge на образ машины AWS Amazon (AMI) для Red Hat Enterprise Linux 7.x, сначала необходимо выполнить следующую команду:
> yum-config-manager --enable rhui-REGION-rhel-server-extras rhui-REGION-rhel-server-optional
Инструменты
Программа установки использует следующие инструменты UNIX в стандартной версии, предоставляемой EL5 или EL6.
ок | имя каталога | лс | об/мин | разархивировать |
базовое имя | эхо | перл | rpm2cpio | добавить пользователя |
бить | выражение | pgrep (из procps) | СЭД | Туалет |
до нашей эры | греп | пс | смола | ням |
завиток | имя хоста | страдающий | тр | chkconfig |
дата | идентификатор | питон | не называть имя | судо |
Примечание:
- Исполняемый файл инструмента useradd находится в /usr/sbin , а chkconfig — в /sbin .
- Используя доступ sudo, вы можете получить доступ к среде вызывающего пользователя, например, обычно вы вызываете « sudo <команда> » или « sudo PATH=$PATH:/usr/sbin:/sbin <команда> ».
- Перед установкой пакета обновления (исправления) убедитесь, что у вас установлен инструмент «исправления».
ntpdate – рекомендуется синхронизировать время серверов. Если это еще не настроено, для этой цели может служить утилита «ntpdate», которая проверяет, синхронизированы ли серверы по времени. Вы можете использовать « yum install ntp » для установки утилиты. Это особенно полезно для репликации настроек OpenLDAP. Обратите внимание, что вы устанавливаете часовой пояс сервера в формате UTC.
openldap 2.4 – для локальной установки требуется OpenLDAP 2.4. Если ваш сервер имеет подключение к Интернету, сценарий установки Edge загружает и устанавливает OpenLDAP. Если ваш сервер не имеет подключения к Интернету, вы должны убедиться, что OpenLDAP уже установлен, прежде чем запускать сценарий установки Edge. В RHEL/CentOS вы можете запустить « yum install openldap-clients openldap-servers », чтобы установить OpenLDAP.
Для установок с 13 хостами и установок с 12 хостами и двумя центрами обработки данных требуется репликация OpenLDAP, поскольку существует несколько узлов, на которых размещен OpenLDAP.
Брандмауэры и виртуальные хосты
Термин «виртуальный» обычно перегружен в сфере ИТ, как и в случае с Apigee Edge для развертывания частного облака и виртуальных хостов. Чтобы уточнить, есть два основных использования термина «виртуальный»:
- Виртуальные машины (ВМ) : не обязательно, но в некоторых развертываниях используется технология виртуальных машин для создания изолированных серверов для своих компонентов Apigee. Хосты виртуальных машин, как и физические хосты, могут иметь сетевые интерфейсы и брандмауэры. Эти инструкции по установке не поддерживают установку виртуальных машин.
- Виртуальные хосты : конечные точки веб-сайта, аналогичные виртуальному хосту Apache.
Маршрутизатор в виртуальной машине может предоставлять доступ к нескольким виртуальным хостам (при условии, что они отличаются друг от друга псевдонимом хоста или интерфейсным портом).
В качестве примера именования: на одном физическом сервере «А» могут работать две виртуальные машины с именами «VM1» и «VM2». Предположим, VM1 предоставляет виртуальный интерфейс Ethernet, который внутри виртуальной машины называется eth0 и которому присвоен IP-адрес 111.111.111.111 механизмом виртуализации или сетевым DHCP-сервером; а затем предположим, что VM2 предоставляет виртуальный интерфейс Ethernet, также называемый eth0, и ему назначается IP-адрес 111.111.111.222 .
У нас может быть маршрутизатор Apigee, работающий на каждой из двух виртуальных машин. Маршрутизаторы предоставляют конечные точки виртуальных хостов, как в этом гипотетическом примере:
Маршрутизатор Apigee в VM1 предоставляет три виртуальных хоста на своем интерфейсе eth0 (который имеет определенный IP-адрес): api.mycompany.com:80, api.mycompany.com:443 и test.mycompany.com:80 .
Маршрутизатор в VM2 предоставляет api.mycompany.com:80 (то же имя и порт, что и в VM1).
Операционная система физического хоста может иметь сетевой брандмауэр; если да, то этот брандмауэр должен быть настроен для пропуска TCP-трафика, связанного с портами, доступными на виртуализированных интерфейсах ( 111.111.111.111:{80, 443} и 111.111.111.222:80 ). Кроме того, операционная система каждой виртуальной машины может предоставлять собственный брандмауэр на своем интерфейсе eth0, и они также должны разрешать подключение трафика через порты 80 и 443 .
Базовый путь — это третий компонент, участвующий в маршрутизации вызовов API к различным прокси-серверам API, которые вы, возможно, развернули. Пакеты прокси-серверов API могут использовать общую конечную точку, если у них разные базовые пути. Например, один базовый путь может быть определен как http://api.mycompany.com:80/ , а другой — как http://api.mycompany.com:80/salesdemo .
В этом случае вам понадобится какой-либо балансировщик нагрузки или директор трафика, разделяющий трафик http://api.mycompany.com:80/ между двумя IP-адресами ( 111.111.111.111 на VM1 и 111.111.111.222 на VM2). Эта функция специфична для вашей конкретной установки и настраивается вашей локальной сетевой группой.
Базовый путь задается при развертывании API. В приведенном выше примере вы можете развернуть два API, mycompany и testmycompany , для организации mycompany-org с виртуальным хостом, имеющим псевдоним хоста api.mycompany.com и порт, установленный на 80 . Если вы не объявите базовый путь при развертывании, то маршрутизатор не будет знать, на какой API отправлять входящие запросы.
Однако если вы развернете API testmycompany с базовым URL-адресом /salesdemo , пользователи получат доступ к этому API с помощью http://api.mycompany.com:80/salesdemo . Если вы развертываете свой API mycompany с базовым URL-адресом /, тогда ваши пользователи получают доступ к API по URL-адресу http://api.mycompany.com:80/ .
Требования к пограничному порту
Необходимость управления брандмауэром выходит за рамки только виртуальных хостов; Межсетевые экраны как виртуальной машины, так и физического хоста должны разрешать трафик для портов, необходимых компонентам для связи друг с другом.
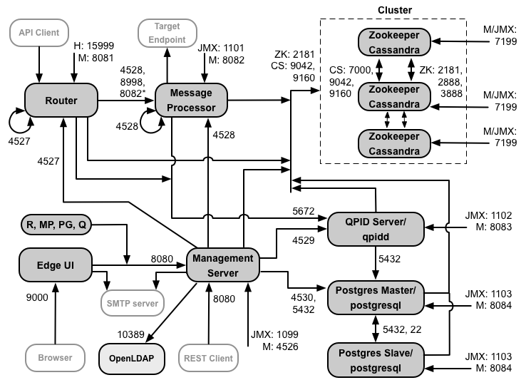
На следующем изображении показаны требования к портам для каждого компонента Edge:

Примечания к этой схеме:
- *Порт 8082 процессора сообщений должен быть открыт для доступа маршрутизатора только при настройке TLS/SSL между маршрутизатором и процессором сообщений. Если вы не настраиваете TLS/SSL между маршрутизатором и процессором сообщений, в конфигурации по умолчанию порт 8082 по-прежнему должен быть открыт на процессоре сообщений для управления компонентом, но маршрутизатору не требуется доступ к нему.
- Порты с префиксом «M» — это порты, используемые для управления компонентом, и они должны быть открыты на компоненте для доступа к ним со стороны сервера управления.
- Следующие компоненты требуют доступа к порту 8080 на сервере управления: маршрутизатор, процессор сообщений, пользовательский интерфейс, Postgres и Qpid.
- Процессор сообщений должен открыть порт 4528 в качестве порта управления. Если у вас есть несколько процессоров сообщений, все они должны иметь доступ друг к другу через порт 4528 (обозначен стрелкой цикла на схеме выше для порта 4528 на процессоре сообщений). Если у вас несколько центров обработки данных, порт должен быть доступен всем процессорам сообщений во всех центрах обработки данных.
- Хотя это и не требуется, вы можете открыть порт 4527 на маршрутизаторе для доступа к нему любого процессора сообщений. В противном случае вы можете увидеть сообщения об ошибках в файлах журнала процессора сообщений.
- Маршрутизатор должен открыть порт 4527 в качестве порта управления. Если у вас несколько маршрутизаторов, все они должны иметь доступ друг к другу через порт 4527 (обозначен стрелкой цикла на схеме выше для порта 4527 на маршрутизаторе).
- Пользовательскому интерфейсу Edge требуется доступ к маршрутизатору через порты, предоставляемые прокси-серверами API, для поддержки кнопки «Отправить» в инструменте трассировки.
- Серверу управления требуется доступ к порту JMX на узлах Cassandra.
- Доступ к портам JMX можно настроить так, чтобы требовалось имя пользователя и пароль. Дополнительную информацию см. в разделе «Как отслеживать» .
- При желании вы можете настроить доступ TLS/SSL для определенных соединений, которые могут использовать разные порты. Дополнительную информацию см. в разделе TLS/SSL .
- При настройке двух узлов Postgres для использования репликации главный-резервный необходимо открыть порт 22 на каждом узле для доступа по ssh. При желании вы можете открыть порты на отдельных узлах, чтобы разрешить доступ по ssh.
- Вы можете настроить сервер управления и пограничный пользовательский интерфейс для отправки электронных писем через внешний SMTP-сервер. Если вы это сделаете, вы должны убедиться, что сервер управления и пользовательский интерфейс могут получить доступ к необходимому порту на SMTP-сервере. Для SMTP без TLS номер порта обычно равен 25. Для SMTP с поддержкой TLS это часто 465, но уточните у своего поставщика SMTP.
В таблице ниже показаны порты, которые необходимо открыть в брандмауэрах с помощью компонента Edge:
Компонент | Порт | Описание |
|---|---|---|
Стандартные HTTP-порты | 80, 443 | HTTP плюс любые другие порты, которые вы используете для виртуальных хостов. |
Сервер управления | 8080 | Порт для вызовов API управления Edge. Этим компонентам требуется доступ к порту 8080 на сервере управления: маршрутизатор, процессор сообщений, пользовательский интерфейс, Postgres и Qpid. |
1099 | JMX-порт | |
4526 | Для распределенного кэша и вызовов управления | |
Интерфейс управления | 9000 | Порт для доступа браузера к пользовательскому интерфейсу управления |
Процессор сообщений | 8998 | Порт процессора сообщений для связи с маршрутизатором |
8082 | Порт управления по умолчанию для процессора сообщений должен быть открыт на компоненте для доступа к нему со стороны сервера управления. Если вы настраиваете TLS/SSL между маршрутизатором и процессором сообщений, он используется маршрутизатором для проверки работоспособности процессора сообщений. | |
1101 | JMX-порт | |
4528 | Для распределенного кэша и вызовов управления между процессорами сообщений, а также для связи с маршрутизатором. | |
Маршрутизатор | 8081 | Порт управления по умолчанию для маршрутизатора должен быть открыт на компоненте для доступа к нему со стороны сервера управления. |
4527 | Для распределенного кэша и вызовов управления | |
15999 | Порт проверки работоспособности. Балансировщик нагрузки использует этот порт, чтобы определить, доступен ли маршрутизатор. Чтобы получить статус Маршрутизатора, балансировщик нагрузки отправляет запрос на порт 15999 на Маршрутизаторе: > curl -v http://<routerIP>:15999/v1/servers/self/reachable Если маршрутизатор доступен, запрос возвращает HTTP 200. | |
смотритель зоопарка | 2181 | Используется другими компонентами, такими как сервер управления, маршрутизатор, процессор сообщений и т. д. |
2888, 3888 | Используется внутри ZooKeeper для связи кластера ZooKeeper (известного как ансамбль ZooKeeper). | |
Кассандра | 7000, 9042, 9160 | Порты Apache Cassandra для связи между узлами Cassandra и доступа к другим компонентам Edge. |
7199 | JMX-порт. Должен быть открыт для доступа Сервера управления. | |
Qpid | 5672 | Используется для связи между маршрутизатором и процессором сообщений с сервером Qpid. |
8083 | Порт управления по умолчанию на сервере Qpid должен быть открыт на компоненте для доступа к нему со стороны сервера управления. | |
1102 | JMX-порт | |
4529 | Для распределенного кэша и вызовов управления | |
Постгрес | 5432 | Используется для связи между Qpid/сервером управления и Postgres. |
8084 | Порт управления по умолчанию на сервере Postgres. Он должен быть открыт на компоненте для доступа к нему со стороны сервера управления. | |
1103 | JMX-порт | |
4530 | Для распределенного кэша и вызовов управления | |
22 | При настройке двух узлов Postgres для использования репликации главный-резервный необходимо открыть порт 22 на каждом узле для доступа по ssh. | |
ЛДАП | 10389 | OpenLDAP |
СмартДокс | 59002 | Порт на Edge-маршрутизаторе, куда отправляются запросы страниц SmartDocs. |
Примечание. Кроме того, для тестирования может потребоваться открыть порты в брандмауэрах. Например, 59001 и так далее. | ||
В следующей таблице показаны те же порты, пронумерованные, с компонентами источника и назначения:
Номер порта | Цель | Исходный компонент | Целевой компонент |
|---|---|---|---|
<порт виртуального хоста#> | HTTP плюс любые другие порты, которые вы используете для трафика вызовов API виртуального хоста. Чаще всего используются порты 80 и 443; Маршрутизатор сообщений может завершать соединения TLS/SSL. | Внешний клиент (или балансировщик нагрузки) | Прослушиватель на маршрутизаторе сообщений |
с 1099 по 1103 | Управление JMX | JMX-клиент | Сервер управления (1099) Процессор сообщений (1101) Qpid-сервер (1102) Сервер Postgres (1103) |
2181 | Связь с клиентом Zookeeper | Сервер управления Маршрутизатор Процессор сообщений Qpid-сервер Постгрес-сервер | смотритель зоопарка |
2888 и 3888 | Управление межузлами Zookeeper | смотритель зоопарка | смотритель зоопарка |
с 4526 по 4530 | Порты управления RPC, используемые для распределенного кэша и вызовов от серверов управления к другим компонентам. | Сервер управления | Сервер управления (4526) Маршрутизатор (4527) Процессор сообщений (4528) Qpid-сервер (4529) Сервер Postgres (4530) |
4528 | Для вызовов распределенного кэша между процессорами сообщений и для связи с маршрутизатором. | Маршрутизатор Процессор сообщений | Процессор сообщений |
5432 | Клиент Postgres | Qpid-сервер | Постгрес |
5672 | Используется для отправки аналитики из маршрутизатора и процессора сообщений в Qpid. | Маршрутизатор Процессор сообщений | Qpid-сервер |
7000 | Межузловая связь Cassandra | Кассандра | Другой узел Кассандры |
7199 | Управление JMX. Должен быть открыт для доступа на узле Cassandra со стороны Сервера управления. | JMX-клиент | Кассандра |
8080 | Порт API управления | Клиенты API управления | Сервер управления |
с 8081 по 8084 | Порты API компонентов, используемые для отправки запросов API непосредственно к отдельным компонентам. Каждый компонент открывает отдельный порт; точный используемый порт зависит от конфигурации, но он должен быть открыт на компоненте для доступа к нему со стороны сервера управления. | Клиенты API управления | Маршрутизатор (8081) Процессор сообщений (8082) Qpid-сервер (8083) Сервер Postgres (8084) |
8998 | Связь между маршрутизатором и процессором сообщений | Маршрутизатор | Процессор сообщений |
9000 | Порт пользовательского интерфейса управления Edge по умолчанию | Браузер | Сервер пользовательского интерфейса управления |
9042 | Собственный транспорт CQL | Маршрутизатор Процессор сообщений Сервер управления | Кассандра |
9160 | Кассандра, клиент бережливости | Маршрутизатор Процессор сообщений Сервер управления | Кассандра |
10389 | LDAP-порт | Сервер управления | OpenLDAP |
| 15999 | Порт проверки работоспособности. Балансировщик нагрузки использует этот порт, чтобы определить, доступен ли маршрутизатор. | Балансировщик нагрузки | Маршрутизатор |
59002 | Порт маршрутизатора, на который отправляются запросы страниц SmartDocs. | СмартДокс | Маршрутизатор |
Обработчик сообщений поддерживает выделенный пул соединений, открытый для Cassandra, который настроен на отсутствие тайм-аута. Когда межсетевой экран находится между процессором сообщений и сервером Cassandra, брандмауэр может прервать соединение. Однако процессор сообщений не предназначен для восстановления соединения с Cassandra.
Чтобы предотвратить такую ситуацию, Apigee рекомендует, чтобы сервер Cassandra, процессор сообщений и маршрутизаторы находились в одной подсети, чтобы межсетевой экран не участвовал в развертывании этих компонентов.
Если между маршрутизатором и процессорами сообщений установлен межсетевой экран и для него установлен тайм-аут простоя TCP, мы рекомендуем:
- Установите net.ipv4.tcp_keepalive_time = 1800 в настройках sysctl в ОС Linux, где 1800 должно быть меньше, чем тайм-аут TCP простоя брандмауэра. Этот параметр должен поддерживать соединение в установленном состоянии, чтобы брандмауэр не отключал его.
- На всех процессорах сообщений отредактируйте /<inst_root>/apigee/customer/application/message-processor.properties , чтобы добавить следующее свойство. Если файл не существует, создайте его.
conf_system_casssandra.maxconnecttimeinmillis=-1 - Перезапустите процессор сообщений:
> /opt/apigee/apigee-service/bin/apigee-service перезапуск процессора Edge-message - На всех маршрутизаторах отредактируйте /<inst_root>/apigee/customer/application/router.properties , чтобы добавить следующее свойство. Если файл не существует, создайте его.
conf_system_casssandra.maxconnecttimeinmillis=-1 - Перезагрузите маршрутизатор:
> /opt/apigee/apigee-service/bin/apigee-service перезапуск пограничного маршрутизатора
Если вы устанавливаете кластерную конфигурацию из 12 узлов с двумя центрами обработки данных, убедитесь, что узлы в двух центрах обработки данных могут обмениваться данными через порты, показанные ниже:

Требования к порту API BaaS
Если вы решите установить API BaaS, вы добавите компоненты API BaaS Stack и API BaaS Portal. Эти компоненты используют порты, показанные на рисунке ниже:

Примечания к этой схеме:
- Узлы Cassandra могут быть выделены для API BaaS или могут использоваться совместно с Edge.
- Рабочая установка API BaaS использует балансировщик нагрузки между узлом портала API BaaS и узлами стека API BaaS. При настройке портала и при выполнении вызовов API BaaS вы указываете IP-адрес или DNS-имя балансировщика нагрузки, а не узлов стека.
- Вы должны настроить все узлы Baas Stack для отправки электронной почты через внешний SMTP-сервер. Для SMTP без TLS номер порта обычно равен 25. Для SMTP с поддержкой TLS это часто 465, но уточните у своего поставщика SMTP.
В таблице ниже показаны порты по умолчанию, которые необходимо открыть в брандмауэрах, по компонентам:
Компонент | Порт | Описание |
|---|---|---|
API BaaS-портал | 9000 | Порт для пользовательского интерфейса API BaaS |
API-стек BaaS | 8080 | Порт, на который принимаются запросы API |
ЭластичныйПоиск | с 9200 до 9400 | Для связи со стеком API BaaS и для связи между узлами ElasticSearch. |
Лицензирование
Для каждой установки Edge требуется уникальный файл лицензии, который вы получаете от Apigee. При установке сервера управления вам потребуется указать путь к файлу лицензии, например /tmp/license.txt.
Установщик копирует файл лицензии в /<inst_root>/apigee/customer/conf/license.txt .
Если файл лицензии действителен, сервер управления проверяет срок действия и разрешенное количество процессоров сообщений (MP). Если срок действия каких-либо настроек лицензии истек, вы можете найти журналы в следующем месте: /<inst_root>/apigee/var/log/edge-management-server/logs . В этом случае вы можете обратиться в службу поддержки Apigee для получения подробной информации о миграции.