Edge pour Private Cloud version 4.16.05
Matériel requis
Pour bénéficier d'une disponibilité élevée, vous devez disposer de la configuration matérielle minimale requise ci-dessous. Google Cloud dans un environnement de production. Pour tous les scénarios d'installation décrits dans Installation Topologies (Topologies d'installation), les tables suivantes répertorient configuration matérielle minimale requise pour les composants d'installation.
Dans ces tableaux, les exigences de disque dur s'ajoutent à l'espace disque dur requis par le système d'exploitation. En fonction de vos applications et du trafic réseau, votre installation peut nécessitent plus ou moins de ressources que celles indiquées ci-dessous.
|
Composant d'installation |
RAM |
Processeur |
Disque dur minimal |
|---|---|---|---|
|
Cassandra |
16 Go |
8 cœurs |
250 Go d'espace de stockage local avec SSD ou HDD rapide compatible avec 2 000 IOPS |
|
Processeur de messages/routeur sur la même machine |
8/16 Go |
4 cœurs† |
100 Go |
|
Analytics - Postgres/Qpid sur le même serveur (non recommandé pour la production) |
16 Go* |
8 cœurs* |
Entre 500 Go et 1 To** d'espace de stockage réseau***, de préférence avec un backend SSD, compatible avec 1 000 IOPS ou plus*. |
|
Analytics – Version autonome de Postgres |
16 Go* |
8 cœurs* |
500 Go à 1 To** d'espace de stockage réseau***, de préférence avec un backend SSD, pouvant accepter au moins 1 000 IOPS*. |
|
Analytics – Qpid autonome |
8 Go |
4 cœurs |
Entre 30 et 50 Go de stockage local avec SSD ou HDD rapide Pour les installations supérieures à 250 tâches par seconde, un disque dur avec stockage local prenant en charge 1 000 IOPS est recommandé. |
|
Autre (OpenLDAP, UI, serveur de gestion) |
4GB |
2 cœurs |
60 Go |
|
† Ajustez la configuration système requise pour le processeur de messages en fonction du débit: La configuration minimale recommandée est de 4 cœurs et 8 cœurs pour un système à haut débit. Vous pouvez exécuter des tests de performances afin de déterminer la taille optimale pour vos API. |
|||
|
*Ajustez la configuration système Postgres en fonction du débit:
|
|||
|
**La valeur du disque dur Postgres est basée sur les analyses prêtes à l'emploi capturées par
Périphérie. Si vous ajoutez des valeurs personnalisées aux données d'analyse, alors ces valeurs doivent être
a augmenté en conséquence. Utilisez la formule suivante pour estimer l'espace de stockage nécessaire: |
|||
|
*** Stockage réseau recommandé pour la base de données Postgresql pour les raisons suivantes:
|
|||
En outre, vous trouverez ci-dessous la configuration matérielle requise pour installer le Services de monétisation:
|
Composant avec monétisation |
RAM |
Processeur |
Disque dur |
|---|---|---|---|
|
Serveur de gestion (avec services de monétisation) |
8 Go |
4 cœurs |
60 Go |
|
Analytics : Postgres/Qpid sur le même serveur |
16 Go |
8 cœurs |
de 500 Go à 1 To d'espace de stockage réseau, de préférence avec un backend SSD, pouvant accepter 1 000 IOPS ou ou utilisez la règle du tableau ci-dessus. |
|
Analytics – Version autonome de Postgres |
16 Go |
8 cœurs |
de 500 Go à 1 To d'espace de stockage réseau, de préférence avec un backend SSD, pouvant accepter 1 000 IOPS ou ou utilisez la règle du tableau ci-dessus. |
|
Analytics – Qpid autonome |
8 Go |
4 cœurs |
40 Go |
Voici la configuration matérielle requise si vous souhaitez installer une API BaaS:
|
Composant API BaaS |
RAM |
Processeur |
Disque dur |
|---|---|---|---|
|
ElasticSearch* |
8 Go |
4 cœurs |
60 - 80 Go |
|
Pile BaaS d'API * |
8 Go |
4 cœurs |
60 - 80 Go |
|
Portail API BaaS |
1 Go |
2 cœurs |
20 Go |
|
Cassandra (facultatif : vous utilisez généralement le même cluster Cassandra pour les deux services BaaS et d'API) |
16 Go |
8 cœurs |
250 Go d'espace de stockage local avec SSD ou HDD rapide compatible avec 2 000 IOPS |
|
* Vous pouvez installer ElasticSearch et la pile BaaS de l'API sur le même nœud. Si c'est le cas, configurer ElasticSearch pour utiliser 4 Go de mémoire (par défaut). Si ElasticSearch est installé son propre nœud, puis le configurer pour utiliser 6 Go de mémoire. |
|||
Remarque :
- Si le système de fichiers racine n'est pas assez volumineux pour l'installation, nous vous recommandons de de placer les données sur un disque plus grand.
- Si une version plus ancienne d'Apigee Edge pour Private Cloud a été installée sur la machine, assurez-vous de supprimer le dossier /tmp/java avant une nouvelle installation.
- Le dossier temporaire /tmp du système a besoin d'autorisations d'exécution pour démarrer Cassandra.
- Si l'utilisateur "apigee" a été créé avant l'installation, assurez-vous que “/home/apigee” existe comme répertoire d'accueil et appartient à "apigee:apigee".
Système d'exploitation et tiers configuration logicielle requise
Ces instructions d'installation et les fichiers d'installation fournis ont été testés sur le les systèmes d'exploitation et les logiciels tiers répertoriés ici: https://apigee.com/docs/api-services/reference/supported-software.
Créer l'utilisateur Apigee
La procédure d'installation crée un utilisateur du système Unix nommé "apigee". Les répertoires périphériques les fichiers appartiennent à « apigee », tout comme les processus Edge. Cela signifie que les composants Edge s'exécutent "apigee" utilisateur. si nécessaire, vous pouvez exécuter les composants avec un autre nom d'utilisateur. Voir la section "Lier le routeur sur un port protégé dans la section Installer les composants Edge nœud pour obtenir un exemple.
Répertoire d'installation
Par défaut, le programme d'installation écrit tous les fichiers dans le répertoire /opt/apigee. Vous ne pouvez pas le modifier l'emplacement du répertoire.
Dans les instructions de ce guide, le répertoire d'installation est noté /<inst_root>/apigee, où /<inst_root> est /opt par défaut.
Java
Une version compatible de Java1.8 doit être installée sur chaque machine avant l'installation. Les JDK compatibles sont listés ici:
https://apigee.com/docs/api-services/reference/supported-software
Assurez-vous que JAVA_HOME pointe à la racine du JDK pour l'utilisateur effectuant l'installation.
Paramètre réseau
Nous vous recommandons de vérifier le paramètre réseau avant l'installation. Programme d'installation s'attend à ce que toutes les machines aient des adresses IP fixes. Utilisez les commandes suivantes pour valider :
- hostname renvoie le nom de la machine
- hostname -i renvoie l'adresse IP. pour le nom d'hôte qui peut être adressé à partir d'autres machines.
Selon le type et la version de votre système d'exploitation, vous devrez peut-être modifier /etc/hosts et /etc/sysconfig/network si le nom d'hôte n'est pas est correctement définie. Pour en savoir plus, consultez la documentation de votre système d'exploitation spécifique.
Cassandra
Tous les nœuds Cassandra doivent être connectés à un anneau.
Cassandra ajuste automatiquement la taille de son tas de mémoire Java en fonction de la mémoire disponible. Pour en savoir plus, voir Réglage de Java ressources. En cas de dégradation des performances ou d'utilisation élevée de la mémoire.
Après avoir installé Edge pour Private Cloud, vous pouvez vérifier que Cassandra est configuré en examinant le fichier /<inst_root>/apigee/apigee-cassandra/conf/cassandra.yaml . Par exemple, assurez-vous que le script d'installation Edge pour Private Cloud définit les éléments suivants propriétés:
- cluster_name
- initial_token
- partitionneur
- graines
- listen_address
- rpc_address
- chat
Avertissement: Ne modifiez pas ce fichier.
Base de données PostgreSQL
Après avoir installé Edge, vous pouvez ajuster les paramètres de base de données PostgreSQL suivants en fonction du quantité de RAM disponible sur votre système:
conf_postgresql_shared_buffers = 35% of RAM # min 128kB conf_postgresql_effective_cache_size = 45% of RAM conf_postgresql_work_mem = 512MB # min 64kB
Pour définir ces valeurs:
- Modifiez postgresql.properties:
> vi /<inst_root>/apigee/customer/application/postgresql.properties
Si le fichier n'existe pas, créez-le. - Définissez les propriétés indiquées ci-dessus.
- Enregistrez vos modifications.
- Redémarrez la base de données PostgreSQL:
> /<racine_inst_root>/apigee/apigee-service/bin/apigee-service apigee-postgresql redémarrer
jsvc
"jsvc" est une condition préalable à l'utilisation de l'API BaaS. La version 1.0.15-dev est installée lorsque vous installez l'API BaaS.
Services de sécurité réseau (NSS)
Les services de sécurité réseau (NSS, Network Security Services) sont un ensemble de bibliothèques des applications clientes et serveurs pour lesquels la sécurité est activée. Assurez-vous d'avoir installé NSS v3.19 ou ultérieure.
Pour vérifier votre version actuelle:
> yum info nss
Pour mettre à jour NSS:
> yum update nss
Consultez cet article de RedHat pour en savoir plus.
AMI AWS
Si vous installez Edge sur une AMI (Amazon Machine Image) AWS pour Red Hat Enterprise Linux 7.x, vous devez d'abord exécuter la commande suivante:
> yum-config-manager --enable rhui-REGION-rhel-server-extras rhui-REGION-rhel-server-optional
Outils
Le programme d’installation utilise les outils UNIX suivants dans la version standard fournie par EL5 ou EL6.
|
awk |
nom de répertoire |
ls |
tr/min |
unzip |
|
nom de base |
echo |
perl |
rpm2cpio |
ajouter un utilisateur |
|
bash |
Expr |
pgrep (à partir de procps) |
sed |
wc |
|
bc |
grep |
ps |
tar |
miam |
|
curl |
nom d'hôte |
pwd |
tr |
chkconfig |
|
date |
id |
python |
Uname |
sudo |
Remarque :
- L'exécutable de l'outil "useradd" se trouve dans /usr/sbin et pour chkconfig dans /sbin.
- Avec l'accès sudo, vous pouvez accéder à l'environnement de l'utilisateur appelant, par exemple, généralement, vous appelez "sudo <command>" ou “sudo PATH=$PATH:/usr/sbin:/sbin <command>".
- Assurez-vous d'avoir installé l'outil "patch" avant d'utiliser un service pack (correctif). l'installation.
ntpdate : il est recommandé de synchroniser l'heure des serveurs. Si n'est pas encore configurée, l'utilitaire "ntpdate" pourrait servir cet objectif, qui vérifie si les serveurs sont synchronisés ou non. Vous pouvez utiliser yum install ntp pour installer la utilitaire. Ceci est particulièrement utile pour répliquer les configurations OpenLDAP. Notez que vous avez configuré des serveurs fuseau horaire UTC.
openldap 2.4 : l'installation sur site nécessite OpenLDAP 2.4. Si si votre serveur dispose d'une connexion Internet, le script d'installation Edge télécharge et installe OpenLDAP. Si votre serveur ne dispose pas d'une connexion Internet, vous devez vous assurer qu'OpenLDAP est déjà installé avant d’exécuter le script d’installation Edge. Sur RHEL/CentOS, vous pouvez exécuter "yum install openldap-clients openldap-servers" pour installer OpenLDAP.
Pour les installations à 13 hôtes et les installations à 12 hôtes avec deux centres de données, vous devez la réplication OpenLDAP car plusieurs nœuds hébergent OpenLDAP.
Pare-feu et hôtes virtuels
Le terme « virtuel » est souvent surchargé dans le domaine informatique, et c'est donc avec une Apigee Edge pour le déploiement de cloud privé et les hôtes virtuels Pour clarifier, il existe deux principaux Utilisations du terme "virtuel" :
- Machines virtuelles (VM): non obligatoire, mais certains déploiements utilisent une technologie de VM de créer des serveurs isolés pour leurs composants Apigee. Les hôtes de VM, comme les hôtes physiques, peuvent avoir des interfaces réseau et des pare-feu. Ces instructions d'installation ne prennent pas en charge Installations de VM.
- Hôtes virtuels: points de terminaison Web, semblables à un hôte virtuel Apache.
Un routeur d'une VM peut exposer plusieurs hôtes virtuels (à condition qu'ils diffèrent les uns des autres dans leur alias hôte ou dans leur port d'interface).
À titre d'exemple, un seul serveur physique "A" peut exécuter deux VM, nommée "VM1" et "VM2". Supposons que VM1 expose un réseau Ethernet virtuel interface, nommée eth0 interne à la VM, et à laquelle la virtualisation attribue l'adresse IP 111.111.111.111 des machines ou un serveur DHCP réseau ; et supposons que VM2 expose une interface Ethernet virtuelle nommée eth0 et se voit attribuer l'adresse IP 111.111.111.222.
Nous pouvons avoir un routeur Apigee en cours d'exécution dans chacune des deux VM. Les routeurs exposent l'hôte virtuel comme dans cet exemple:
Le routeur Apigee de la VM1 expose trois hôtes virtuels sur son interface eth0 (qui a une adresse IP spécifique), api.monentreprise.com:80, api.mycompany.com:443 et api.mycompany.com:443.
Le routeur de la VM2 expose api.mycompany.com:80 (même nom et même port que exposées par la VM1).
Le système d'exploitation de l'hôte physique peut avoir un pare-feu de réseau ; si c'est le cas, le pare-feu doit être configuré pour transmettre le trafic TCP lié aux ports exposés sur le interfaces (111.111.111.111:{80, 443} et 111.111.111.222:80). De plus, chaque Le système d'exploitation d'une VM peut fournir son propre pare-feu sur son interface eth0, permettent au trafic 80 et 443 de se connecter.
Le chemin de base est le troisième composant impliqué dans le routage des appels d'API vers différents proxys d'API que vous avez déployés. Les groupes de proxys d'API peuvent partager un point de terminaison s'ils ont des les chemins de base. Par exemple, un chemin de base peut être défini comme http://api.mycompany.com:80/ et un autre défini comme http://api.mycompany.com:80/salesdemo.
Dans ce cas, vous avez besoin d'un équilibreur de charge ou d'un directeur du trafic répartissant http://api.mycompany.com:80/ trafic entre les deux adresses IP (111.111.111.111 sur la VM1 et 111.111.111.222 sur la VM2). Cette fonction est spécifique à votre installation particulière et est configurée par votre groupe de réseau local.
Le chemin de base est défini lorsque vous déployez une API. Dans l'exemple ci-dessus, vous pouvez déployer deux API : monentreprise et testmonentreprise, pour l'organisation monentreprise-org par le hôte dont l'alias d'hôte est api.mycompany.com et dont le port est défini sur 80. Si vous ne déclarez pas de chemin de base dans le déploiement, le routeur ne sait pas quelle API envoyer les requêtes entrantes auxquelles vous souhaitez vous connecter.
Toutefois, si vous déployez l'API testmycompany avec l'URL de base suivante : /salesdemo : les utilisateurs accèdent via http://api.mycompany.com:80/salesdemo. Si vous Déployez l'API mycompany avec l'URL de base / puis vos utilisateurs accèdent à l'API via l'URL http://api.mycompany.com:80/.
Configuration requise pour le port périphérique
La nécessité de gérer le pare-feu ne se limite pas aux hôtes virtuels ; à la fois une VM et un hôte physique les pare-feu doivent autoriser le trafic pour les ports requis par les composants pour communiquer avec chaque autre.
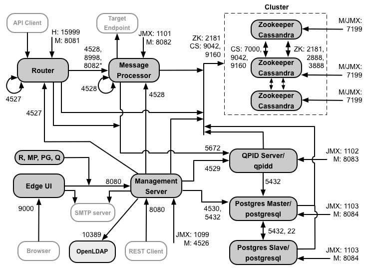
L'image suivante montre les ports requis pour chaque composant Edge:

Remarques sur ce schéma:
-
*Le port 8082 du processeur de messages doit être ouvert pour que le routeur puisse y accéder uniquement lorsque vous configurer TLS/SSL entre le routeur et le processeur de messages. Si vous ne configurez pas TLS/SSL entre le routeur et le processeur de messages, la configuration par défaut, le port 8082, doit toujours être ouvert sur le processeur de messages pour gérer le composant, mais le routeur ne nécessite pas y accéder.
- Ports précédés de la lettre "M" sont les ports utilisés pour gérer le composant et doivent être ouverts sur le pour que le serveur de gestion puisse y accéder.
- Les composants suivants nécessitent un accès au port 8080 sur le serveur de gestion: Router, le processeur de messages, l'UI, Postgres et Qpid.
- Un processeur de messages doit ouvrir le port 4528 en tant que port de gestion. Si vous avez plusieurs Processeurs de messages : ils doivent tous pouvoir accéder les uns aux autres via le port 4528 (indiqué par le flèche en boucle du schéma ci-dessus pour le port 4528 sur le processeur de messages). Si vous avez plusieurs Centres de données, le port doit être accessible depuis tous les processeurs de messages de tous les centres de données.
- Bien que cela ne soit pas obligatoire, vous pouvez ouvrir le port 4527 sur le routeur pour y accéder via n'importe quel message Processeur. Sinon, des messages d'erreur peuvent s'afficher dans les fichiers journaux du processeur de messages.
- Un routeur doit ouvrir le port 4527 en tant que port de gestion. Si vous avez plusieurs routeurs, ils doivent tous pouvoir accéder l'un à l'autre via le port 4527 (indiqué par la flèche en boucle dans la schéma ci-dessus pour le port 4527 sur le routeur).
- L'interface utilisateur Edge nécessite un accès au routeur, sur les ports exposés par les mandataires d'API, pour prendre en charge à l'aide du bouton Send (Envoyer) de l'outil de traçage.
- Le serveur de gestion a besoin d'accéder au port JMX sur le serveur Cassandra. nœuds.
- L’accès aux ports JMX peut être configuré pour exiger un nom d’utilisateur/mot de passe. Pour en savoir plus, consultez la page Surveiller.
- Vous pouvez éventuellement configurer l'accès TLS/SSL pour certaines connexions, qui peuvent utiliser différents ports. Consultez la section TLS/SSL pour plus encore.
- Si vous configurez deux nœuds Postgres pour une utilisation de la réplication maître en mode veille, vous devez ouvrir le port 22. sur chaque nœud pour l'accès SSH. Vous pouvez éventuellement ouvrir des ports sur des nœuds individuels pour autoriser un accès via SSH.
- Vous pouvez configurer le serveur de gestion et l'interface utilisateur Edge pour envoyer des e-mails via un serveur SMTP externe Google Cloud. Dans ce cas, vous devez vous assurer que le serveur de gestion et l'interface utilisateur peuvent accéder aux sur le serveur SMTP. Pour le protocole SMTP non TLS, le numéro de port est généralement 25. Pour TLS SMTP, il s'agit souvent de 465, mais vérifiez auprès de votre fournisseur SMTP.
Le tableau ci-dessous indique les ports qui doivent être ouverts dans les pare-feu, par composant Edge:
|
Composant |
Port |
Description |
|---|---|---|
|
Ports HTTP standards |
80, 443 |
HTTP et tous les autres ports que vous utilisez pour les hôtes virtuels |
|
Serveur de gestion |
8080 |
Port pour les appels d'API de gestion Edge. Ces composants ont besoin d'accéder au port 8080 sur le serveur de gestion: routeur, processeur de messages, UI, Postgres et Qpid. |
|
1099 |
Port JMX |
|
|
4526 |
Pour le cache distribué et les appels de gestion |
|
|
UI de gestion |
9000 |
Port permettant au navigateur d'accéder à l'interface utilisateur de gestion |
|
Processeur de messages |
8998 |
Port du processeur de messages pour les communications en provenance du routeur |
|
8082 |
Port de gestion par défaut du processeur de messages et doit être ouvert sur le composant pour l'accès par le serveur de gestion.
Si vous configurez TLS/SSL entre le routeur et le processeur de messages, utilisé par le routeur
pour effectuer des vérifications de l'état
du processeur de messages.
|
|
|
1101 |
Port JMX |
|
|
4528 |
Pour le cache distribué et les appels de gestion entre les processeurs de messages, et pour les communications du routeur |
|
|
Routeur |
8081 |
Port de gestion par défaut du routeur ; doit être ouvert sur le composant pour que l'accès soit possible par le serveur de gestion. |
|
4527 |
Pour le cache distribué et les appels de gestion |
|
|
15999 |
Port de vérification de l'état. Un équilibreur de charge utilise ce port pour déterminer si le routeur disponibles. Pour obtenir l'état d'un routeur, l'équilibreur de charge envoie une requête au port 15999 sur la Routeur: > curl -v http://<routerIP>:15999/v1/servers/self/reachable Si le routeur est accessible, la requête renvoie le code HTTP 200. |
|
|
ZooKeeper |
2181 |
Utilisé par d'autres composants tels que le serveur de gestion, le routeur, le processeur de messages, etc. sur |
|
2888, 3888 |
Utilisé en interne par ZooKeeper pour le cluster ZooKeeper (appelé ensemble ZooKeeper). de communication |
|
|
Cassandra |
7000, 9042, 9160 |
Ports Apache Cassandra pour la communication entre les nœuds Cassandra et pour l'accès par d'autres composants Edge. |
|
7199 |
Port JMX. Le serveur de gestion doit pouvoir y accéder. |
|
|
Qpid |
5672 |
Utilisé pour les communications du routeur et du processeur de messages au serveur Qpid |
|
8083 |
Port de gestion par défaut sur le serveur Qpid et doit être ouvert sur le composant pour l'accès par le serveur de gestion. |
|
|
1102 |
Port JMX |
|
|
4529 |
Pour le cache distribué et les appels de gestion |
|
|
Postgres |
5432 |
Utilisé pour la communication de Qpid/Management Server vers Postgres |
|
8084 |
Port de gestion par défaut sur le serveur Postgres et doit être ouvert sur le composant pour l'accès par le serveur de gestion. |
|
|
1103 |
Port JMX |
|
|
4530 |
Pour le cache distribué et les appels de gestion |
|
|
22 |
Si vous configurez deux nœuds Postgres pour une utilisation de la réplication maître en mode veille, vous devez ouvrir le port 22 sur chaque nœud pour l'accès SSH. |
|
|
LDAP |
10389 |
OpenLDAP |
|
SmartDocs |
59002 |
Port du routeur Edge où les demandes de page SmartDocs sont envoyées. |
|
Remarque: En outre, vous devrez peut-être ouvrir des ports dans les pare-feu à des fins de test. Pour par exemple 59001, etc. |
||
Le tableau suivant montre les mêmes ports, classés numériquement, avec la source et la destination composants:
|
Numéro de port |
Objectif |
Composant source |
Composant de destination |
|---|---|---|---|
|
<port de l'hôte virtuel#> |
HTTP et tous les autres ports que vous utilisez pour le trafic des appels d'API de l'hôte virtuel. Ports 80 et 443 sont les plus couramment utilisées. le routeur de messages peut interrompre les connexions TLS/SSL. |
Client externe (ou équilibreur de charge) |
Écouteur sur le routeur de messages |
|
1099 à 1103 |
Gestion JMX |
Client JMX |
Serveur de gestion (1099) Processeur de messages (1101) Qpid Server (1102) Serveur Postgres (1103) |
|
2181 |
Communication avec le client Zookeeper |
Serveur de gestion Routeur Processeur de messages Serveur Qpid Serveur Postgres |
ZooKeeper |
|
2888 et 3888 |
Gestion des internœuds Zookeeper |
ZooKeeper |
ZooKeeper |
|
4526 à 4530 |
Ports de gestion RPC utilisés pour le cache distribué et les appels provenant des serveurs de gestion aux autres composants |
Serveur de gestion |
Serveur de gestion (4526) Routeur (4527) Processeur de messages (4528) Qpid Server (4529) Serveur Postgres (4530) |
|
4528 |
Pour les appels de cache distribués entre les processeurs de messages et pour la communication depuis le routeur |
Routeur Processeur de messages |
Processeur de messages |
|
5432 |
Client Postgres |
Serveur Qpid |
Postgres |
|
5672 |
Utilisé pour envoyer des analyses du routeur et du processeur de messages à Qpid |
Routeur Processeur de messages |
Serveur Qpid |
|
7000 |
Communications entre les nœuds Cassandra |
Cassandra |
Autre nœud Cassandra |
|
7199 |
Gestion JMX Doit être ouvert à l'accès sur le nœud Cassandra par l'équipe de gestion Google Cloud. |
Client JMX |
Cassandra |
|
8080 |
Port de l'API de gestion |
Clients de l'API Management |
Serveur de gestion |
|
8081 à 8084 |
Ports d'API des composants, utilisés pour émettre des requêtes API directement à des composants individuels. Chaque composant ouvre un port différent, le port exact utilisé dépend de la configuration mais doit être ouvert sur le composant pour que le serveur de gestion puisse y accéder |
Clients de l'API Management |
Routeur (8081) Processeur de messages (8082) Qpid Server (8083) Serveur Postgres (8084) |
|
8998 |
Communication entre un routeur et un processeur de messages |
Routeur |
Processeur de messages |
|
9000 |
Port d'interface utilisateur de gestion Edge par défaut |
Navigateur |
Serveur d'interface utilisateur de gestion |
|
9042 |
Transport natif CQL |
Routeur Processeur de messages Serveur de gestion |
Cassandra |
|
9160 |
Client d'occasion Cassandra |
Routeur Processeur de messages Serveur de gestion |
Cassandra |
|
10389 |
Port LDAP |
Serveur de gestion |
OpenLDAP |
| 15999 | Port de vérification de l'état. Un équilibreur de charge utilise ce port pour déterminer si le routeur disponibles. | Équilibreur de charge | Routeur |
|
59002 |
Port du routeur sur lequel les demandes de page SmartDocs sont envoyées |
SmartDocs |
Routeur |
Un processeur de messages maintient un pool de connexions dédié ouvert à Cassandra, qui est configuré pour ne jamais expirer. Lorsqu'un pare-feu se trouve entre un processeur de messages et un serveur Cassandra, le pare-feu peut interrompre la connexion. Cependant, le processeur de messages n'est pas conçu rétablir les connexions avec Cassandra.
Pour éviter cette situation, Apigee recommande que le serveur Cassandra, le processeur de messages et doivent se trouver dans le même sous-réseau afin qu'aucun pare-feu n'intervienne dans le déploiement de composants.
Si un pare-feu se trouve entre le routeur et les processeurs de messages et qu’un délai d’inactivité tcp est défini, nos recommandations sont les suivantes:
- Définissez net.ipv4.tcp_keepalive_time = 1 800 dans les paramètres sysctl sur l'OS Linux, où 1 800 doit être inférieur au nombre d'inactivité du pare-feu Délai avant expiration du tcp. Ce paramètre doit maintenir la connexion à un état établi afin que le pare-feu ne déconnecte pas la connexion.
- Sur tous les processeurs de messages, modifiez /<inst_root>/apigee/customer/application/message-processor.properties
pour ajouter la propriété suivante. Si le fichier n'existe pas, créez-le.
conf_system_casssandra.maxconnecttimeinmillis=-1 - Redémarrez le processeur de messages:
> /opt/apigee/apigee-service/bin/apigee-service Edge-message-processor redémarrage - Sur tous les routeurs, modifiez /<inst_root>/apigee/customer/application/router.properties
pour ajouter la propriété suivante. Si le fichier n'existe pas, créez-le.
conf_system_casssandra.maxconnecttimeinmillis=-1 - Redémarrez le routeur:
> /opt/apigee/apigee-service/bin/apigee-service redémarrage du routeur périphérique
Si vous installez la configuration en cluster à 12 hôtes avec deux centres de données, assurez-vous que le les nœuds des deux centres de données peuvent communiquer via les ports indiqués ci-dessous:

Exigences relatives aux ports BaaS pour l'API
Si vous choisissez d'installer l'API BaaS, vous ajoutez la pile d'API BaaS et les composants du portail API BaaS. Ces composants utilisent les ports indiqués dans la figure ci-dessous:

Remarques sur ce schéma:
- Les nœuds Cassandra peuvent être dédiés à l'API BaaS ou partagés avec Edge.
- Une installation de production d'API BaaS utilise un équilibreur de charge entre le nœud du portail d'API BaaS et de la pile d'API BaaS. Lorsque vous configurez le portail et que vous effectuez des appels d'API BaaS, vous Spécifiez l'adresse IP ou le nom DNS de l'équilibreur de charge, et non celui des nœuds de la pile.
- Vous devez configurer tous les nœuds de la pile Baas pour envoyer des e-mails via un serveur SMTP externe. Pour SMTP non TLS, le numéro de port est généralement 25. Pour le serveur SMTP TLS, il s'agit souvent de 465, mais vérifiez avec votre fournisseur SMTP.
Le tableau ci-dessous indique les ports par défaut qui doivent être ouverts dans les pare-feu, par composant:
|
Composant |
Port |
Description |
|---|---|---|
|
Portail API BaaS |
9000 |
Port de l'interface utilisateur BaaS de l'API |
|
Pile d'API BaaS |
8080 |
Port de réception des requêtes API |
|
ElasticSearch |
9 200 à 9 400 |
Pour la communication avec la pile d'API BaaS et entre ElasticSearch nœuds |
Licences
Chaque installation d'Edge nécessite un fichier de licence unique obtenu auprès d'Apigee. Vous : fournir le chemin d'accès au fichier de licence lors de l'installation du serveur de gestion, par exemple /tmp/license.txt.
Le programme d’installation copie le fichier de licence dans /<inst_root>/apigee/customer/conf/license.txt.
Si le fichier de licence est valide, le serveur de gestion valide la date d'expiration et autorise le message Nombre de processeurs (Mpx). Si l'un des paramètres de licence a expiré, vous trouverez les journaux dans le l'emplacement suivant: /<inst_root>/apigee/var/log/edge-management-server/logs. Dans ce cas, vous pouvez contacter l'assistance Apigee pour obtenir détails de la migration.