安装要求

适用于私有云的 Edge v. 4.16.05

硬件要求

您必须满足以下最低硬件要求,才能获得高可用性 部署在生产级环境中的基础架构。对于 安装拓扑,下表中列出了 对安装组件的最低硬件要求

在以下表格中,除了要用到的磁盘可用空间之外, 操作系统根据您的应用和网络流量,您的安装可能 所需的资源比下面列出的资源要多或少。

安装组件

RAM

CPU

最小硬盘容量

Cassandra

16 GB

8 核

250GB 本地存储空间(含 SSD)或支持 2000 IOPS 的快速 HDD

同一机器上有消息处理器/路由器

8/16GB

4 核

100GB

Google Analytics- 将 Postgres/Qpid 置于同一服务器上(不建议用于生产)

16GB*

8 核*

500GB - 1TB** 网络存储空间***,最好使用 SSD 后端,支持 1,000 IOPS 或更高*。

Google Analytics- Postgres 独立式

16GB*

8 核*

500GB - 1TB** 网络存储空间***,最好使用 SSD 后端; 支持 1000 IOPS 或更高*。

Google Analytics- Qpid 独立式

8 GB

4 核

30GB - 50GB 本地存储空间(含 SSD 或快速 HDD)

如果安装时间超过 250 TPS,本地存储支持 1000 IOPS 的 HDD 建议。

其他(OpenLDAP、界面、管理服务器)

4GB

2 核

60 GB

† 根据吞吐量调整消息处理器的系统要求:

为高吞吐量系统,最小建议为 4 核和 8 核。 您可以运行性能测试来确定 API 的最佳大小。

*根据吞吐量调整 Postgres 系统要求:

  • 低于 250 TPS:可对托管网络存储空间考虑使用 8GB 四核处理器*** 支持 1000 IOPS 或更高
  • 高于 250 TPS:16GB,8 核,托管网络存储空间*** 支持 1000 IOPS 或更高
  • 高于 1000 TPS:16GB,8 核,托管网络存储空间*** 支持 2000 IOPS 或更高
  • 高于 2000 TPS:32GB、16 核、托管网络存储空间*** 支持 2000 IOPS 或更高
  • 高于 4000 TPS:64GB,32 核,托管网络存储空间*** 支持 4000 IOPS 或更高

**Postgres 硬盘值基于 Edge。如果您向分析数据添加自定义值,那么这些值应 也会相应地提高使用以下公式估算所需存储空间:

(# 字节/请求) * (每秒请求数) * (每小时秒数) * (每 天)*(每月天数)*(数据保留月份数)= 需要的存储空间字节数

例如:

(每个请求的 2K 分析数据字节)* 100 个请求/秒 * 3600 秒/小时 * 18 小时峰值 每日用量 * 30 天/月 * 3 个月保留期限 = 1,194,393,600,000 个字节或 1194.4 GB。

*** 建议为 Postgresql 数据库使用 Network Storage,因为:

  • 它能够在以下情况下动态增加存储空间大小: 必填字段。
  • 在当今的大部分 环境/存储/网络子系统。
  • 可以在备份和恢复过程中启用存储级快照 解决方案。

此外,下面还列出了要安装 变现服务:

具有创收功能的组件

RAM

CPU

硬盘

管理服务器(含变现服务)

8 GB

4 核

60 GB

Google Analytics- 同一服务器上的 Postgres/Qpid

16 GB

8 核

500GB - 1TB 网络存储空间,最好带 SSD 后端,支持 1000 IOPS 或 或使用上表中的规则。

Google Analytics- Postgres 独立式

16 GB

8 核

500GB - 1TB 网络存储空间,最好带 SSD 后端,支持 1000 IOPS 或 或使用上表中的规则。

Google Analytics- Qpid 独立式

8 GB

4 核

40GB

下面列出了要安装 API BaaS 的硬件要求:

API BaaS 组件

RAM

CPU

硬盘

ElasticSearch*

8 GB

4 核

60 - 80GB

API BaaS 堆栈 *

8 GB

4 核

60 - 80GB

API BaaS 门户

1GB

2 核

20GB

Cassandra(可选 - 通常您针对这两个 Edge 使用同一 Cassandra 集群 和 API BaaS 服务)

16 GB

8 核

250GB 本地存储空间(含 SSD)或支持 2000 IOPS 的快速 HDD

* 您可以在同一节点上安装 ElasticSearch 和 API BaaS Stack。如果有, 将 ElasticSearch 配置为使用 4GB 的内存(默认)。如果 ElasticSearch 已安装到 然后使用 6GB 内存。

注意

  • 如果根文件系统不够大,无法进行安装,建议您 将数据放在更大的磁盘上
  • 如果机器上安装的是适用于私有云的旧版 Apigee Edge,请确保 在新安装前删除文件夹 /tmp/java
  • 系统级临时文件夹 /tmp 需要有执行权限, 启动 Cassandra。
  • 如果在安装之前创建了用户“apigee”,请确保 “/home/apigee”以主目录形式存在,且由 “apigee:apigee”。

操作系统和第三方 软件要求

这些安装说明和提供的安装文件已在 操作系统和第三方软件(详见 https://apigee.com/docs/api-services/reference/supported-software)。

创建 apigee 用户

安装过程会创建一个名为“apigee”的 Unix 系统用户。边缘目录和 “apigee”拥有的文件和 Edge 进程均拥有。这意味着 Edge 组件会以 “apigee”用户。如有必要,您可以用其他用户身份运行组件。请参阅“绑定路由器” 安全端口”请参阅在 node

安装目录

默认情况下,安装程序会将所有文件写入 /opt/apigee 目录。您无法更改此设置 目录位置。

在本指南的说明中,安装目录标注为 /<inst_root>/apigee,其中 /<inst_root> 默认为 /opt

Java

您需要在安装前在每台计算机上安装受支持的 Java1.8 版本。 下面列出了支持的 JDK:

https://apigee.com/docs/api-services/reference/supported-software

确保 JAVA_HOME 指向 到执行安装的用户的 JDK 的根目录。

网络设置

建议您在安装前检查网络设置。安装程序 希望所有机器都具有固定的 IP 地址。使用以下命令验证 设置:

  • hostname:返回名称 机器的
  • hostname -i 会返回 IP 地址。

根据您的操作系统类型和版本,您可能必须修改 /etc/hosts/etc/sysconfig/network(如果主机名不是 设置正确。如需了解详情,请参阅具体操作系统的文档。

卡桑德拉

所有 Cassandra 节点都必须连接到一个环。

Cassandra 会根据可用内存自动调整其 Java 堆大小。如需了解详情, 请参阅调整 Java 资源。在性能下降或内存消耗较高时。

安装适用于私有云的 Edge 后,您可以检查 Cassandra 是否已配置 正确做法是检查 /&lt;inst_root&gt;/apigee/apigee-cassandra/conf/cassandra.yaml 文件。例如,确保适用于私有云的 Edge 安装脚本设置了以下 属性:

  • cluster_name
  • initial_token
  • 分区
  • 种子
  • listen_address
  • rpc_address
  • 告密

警告:请勿修改此文件。

PostgreSQL 数据库

安装 Edge 后,您可以根据 系统上的可用 RAM 容量:

conf_postgresql_shared_buffers = 35% of RAM      # min 128kB
conf_postgresql_effective_cache_size = 45% of RAM
conf_postgresql_work_mem = 512MB       # min 64kB

如需设置这些值,请执行以下操作:

  1. 修改 postgresql.properties:
    &gt;六 /&lt;inst_root&gt;/apigee/customer/application/postgresql.properties

    如果该文件不存在,请创建该文件。
  2. 设置上面列出的属性。
  3. 保存所做的修改。
  4. 重启 PostgreSQL 数据库:
    &gt; /<inst_root>/apigee/apigee-service/bin/apigee-service apigee-postgresql 重启

jsvc

“jsvc”是使用 API BaaS 的前提条件。安装时,系统会同时安装版本 1.0.15-dev API BaaS

网络威胁防护服务 (NSS)

网络威胁防护服务 (NSS) 是一组库,支持开发 启用了安全性的客户端和服务器应用。您应该确保已安装 NSS v3.19 或更高版本。

如需查看当前版本,请按以下步骤操作:

> yum info nss

如需更新 NSS,请执行以下操作:

> yum update nss

请参阅 RedHat 的这篇文章

AWS AMI

如果要在适用于 Red Hat Enterprise Linux 的 AWS Amazon 机器映像 (AMI) 上安装 Edge 您必须先运行以下命令:

> yum-config-manager --enable rhui-REGION-rhel-server-extras rhui-REGION-rhel-server-optional

工具

安装程序在 EL5 提供的标准版中使用以下 UNIX 工具,或者 EL6。

awk

dirname

ls

每分钟转数

unzip

基名

echo

perl

rpm2cpio

添加

bash

表达式

pgrep(来自 procps)

sed

wc

bc

grep

ps

tar

美味

curl

主机名

pwd

tr

chkconfig

date

id

Python

uname

sudo

注意:

  • 工具“useradd”的可执行文件位于 /usr/sbin 中,chkconfig 位于 /sbin 中。
  • 通过 sudo 访问权限,您可以获取调用用户的环境的访问权限,例如, 通常,您会调用“sudo <command>”或 “sudo PATH=$PATH:/usr/sbin:/sbin <command>”。
  • 确保您已先安装“补丁”工具,然后再安装服务软件包(补丁) 安装。

ntpdate - 建议对服务器进行时间同步。如果 则“ntpdate”实用程序可以用于这一目的, 服务器是否进行时间同步。您可以使用“yum install ntp”来安装 实用程序。这在复制 OpenLDAP 设置时特别有用。请注意,您设置了 时区。

openldap 2.4 - 本地安装需要 OpenLDAP 2.4。如果 您的服务器已连接到互联网,然后会下载并安装 Edge 安装脚本 OpenLDAP.如果您的服务器未连接到互联网,请务必确保 OpenLDAP 已 。在 RHEL/CentOS 上,你可以 “yum install openldap-clients openldap-servers&quot;安装 OpenLDAP。

对于 13 个主机的安装和具有 2 个数据中心的 12 个主机的安装,您需要 OpenLDAP 复制,因为有多个托管 OpenLDAP 的节点。

防火墙和虚拟主机

“虚拟”一词在 IT 领域经常被忽视, 适用于私有云部署和虚拟主机的 Apigee Edge。需要说明的是 “虚拟”一词的使用:

  • 虚拟机 (VM):不是必需的,但部分部署会使用虚拟机技术 为 Apigee 组件创建独立的服务器。虚拟机主机(如物理主机)可以 网络接口和防火墙这些安装说明并非专门针对 虚拟机安装。
  • 虚拟主机:网络端点,类似于 Apache 虚拟主机。

虚拟机中的路由器可以公开多个虚拟主机(只要这些主机在 其主机别名或接口端口中)。

举一个命名示例,单个物理服务器“A”可能运行两个虚拟机, 分别命名为“VM1”和“VM2”我们假设 VM1 公开了一个虚拟以太网 接口,命名为 eth0 并且虚拟化会为其分配 IP 地址 111.111.111.111 计算机或网络 DHCP 服务器;然后假设 VM2 还公开了一个虚拟以太网接口 名为 eth0,它会被分配一个 IP 地址 111.111.111.222

两个虚拟机中可能都运行了一个 Apigee 路由器。路由器会公开虚拟主机 如以下假设示例所示:

VM1 中的 Apigee 路由器在其 eth0 接口(有一些 api.mycompany.com:80、api.mycompany.com:443test.mycompany.com:80

VM2 中的路由器公开 api.mycompany.com:80(与 由 VM1 公开)。

物理主机的操作系统可能具有网络防火墙;如果是,该防火墙 必须配置为通过 接口(111.111.111.111:{80, 443}111.111.111.222:80)。此外,每个 虚拟机的操作系统可能会在其 eth0 接口上提供自己的防火墙,这些防火墙也必须 则允许端口 80443 流量进行连接。

基本路径是将 API 调用路由到不同 API 代理所涉及的第三个组成部分 您可能已部署的资源如果 API 代理软件包具有不同的端点,则可以共享一个端点 基本路径。例如,一个基本路径可以定义为 http://api.mycompany.com:80/,而另一个基本路径可以定义为 定义为 http://api.mycompany.com:80/salesdemo

在这种情况下,您需要通过某种类型的负载平衡器或 Traffic Director 来拆分 两个 IP 地址(VM1 上的 111.111.111.111 和 VM2 上的 111.111.111.222)之间的 http://api.mycompany.com:80/ 流量。此函数 特定于您的安装,并由本地网络组进行配置。

基本路径是在部署 API 时设置的。在上面的示例中,您可以部署两个 API, mycompanytestmycompany(对于组织) mycompany-org 和 其主机别名为 api.mycompany.com 且端口设置为 80。如果您没有声明 基本路径,则路由器不知道要发送传入请求的 API 目标。

但是,如果您使用 testmycompany 这一基准网址部署 API /salesdemo,则用户可以访问 该 API(网址为 http://api.mycompany.com:80/salesdemo)。如果您 使用 / 的基础网址部署您的 API mycompany,然后用户通过该网址访问 API http://api.mycompany.com:80/.

边缘端口要求

对防火墙的管理不仅仅局限于虚拟主机;虚拟机和物理主机 防火墙必须允许组件与各个组件通信所需端口的流量通过 其他。

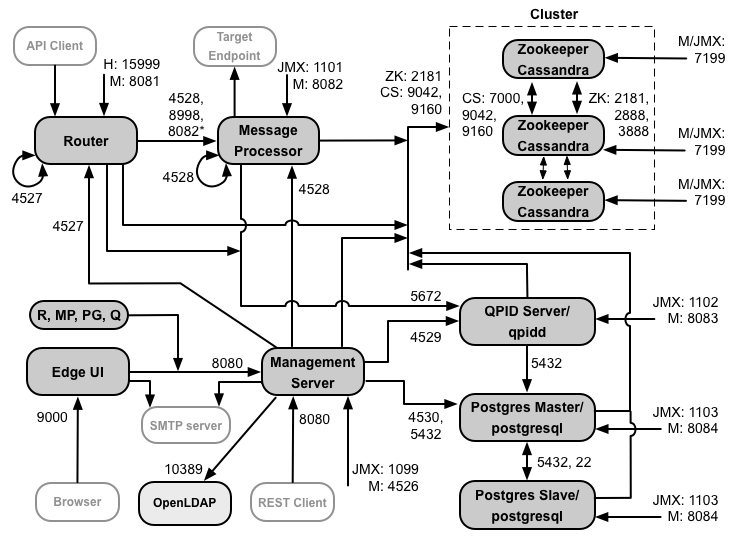
下图显示了每个 Edge 组件的端口要求:

下图中的备注

  • *仅当您执行下列操作时,路由器上的端口 8082 才需要开放 配置路由器和邮件处理器之间的 TLS/SSL。如果您未配置 TLS/SSL (默认配置),端口 8082 仍必须 在消息处理器上打开以管理组件,但路由器不要求 访问。
  • 以“M”为前缀的端口是用于管理组件的端口,必须在 组件。
  • 以下组件需要访问管理服务器上的端口 8080:路由器、 消息处理器、界面、Postgres 和 Qpid。
  • 消息处理器必须打开端口 4528 作为其管理端口。如果您有多个 它们必须都能够通过端口 4528(用 上图中消息处理器上的端口 4528 的循环箭头)。如果您有多个 数据中心,必须可从所有数据中心内的所有消息处理器访问该端口。
  • 您可以在路由器上打开端口 4527,以供任何邮件访问,尽管这不是必需操作 处理器。否则,您可能会在消息处理器日志文件中看到错误消息。
  • 路由器必须打开端口 4527 作为其管理端口。如果您有多个路由器 都必须能够通过端口 4527(由 如上图所示,路由器上的端口 4527)。
  • Edge 界面需要访问 API 代理公开的端口上的路由器,以支持 跟踪工具中的发送按钮。
  • 管理服务器需要访问 Cassandra 上的 JMX 端口 节点。
  • 对 JMX 端口的访问可配置为需要用户名/密码。如需了解详情,请参阅如何监控
  • 您可以选择为特定连接配置 TLS/SSL 访问, 不同的端口请参阅 TLS/SSL
  • 如果将两个 Postgres 节点配置为使用主备用复制功能,则必须打开端口 22 进行 SSH 访问您可以选择打开个别节点上的端口,以允许 使用 SSH 连接到 Cloud VPN。
  • 您可以将管理服务器和边缘界面配置为通过外部 SMTP 发送电子邮件 服务器。如果这样做,您必须确保管理服务器和 UI 可以访问必要的 SMTP 服务器上的端口对于非 TLS SMTP,端口号通常为 25。对于已启用 TLS SMTP,通常为 465,但请与您的 SMTP 提供商确认。

下表显示了需要在防火墙中按 Edge 组件打开的端口:

组件

Port(端口)

说明

标准 HTTP 端口

80、443

HTTP 以及您用于虚拟主机的任何其他端口

管理服务器

8080

用于调用 Edge Management API 的端口。这些组件要求访问端口 8080, 管理服务器:路由器、消息处理器、UI、Postgres 和 Qpid。

1099

JMX 端口

4526

适用于分布式缓存和管理调用

管理界面

9000

用于通过浏览器访问管理界面的端口

消息处理器

8998

用于从路由器通信的消息处理器端口

8082

消息处理器的默认管理端口,必须在组件上打开 管理服务器访问的资源。

如果您在路由器和邮件处理器之间配置 TLS/SSL(由路由器使用) 对消息处理器进行健康检查。

1101

JMX 端口

4528

适用于消息处理器之间的分布式缓存和管理调用,以及 通过路由器进行通信

路由器

8081

路由器的默认管理端口,必须在组件上打开才能访问 由管理服务器管理

4527

适用于分布式缓存和管理调用

15999

健康检查端口。负载平衡器使用此端口来确定路由器是否 可用。

要获取路由器的状态,负载平衡器会向 路由器:

> curl -v http://<routerIP>:15999/v1/servers/self/reachable

如果路由器可以访问,则请求将返回 HTTP 200。

ZooKeeper

2181

供管理服务器、路由器、消息处理器等其他组件使用 已开启

2888、3888

供 ZooKeeper 在内部用于 ZooKeeper 集群(称为 ZooKeeper 集成学习) 通信

Cassandra

7000、9042、9160

Apache Cassandra 端口,用于在 Cassandra 节点之间通信以及 其他 Edge 组件。

7199

JMX 端口。必须开放以供管理服务器访问。

Qpid

5672

用于从路由器和消息处理器到 Qpid 服务器的通信

8083

Qpid 服务器上的默认管理端口,必须在组件上打开 管理服务器访问的资源。

1102

JMX 端口

4529

适用于分布式缓存和管理调用

Postgres

5432

用于从 Qpid/Management 服务器到 Postgres 的通信

8084

Postgres 服务器上的默认管理端口,必须在组件上打开 管理服务器访问的资源。

1103

JMX 端口

4530

适用于分布式缓存和管理调用

22

如果要将两个 Postgres 节点配置为使用主备用复制功能,则必须打开 为 SSH 访问各节点上的端口 22。

LDAP

10389

OpenLDAP

SmartDocs

59002

边缘路由器上的端口,用于发送 SmartDocs 页面请求。

注意:此外,您可能需要打开防火墙中的端口以进行测试。对于 例如 59001,依此类推。

下表显示了相同的端口(以数字形式列出),其中包含来源和目标 组件:

端口号

目的

源组件

目标组件

<虚拟主机端口>

HTTP 以及您用于虚拟主机 API 调用流量的任何其他端口。端口 80 和 443 最常用的类别邮件路由器可以终止 TLS/SSL 连接。

外部客户端(或负载平衡器)

消息路由器上的监听器

1099 到 1103

JMX 管理

JMX 客户端

管理服务器 (1099)

消息处理器 (1101)

Qpid 服务器 (1102)

Postgres 服务器 (1103)

2181

ZooKeeper 客户端通信

管理服务器

路由器

消息处理器

Qpid 服务器

Postgres 服务器

ZooKeeper

2888 和 3888

Zookeeper 节点间管理

ZooKeeper

ZooKeeper

4526 到 4530

RPC 管理端口,用于分布式缓存和来自管理服务器的调用 其他组件

管理服务器

管理服务器 (4526)

路由器 (4527)

消息处理器 (4528)

Qpid 服务器 (4529)

Postgres 服务器 (4530)

4528

适用于消息处理器之间的分布式缓存调用,以及 从路由器

路由器

消息处理器

消息处理器

5432

Postgres 客户端

Qpid 服务器

Postgres

5672

用于从路由器和消息处理器向 Qpid 发送分析数据

路由器

消息处理器

Qpid 服务器

7,000

Cassandra 节点间通信

Cassandra

其他 Cassandra 节点

7199

JMX 管理。必须开放给管理层在 Cassandra 节点上访问 服务器。

JMX 客户端

Cassandra

8080

Management API 端口

Management API 客户端

管理服务器

8081 到 8084

组件 API 端口,用于直接向各个组件发出 API 请求。 每个组件会打开不同的端口;所使用的端口取决于具体的配置 但必须在组件上打开,以便管理服务器访问

Management API 客户端

路由器 (8081)

消息处理器 (8082)

Qpid 服务器 (8083)

Postgres 服务器 (8084)

8998

路由器和消息处理器之间的通信

路由器

消息处理器

9,000

默认边缘管理界面端口

浏览器

管理界面服务器

9042

CQL 原生传输

路由器

消息处理器

管理服务器

Cassandra

9160

Cassandra 旧款客户

路由器

消息处理器

管理服务器

Cassandra

10389

LDAP 端口

管理服务器

OpenLDAP

15999 健康检查端口。负载平衡器使用此端口来确定路由器是否 可用。 负载均衡器 路由器

59002

发送 SmartDocs 页面请求的路由器端口

SmartDocs

路由器

消息处理器使专用连接池保持对已配置的 Cassandra 开放 永不超时。当消息处理器和 Cassandra 服务器之间有防火墙时, 防火墙可能会使连接超时。但是,消息处理器并非设计为 重新建立与 Cassandra 的连接。

为防止出现这种情况,Apigee 建议将 Cassandra 服务器、消息处理器和 因此这些路由器位于同一子网中,这样在部署这些路由器时无需防火墙 组件。

如果防火墙位于路由器和消息处理器之间,并且设置了空闲的 tcp 超时时间, 我们的建议是:

  1. 设置 net.ipv4.tcp_keepalive_time = Linux 操作系统上 sysctl 设置中的 1800,其中 1800 应低于防火墙空闲时间 tcp 超时。此设置应使连接处于已建立状态, 防火墙不会断开连接。
  2. 在所有消息处理器上,修改 /&lt;inst_root&gt;/apigee/customer/application/message-processor.properties 以添加以下属性。如果该文件不存在,请创建该文件。
    conf_system_casssandra.maxconnecttimeinmillis=-1
  3. 重启消息处理器:
    &gt; /opt/apigee/apigee-service/bin/apigee-service edge-message-processor restart
  4. 在所有路由器上,修改 /&lt;inst_root&gt;/apigee/customer/application/router.properties 以添加以下属性。如果该文件不存在,请创建该文件。
    conf_system_casssandra.maxconnecttimeinmillis=-1
  5. 重启路由器:
    &gt; /opt/apigee/apigee-service/bin/apigee-service Edge-router restart

如果您安装含有两个数据中心的 12 个主机集群配置,请确保 两个数据中心内的节点可以通过如下所示的端口进行通信:

API BaaS 端口要求

如果您选择安装 API BaaS,则需要添加 API BaaS 堆栈和 API BaaS 门户组件。 这些组件使用下图所示的端口:

下图中的备注

  • Cassandra 节点可以专用于 API BaaS,也可以与 Edge 共享。
  • API BaaS 的生产环境安装在 API BaaS 门户节点之间使用负载平衡器 和 API BaaS 栈节点在配置门户和进行 BaaS API 调用时,您需要 指定负载平衡器的 IP 地址或 DNS 名称,而不是栈节点的 IP 地址或 DNS 名称。
  • 您必须将所有 Baas Stack 节点配置为通过外部 SMTP 服务器发送电子邮件。对于 不使用 TLS SMTP,则端口号通常为 25。对于启用了 TLS 的 SMTP,该值通常为 465, 与您的 SMTP 提供商相关联。

下表按组件显示了需要在防火墙中打开的默认端口:

组件

Port(端口)

说明

API BaaS 门户

9000

API BaaS 界面的端口

API BaaS 堆栈

8080

接收 API 请求的端口

ElasticSearch

9200 至 9400

用于与 API BaaS 堆栈通信以及在 ElasticSearch 之间通信 节点

许可

每次安装 Edge 时,您都需要从 Apigee 获取唯一的许可文件。您将 在安装管理服务器时需要提供许可文件的路径,例如 /tmp/license.txt.

安装程序将许可文件复制到 /&lt;inst_root&gt;/apigee/customer/conf/license.txt

如果许可文件有效,管理服务器会验证许可文件是否过期,并显示允许的消息 处理器 (MP) 数量。如果任何许可设置已过期,您可以在 以下位置:/&lt;inst_root&gt;/apigee/var/log/edge-management-server/logs。 在这种情况下,您可以联系 Apigee 支持团队 迁移详情。