Edge for Private Cloud v4.18.01
ハードウェア要件
高可用性を実現するには、次の最小ハードウェア要件を満たす必要があります。 セキュリティ インフラストラクチャを構築できます。以下で説明されているすべてのインストール シナリオで、 インストール トポロジでは、 最小ハードウェア要件を定めています。
これらの表では、ハードディスク容量に加えて、ハードディスク容量が 自動的に作成されます。アプリケーションとネットワーク トラフィックによっては、 必要なリソースが下表のとおりです。
| インストール コンポーネント | RAM | CPU | 最小ハードディスク |
|---|---|---|---|
| Cassandra | 16 GB | 8 コア | 250 GB のローカル ストレージ(SSD または 2,000 IOPS をサポートする高速 HDD) |
| 同じマシン上の Message Processor/Router | 16 GB | 8 コア | 100 GB |
| 分析 - 同じサーバー上の Postgres/Qpid(本番環境には非推奨) | 16GB* | 8 コア* | 500 GB ~ 1 TB** のネットワーク ストレージ***(SSD バックエンドを推奨) 1,000 IOPS 以上をサポート* |
| 分析 - Postgres スタンドアロン | 16GB* | 8 コア* | 500 GB ~ 1 TB** のネットワーク ストレージ***(SSD バックエンドを推奨) 1,000 IOPS 以上をサポート* |
| アナリティクス - Qpid スタンドアロン | 8 GB | 4 コア | 30 GB ~ 50 GB のローカル ストレージ(SSD または高速 HDD)
250 TPS を超えるインストールの場合、1, 000 IOPS をサポートするローカル ストレージを備えた HDD 推奨されます。 Qpid のデフォルトのキューサイズは 20 GB です。さらに容量を追加する必要がある場合は、 Qpid ノード。 |
| その他(OpenLDAP、UI、Management Server) | 4 GB | 2 コア | 60 GB |
* スループットに基づいて Postgres のシステム要件を調整する
- 250 TPS 未満: 8 GB、4 コアをマネージド ネットワークで検討可能 1,000 IOPS 以上をサポートするストレージ***
- 250 TPS 以上: 16 GB、8 コア、マネージド ネットワーク ストレージ*** 1,000 IOPS 以上をサポート
- 1,000 TPS 以上: 16 GB、8 コア、マネージド ネットワーク ストレージ*** 2,000 IOPS 以上をサポート
- 2,000 TPS 以上: 32 GB、16 コア、マネージド ネットワーク ストレージ*** 2,000 IOPS 以上をサポート
- 4,000 TPS 以上: 64 GB、32 コア、マネージド ネットワーク ストレージ*** 4,000 IOPS 以上をサポート
** Postgres のハードディスクの値は、Edge によって取り込まれた、すぐに使用できる分析に基づいています。 分析データにカスタム値を追加する場合は、値を増やす必要がある 必要があります。次の式を使用して、必要なストレージを見積もります。
bytes of storage needed =
(# bytes of analytics data/request) *
(requests/second) *
(seconds/hour) *
(hours of peak usage/day) *
(days/month) *
(months of data retention)
例:
(2K bytes) * (100 req/sec) * (3600 secs/hr) * (18 peak hours/day) * (30 days/month) * (3 months retention)
= 1,194,393,600,000 bytes or 1194.4 GB
*** ネットワーク ストレージが Postgresql データベースに推奨されている理由は次のとおりです。
- 必要な場合に、ストレージ サイズを動的にスケールアップできます。 必要ありません。
- ネットワーク IOPS は、今日のほとんどの環境でオンザフライで調整できる ネットワーク サブシステムなどです。
- バックアップと復元の一環としてストレージ レベルのスナップショットを有効にできる 説明します。
さらに、Cloud SDK をインストールする場合のハードウェア要件は次のとおりです。 収益化サービス:
| 収益化対象のコンポーネント | RAM | CPU | ハードディスク |
|---|---|---|---|
| Management Server(Monetization Services を使用) | 8 GB | 4 コア | 60 GB |
| 分析 - 同一サーバー上の Postgres/Qpid | 16 GB | 8 コア | 500 GB ~ 1 TB のネットワーク ストレージ(1,000 IOPS または SSD バックエンドが望ましい) 上の表のルールを使用します。 |
| 分析 - Postgres スタンドアロン | 16 GB | 8 コア | 500 GB ~ 1 TB のネットワーク ストレージ(1,000 IOPS または SSD バックエンドが望ましい) 上の表のルールを使用します。 |
| アナリティクス - Qpid スタンドアロン | 8 GB | 4 コア | 40 GB ~ 500 GB のローカル ストレージ(SSD または高速 HDD)
250 TPS を超えるインストールの場合、1, 000 IOPS をサポートするローカル ストレージを備えた HDD 推奨されます。 |
API BaaS をインストールする場合のハードウェア要件は次のとおりです。
| API BaaS コンポーネント | RAM | CPU | ハードディスク |
|---|---|---|---|
| ElasticSearch* | 8 GB | 4 コア | 60 ~ 80 GB |
| API BaaS スタック* | 8 GB | 4 コア | 60 ~ 80 GB |
| API BaaS ポータル | 1 GB | 2 コア | 20 GB |
| Cassandra** | 16 GB | 8 コア | 250 GB のローカル ストレージ(SSD または 2,000 IOPS をサポートする高速 HDD) |
* ElasticSearch と API BaaS Stack を同じノードにインストールできます。追加すると、 4 GB のメモリを使用するように ElasticSearch を構成する(デフォルト)。ElasticSearch が 6 GB のメモリを使用するように構成します。
** 省略可。通常、Edge と API BaaS の両方で同じ Cassandra クラスタを使用します。 。
で確認できます。オペレーティング システムとサードパーティ ソフトウェアの要件
以下のインストール手順と付属のインストール ファイルは、 表に記載されているオペレーティング システムとサードパーティ ソフトウェア サポートされているソフトウェアとサポート対象バージョン。
Apigee ユーザーの作成
インストール手順では、「apigee」という名前の Unix システム ユーザーが作成されます。エッジ ディレクトリと 各ファイルは、Edge プロセスと同様に「apigee」が所有します。つまり Edge コンポーネントは 「apigee」できます。必要に応じて、コンポーネントを別のユーザーとして実行できます。
インストール ディレクトリ
デフォルトでは、インストーラはすべてのファイルを /opt/apigee ディレクトリに書き込みます。マイページ
このディレクトリの場所は変更できません。このディレクトリは変更できませんが、ディレクトリを作成して
以下で説明するように、/opt/apigee を別の場所にマッピングするためのシンボリック リンク。
このガイドの手順では、インストール ディレクトリは
/opt/apigee。
/opt/apigee からのシンボリック リンクの作成
シンボリック リンクを作成する前に、まず「apigee」という名前のユーザーとグループを作成する必要があります。これは、 Edge インストーラによって作成された同じグループとユーザーである必要があります。
シンボリック リンクを作成するには、bootstrap_4.18.01.sh ファイルをダウンロードする前に次の手順を実行します。 以下の手順はすべて、root として実行する必要があります。
- 「apigee」を作成するuser and group:
groupadd -r apigee > useradd -r -g apigee -d /opt/apigee -s /sbin/nologin -c "Apigee platform user" apigee
/opt/apigeeから目的のインストール ルートへのシンボリック リンクを作成します。ln -Ts /srv/myInstallDir /opt/apigee
ここで、/srv/myInstallDir は Edge ファイルの目的の場所です。
- インストール ルートとシンボリック リンクの所有権を「apigee」に変更します。user:
chown -h apigee:apigee /srv/myInstallDir /opt/apigee
Java
インストール前に、サポートされているバージョンの Java 1.8 を各マシンにインストールする必要があります。 サポートされる JDK のリストは、 サポートされているソフトウェアとサポート対象バージョン。
JAVA_HOME が、実行するユーザーの JDK のルートを指していることを確認します。
インストールできます。
SELinux
SELinux の設定によっては、Edge でのインストールと起動で問題が発生することがあります Edge コンポーネント。必要に応じて、SELinux を無効にするか、Linux を permissive モードに設定できます。 インストールしてから再度有効にします。詳細については、Edge apigee-setup ユーティリティをインストールするをご覧ください。
ネットワーク設定
設置前にネットワーク設定を確認することをおすすめします。インストーラ は、すべてのマシンが固定 IP アドレスを持っていることを想定しています。環境変数を検証するには、次のコマンドを使用します。 設定:
hostnameはマシンの名前を返します。hostname -iは、アドレス指定可能なホスト名の IP アドレスを返します。 できます。
オペレーティング システムの種類やバージョンによっては、編集が必要になる場合があります。
/etc/hosts、/etc/sysconfig/network(ホスト名がない場合)
確認します。詳細については、ご使用のオペレーティング システムのドキュメントをご覧ください。
サーバーに複数のインターフェース カードがある場合、「hostname -i」スペースで区切られた IP アドレスのリスト。デフォルトでは、Edge インストーラは返された最初の IP アドレスを使用します。 常に正しいとは限りません。代わりに、次のプロパティを インストール構成ファイルを次のように指定します。
ENABLE_DYNAMIC_HOSTIP=y
このプロパティを「y」に設定すると、アプリケーションとして使用する IP アドレスを選択するよう求められます。 自動的に行われます。デフォルト値は「n」です。詳しくは、 Edge 構成ファイル リファレンス。
TCP ラッパー
TCP ラッパーは一部のポートの通信をブロックし、OpenLDAP、Postgres、
Cassandra のインストール。これらのノードで /etc/hosts.allow を確認し、
/etc/hosts.deny を使用して、必要なポートにポート制限がないことを確認します。
OpenLDAP、Postgres、Cassandra のポート。
iptables
ネットワーク上のノード間の接続を妨げる iptables ポリシーがないことを確認する ポートを指定します。必要に応じて、次のコマンドを使用して、インストール中に iptables を停止できます。 command:
sudo/etc/init.d/iptables stop
CentOS 7.x の場合:
systemctl stop firewalld
Edge Router が /etc/rc.d/init.d/functions にアクセスする
Edge Router ノードと BaaS Portal ノードは Nginx ルーターを使用するため、読み取りアクセス権が必要です
/etc/rc.d/init.d/functions に送信します。
セキュリティ プロセス上、Compute Engine インスタンスまたは
/etc/rc.d/init.d/functions です。700 に設定しないでください。700 に設定すると、ルーターが失敗します。
開始します権限を 744 に設定すると、以下に対する読み取りアクセスを許可する
/etc/rc.d/init.d/functions。
Cassandra
すべての Cassandra ノードをリングに接続する必要があります。Cassandra は Google Cloud 上の 信頼性とフォールト トレランスを確保します。それぞれのレプリケーション戦略は、 Edge キースペースにより、レプリカが配置される Cassandra ノードが決まります。詳細については、 Cassandra について レプリケーション係数と整合性レベルをご覧ください。
Cassandra は、使用可能なメモリに基づいて Java ヒープサイズを自動的に調整します。詳細については、次をご覧ください。 チューニング Java リソースをご覧ください。パフォーマンスの低下やメモリ消費量が多い場合。
Edge for Private Cloud をインストールしたら、Cassandra が構成されていることを確認できます。
/opt/apigee/apigee-cassandra/conf/cassandra.yaml を調べることで正しく
表示されます。たとえば、Edge for Private Cloud のインストール スクリプトで次の値が設定されていることを確認します。
プロパティ:
cluster_nameinitial_tokenpartitionerseedslisten_addressrpc_addresssnitch
PostgreSQL データベース
Edge をインストールした後、状況に応じて次の PostgreSQL データベース設定を調整できます。 システムで使用可能な RAM の容量:
conf_postgresql_shared_buffers = 35% of RAM # min 128kB conf_postgresql_effective_cache_size = 45% of RAM conf_postgresql_work_mem = 512MB # min 64kB
これらの値を設定するには:
- postgresql.properties ファイルを編集します。
vi /opt/apigee/customer/application/postgresql.properties
ファイルが存在しない場合は作成します。
- 上記のプロパティを設定します。
- 編集内容を保存します。
- PostgreSQL データベースを再起動します。
/opt/apigee/apigee-service/bin/apigee-service apigee-postgresql restart
システム制限
Cassandra と Message Processor で、次のシステム制限が設定されていることを確認してください ノード:
- Cassandra ノードで、Memlock、nofile、アドレス空間(as)の上限を Cassandra ノードに
/etc/security/limits.d/90-apigee-edge-limits.confのインストール ユーザー(デフォルトは「apigee」) 次のように指定します。apigee soft memlock unlimited apigee hard memlock unlimited apigee soft nofile 32768 apigee hard nofile 65536 apigee soft as unlimited apigee hard as unlimited
- Message Processor ノードで、オープン ファイル記述子の最大数を 64, 000 に設定する
(
/etc/security/limits.d/90-apigee-edge-limits.conf) 下に示します。apigee soft nofile 32768 apigee hard nofile 65536
必要に応じて、この上限を引き上げることができます。たとえば、一時的なバックアップ ディスクが ファイルを開くことができます。
jsvc
「jsvc」API BaaS を使用するための前提条件です。バージョン 1.0.15-dev は、バージョン 1.0.15-dev が API BaaS です。
ネットワーク・セキュリティ・サービス(NSS)
Network Security Services(NSS)は、ソフトウェア開発と サーバー アプリケーションもサポートしています。NSS がインストールされていることを確認する v3.19 以降。
現在のバージョンを確認するには:
yum info nss
NSS を更新するには:
yum update nss
こちらの記事をご覧ください。 をご覧ください。
IPv6 で DNS ルックアップを無効にする NSCD(Name Service Cache Daemon)を使用する場合
NSCD(ネームサービス キャッシュ デーモン)をインストールして有効にしている場合は、 DNS ルックアップを 2 回行います。1 つは IPv4 用、もう 1 つは IPv6 用です。オンプレミスで DNS ルックアップを NSCD を使用する場合は IPv6。
IPv6 で DNS ルックアップを無効にするには:
- すべての Message Processor ノードで
/etc/nscd.confを編集します。 - 次のプロパティを設定します。
enable-cache hosts no
Google Cloud で IPv6 を無効にする RedHat/CentOS 7 用プラットフォーム
Google Cloud Platform 上の RedHat 7 または CentOS 7 に Edge をインストールする場合、 すべての Qpid ノードで IPv6 を無効にする必要があります。
ご使用の OS バージョンの RedHat または CentOS のドキュメントをご覧ください。 IPv6 を無効にします。たとえば、次のようなことができます。
- エディタで
/etc/hostsを開きます。 - 「#」を挿入次の行の 1 列目に文字を入力して、コメントアウトします。
#::1 localhost localhost.localdomain localhost6 localhost6.localdomain6
- ファイルを保存します。
AWS AMI
Red Hat Enterprise Linux 用 AWS Amazon Machine Image(AMI)に Edge をインストールする場合 最初に次のコマンドを実行する必要があります。
yum-config-manager --enable rhui-REGION-rhel-server-extras rhui-REGION-rhel-server-optional
ツール
インストーラでは次の UNIX ツールを標準バージョン(EL5 または EL6.
|
awk |
式 |
libxslt |
RPM |
unzip |
|
ベース名 |
grep |
lua-socket |
rpm2cpio |
useradd |
|
bash |
hostname |
ls |
sed |
wc |
|
bc |
id |
ネットツール |
sudo |
wget |
|
curl |
リバイオ |
perl(procps から) |
tar |
Xerces-C |
| Cyrus-Sasl | libdb4 | pgrep(procps から) | tr | おいしい |
|
date |
libdb-cxx |
ps |
uuid |
chkconfig |
| ディレクトリ名 | libibverbs | pwd | uname | |
| エコー | librdmacm | python |
ntpdate
サーバーのレプリカ数など、いくつかの時刻が同期されます。まだ構成されていない場合は
ntpdate ユーティリティがこの目的に役立ち、
サーバーの時刻が同期されているかどうか。yum install ntp を使用すると、
ユーティリティですこれは、OpenLDAP 設定を複製する場合に特に便利です。なお、サーバー
タイムゾーンを UTC で返します。
OpenLDAP 2.4
オンプレミス インストールには OpenLDAP 2.4 が必要です。条件
サーバーがインターネットに接続されたら、Edge インストール スクリプトがダウンロードおよびインストールされます。
OpenLDAP.サーバーがインターネットに接続できない場合は、必ず OpenLDAP が
インストールしておく必要があります。RHEL/CentOS の場合は、次のコマンドを実行します。
yum install openldap-clients openldap-servers: OpenLDAP をインストールします。
13 ホストまたは 2 つのデータセンターを使用する 12 ホスト インストールでは、 OpenLDAP をホストしているノードが複数あるため、OpenLDAP レプリケーション。
ファイアウォールと仮想ホスト
virtual という用語は、IT 分野では一般的に過負荷となるため、
Apigee Edge for Private Cloud のデプロイと仮想ホスト。まず 2 つの重要な指標と
virtual という用語の使用:
- 仮想マシン(VM): 必須ではありませんが、一部のデプロイでは VM テクノロジーが使用されます。 Apigee コンポーネント用に分離されたサーバーを作成します。VM ホストは、物理ホストと同様に、複数の ネットワークインターフェースとファイアウォールです
- 仮想ホスト: Apache 仮想ホストに似たウェブ エンドポイント。
VM 内のルーターは、複数の仮想ホストを公開できます(ただし、 ホスト エイリアスまたはインターフェース ポートで定義されます。
例として、単一の物理サーバー A が 2 つの VM を実行している場合があります。
「VM1」という名前の“VM2”という意味になります仮に「VM1」とします仮想イーサネット インターフェースを公開します。このインターフェースは
「eth0」割り当てられている IP アドレス 111.111.111.111 は、VM 内にあります。
仮想マシンやネットワークの DHCP サーバーと通信します。VM2 が Virtual Private Cloud(VPC)を
「eth0」という名前のイーサネット インターフェースそのエンドポイントに IP アドレスが
111.111.111.222。
2 つの VM のそれぞれで Apigee ルーターが実行されている場合があります。ルーターは仮想ホストで エンドポイントを設定します。
VM1 の Apigee ルーターは、eth0 インターフェースで 3 つの仮想ホストを公開します(このインターフェースには
特定の IP アドレス)、api.mycompany.com:80、api.mycompany.com:443、
test.mycompany.com:80。
VM2 のルーターは api.mycompany.com:80 を公開します(名前とポートは
VM1 によって公開される)。
物理ホストのオペレーティング システムにネットワーク ファイアウォールが設定されている場合があります。場合、そのファイアウォールは
仮想ストレージ サーバーに公開されるポートに向かう TCP トラフィックを渡すように
インターフェース(111.111.111.111:{80, 443} と 111.111.111.222:80)。また、
VM のオペレーティング システムでは、eth0 インターフェースに独自のファイアウォールを設定できます。また、このファイアウォールも
ポート 80 と 443 のトラフィックの接続を許可します
ベースパスは、異なる API プロキシへの API 呼び出しのルーティングに関連する 3 番目のコンポーネントです。
数多くありますAPI プロキシ バンドルで異なるエンドポイントを共有している場合は、
作成します。たとえば、1 つのベースパスを http://api.mycompany.com:80/ として定義できます。
もう 1 つは http://api.mycompany.com:80/salesdemo として定義されています。
この場合、トラフィック トラフィックを分割するなんらかの種類のロードバランサまたは
2 つの IP アドレス間の http://api.mycompany.com:80/ トラフィック
(VM1 では 111.111.111.111、VM2 では 111.111.111.222)。この関数は、
固有の構成で、ローカル ネットワーク グループによって構成されます。
ベースパスは、API のデプロイ時に設定されます。上記の例では、2 つの API をデプロイできます。
組織に対する mycompany と testmycompany
mycompany-org は、次のホスト エイリアスを持つ仮想ホストに置き換えます。
api.mycompany.com、ポートは 80 に設定します。Pod の IP アドレスを
場合、ルーターは受信リクエストを送信する API を認識しません。
できます。
ただし、API testmycompany を次のベース URL でデプロイすると、
/salesdemo の場合、ユーザーは
http://api.mycompany.com:80/salesdemo。API mycompany を
ベース URL を / にすると、ユーザーは URL を使用して API にアクセスできます。
http://api.mycompany.com:80/。
エッジポートの要件
ファイアウォールを管理する必要があるのは、仮想ホストだけではありません。VM と物理ホストの両方 コンポーネントが各ファイアウォール ルールと通信するために、 あります。
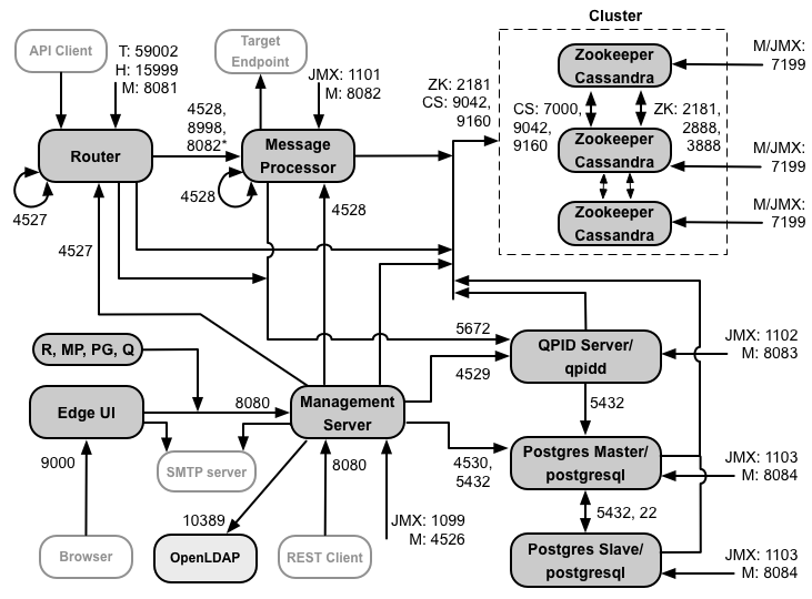
次の図は、各 Edge コンポーネントのポート要件を示しています。

この図での注記:
- * Message Processor のポート 8082 は、ルーターからのアクセスのために開放しておく必要があるのは、 Router と Message Processor 間の TLS/SSL を構成します。TLS/SSL を構成しない場合 デフォルト構成のポート 8082 でポート 8082 を コンポーネントを管理するために Message Processor で開いていますが、Router では 必要ありません。
- 接頭辞が「M」のポートはコンポーネントの管理に使用するポートであり、 コンポーネント上で開いておく必要があります。
- 次のコンポーネントは、Management Server のポート 8080 にアクセスする必要があります。ルーター、 Message Processor、UI、Postgres、Qpid です。
- Message Processor では、管理ポートとしてポート 4528 を開く必要があります。複数の Message Processor はすべて、ポート 4528( Message Processor のポート 4528 の場合は、上の図のループ矢印)。複数の データセンターのすべての Message Processor からポートにアクセスできる必要があります。
- 必須ではありませんが、任意の Message でアクセスできるように、Router でポート 4527 を開くことができます。 データ処理者そうしないと、Message Processor のログファイルにエラー メッセージが表示されることがあります。
- Router では、管理ポートとしてポート 4527 を開く必要があります。Router が複数ある場合は、 ポート 4527( Router のポート 4527 の場合)。
- Edge UI では、サポートのために、API プロキシによって公開されているポート上の Router にアクセスする必要があります。 [Send] ボタンをクリックします。
- Management Server が Cassandra の JMX ポートにアクセスする必要があります。 説明します。
- JMX ポートへのアクセスは、ユーザー名/パスワードを要求するように構成できます。詳しくは、 モニタリング方法をご覧ください。
- 必要に応じて、特定の接続に対して TLS/SSL アクセスを構成できます。 ポートごとに異なります。TLS/SSL をご覧ください。 できます。
- マスター / スタンバイ レプリケーションを使用するように 2 つの Postgres ノードを構成する場合は、ポート 22 を開く必要があります 各ノードで SSH アクセスできるようにします。必要に応じて、個々のノードでポートを開いて、 確立します。
- 外部 SMTP 経由でメールを送信するように Management Server と Edge UI を構成できます。 あります。その場合は、Management Server と UI から必要なリソースにアクセスできることを確認する必要があります。 SMTP サーバーのポートにポートします。TLS 以外の SMTP の場合、ポート番号は通常 25 です。TLS が有効な場合 SMTP、通常は 465 ですが、SMTP プロバイダに確認してください。
以下の表は、Edge コンポーネントごとに、ファイアウォールで開く必要があるポートを示しています。
| コンポーネント | ポート | 説明 |
|---|---|---|
| 標準の HTTP ポート | 80、443 | HTTP と仮想ホストに使用するその他のポート |
| 管理サーバー | 8080 | Edge 管理 API 呼び出し用のポート。これらのコンポーネントは、Compute Engine インスタンスで Management Server: Router、Message Processor、UI、Postgres、Qpid です。 |
| 1099 | JMX ポート | |
| 4526 | 分散キャッシュと管理呼び出し用 | |
| 管理 UI | 9000 | 管理 UI へのブラウザ アクセスのポート |
| Message Processor | 8998 | Router からの通信用の Message Processor ポート |
| 8082 |
Message Processor 用のデフォルト管理ポートです。このポートをコンポーネント上で開いている必要があります。 Management Server によるアクセス制限を制御します。 Router と Message Processor の間で TLS/SSL を構成する場合、Router で使用される Message Processor でヘルスチェックを行います。 |
|
| 1101 | JMX ポート | |
| 4528 | Message Processor 間の分散キャッシュと管理呼び出し、および Router と Management Server からの通信を | |
| ルーター | 8081 | Router のデフォルト管理ポート。アクセスのためにコンポーネント上で開いている必要がある 管理サーバーによって管理されます。 |
| 4527 | 分散キャッシュと管理呼び出し用 | |
| 15999 |
ヘルスチェック ポート。ロードバランサは、このポートを使用して Router が できます。 ロードバランサは、ルーターのステータスを取得するために、ポート 15999 にリクエストを送信します。 Router: curl -v http://routerIP:15999/v1/servers/self/reachable Router が到達可能な場合、リクエストは HTTP 200 を返します。 |
|
| 59001 | apigee-validate ユーティリティが Edge のインストールをテストするために使用するポート。
このユーティリティは、Router のポート 59001 にアクセスする必要があります。詳しくは、
ポート 59001 での詳細については、インストールをテストしてください。 |
|
| ZooKeeper | 2181 | Management Server、Router、Message Processor などの他のコンポーネントで使用されます。 |
| 2888、3888 | ZooKeeper が ZooKeeper クラスタ用に内部的に使用する(ZooKeeper アンサンブルとも呼ばれる) コミュニケーション | |
| Cassandra | 7000、9042、9160 | Cassandra ノード間の通信および Cassandra ノードによるアクセス用の Apache Cassandra ポート 使用できます。 |
| 7199 | JMX ポート。Management Server がアクセスできるよう、開いておく必要があります。 | |
| Qpid | 5672 | Router と Message Processor から Qpid サーバーへの通信に使用されます。 |
| 8083 | Qpid Server のデフォルト管理ポートです。このポートは、オペレーティング システムのコンポーネント上で Management Server によるアクセス制限を制御します。 | |
| 1102 | JMX ポート | |
| 4529 | 分散キャッシュと管理呼び出し用 | |
| Postgres | 5432 | Qpid/Management Server から Postgres への通信に使用されます。 |
| 8084 | Postgres サーバーのデフォルト管理ポート。アクセスのためにコンポーネント上で開いている必要があります。 管理サーバーによって管理されます。 | |
| 1103 | JMX ポート | |
| 4530 | 分散キャッシュと管理呼び出し用 | |
| 22 | マスター / スタンバイ レプリケーションを使用するように 2 つの Postgres ノードを構成する場合は、 各ノードの SSH アクセス用ポート 22 を設定します。 | |
| LDAP | 10389 | OpenLDAP |
| SmartDocs | 59002 | SmartDocs ページ リクエストが送信される Edge Router のポート。 |
次の表は、同じポートを送信元と宛先とともに番号で示しています。 components:
| ポート番号 | 目的 | ソース コンポーネント | 宛先コンポーネント |
|---|---|---|---|
| virtual_host_port | HTTP と、仮想ホストの API 呼び出しトラフィックに使用するその他のポート。ポート 80 と 443 よく使用されます。Message Router は TLS/SSL 接続を終端できます。 | 外部クライアント(またはロードバランサ) | Message Router のリスナー |
| 1099 ~ 1103 | JMX 管理 | JMX クライアント | Management Server(1099) Message Processor(1101) Qpid Server(1102) Postgres Server(1103) |
| 2181 | Zookeeper クライアント コミュニケーション | 管理サーバー ルーター Message Processor Qpid Server Postgres サーバー |
Zookeeper |
| 2888、3888 | Zookeeper のノード間管理 | Zookeeper | Zookeeper |
| 4526 | RPC 管理ポート | 管理サーバー | 管理サーバー |
| 4527 | 分散キャッシュと管理呼び出し、および通信用の RPC Management ポート 通信事業者間の | 管理サーバー ルーター |
ルーター |
| 4528 | Message Processor 間の分散キャッシュ呼び出しと、 受信します。 | 管理サーバー ルーター Message Processor |
Message Processor |
| 4529 | 分散キャッシュと管理呼び出し用の RPC Management ポート | 管理サーバー | Qpid サーバー |
| 4530 | 分散キャッシュと管理呼び出し用の RPC Management ポート | 管理サーバー | Postgres サーバー |
| 5432 | Postgres クライアント | Qpid サーバー | Postgres |
| 5672 |
Router と Message Processor から Qpid に分析を送信するために使用されます。 |
ルーター Message Processor |
Qpid サーバー |
| 7,000 | Cassandra のノード間通信 | Cassandra | その他の Cassandra ノード |
| 7199 | JMX 管理。管理者が Cassandra ノードへのアクセスのために開いている必要がある できます。 | JMX クライアント | Cassandra |
| 8080 | Management API ポート | Management API クライアント | 管理サーバー |
| 8081 ~ 8084 |
コンポーネント API ポート。個々のコンポーネントに直接 API リクエストを発行するために使用されます。 コンポーネントごとに異なるポートを開きます。使用される正確なポートは、構成によって異なる Management Server がアクセスできるよう、コンポーネント上で開いている必要があります。 |
Management API クライアント | ルーター(8081) Message Processor(8082) Qpid Server(8083) Postgres Server(8084) |
| 8998 | Router と Message Processor 間の通信 | ルーター | Message Processor |
| 9000 | デフォルトの Edge 管理 UI ポート | ブラウザ | 管理 UI サーバー |
| 9042 | CQL ネイティブ トランスポート | ルーター Message Processor 管理サーバー |
Cassandra |
| 9160 | Cassandra Thrift クライアント | ルーター Message Processor 管理サーバー |
Cassandra |
| 10389 | LDAP ポート | 管理サーバー | OpenLDAP |
| 15999 | ヘルスチェック ポート。ロードバランサは、このポートを使用して Router が できます。 | ロードバランサ | ルーター |
| 59001 | Edge インストールをテストするために apigee-validate ユーティリティが使用するポート |
apigee-validate | ルーター |
| 59002 | SmartDocs ページ リクエストが送信されるルーターポート | SmartDocs | ルーター |
Message Processor は、Cassandra に対して構成された専用接続プールを維持します。 タイムアウトが発生しないようにします。ファイアウォールが Message Processor と Cassandra サーバーの間にある場合は、 ファイアウォールによって 接続がタイムアウトすることがありますただし、Message Processor は Google Cloud の Cassandra への接続を再確立します。
この状況を回避するために、Apigee では Cassandra サーバー、Message Processor、 同じサブネット内にあるため、これらのデプロイにファイアウォールは関与しません。 説明します。
ファイアウォールがルーターと Message Processor の間にあり、TCP のアイドル タイムアウトが設定されている場合: おすすめの方法は以下のとおりです。
- Linux OS の sysctl 設定で
net.ipv4.tcp_keepalive_time = 1800を設定します。ここで、 ファイアウォールのアイドル状態の TCP タイムアウトよりも小さい値を指定してください。この設定により 確立された状態に維持し、ファイアウォールによって接続が切断されないようにします。 - すべての Message Processor で次の内容を編集します。
/opt/apigee/customer/application/message-processor.properties次のプロパティを追加します。ファイルが存在しない場合は作成します。conf_system_cassandra.maxconnecttimeinmillis=-1
- Message Processor を再起動します。
/opt/apigee/apigee-service/bin/apigee-service edge-message-processor restart
- すべての Router で
/opt/apigee/customer/application/router.propertiesを編集します。 次のプロパティを追加します。ファイルが存在しない場合は作成します。conf_system_cassandra.maxconnecttimeinmillis=-1
- Router を再起動します。
/opt/apigee/apigee-service/bin/apigee-service edge-router restart
2 つのデータセンターがある 12 ホストのクラスタ化構成をインストールする場合は、 2 つのデータセンター内のノードは、以下に示すポートを介して通信できます。

API BaaS ポートの要件
API BaaS のインストールを選択した場合は、API BaaS スタックと API BaaS ポータル コンポーネントを追加します。 これらのコンポーネントでは、次の図に示すポートが使用されます。

この図での注記:
- API BaaS ポータルが BaaS スタックノードに直接リクエストを行うことはありません。開発者が ポータルにログインすると、ポータル アプリがブラウザにダウンロードされます。Google Workspace で実行されている その後、ブラウザは BaaS Stack ノードにリクエストを送信します。
- API BaaS の本番環境インストールでは、API BaaS ポータル ノード間のロードバランサを使用する API BaaS Stack ノードです。ポータルを構成するとき、および BaaS API 呼び出しを行うときに、 スタックノードではなく、ロードバランサの IP アドレスまたは DNS 名を指定します。
- すべてのスタックノードは、他のすべてのスタックノード( スタックノードのポート 2551 の場合、上の図のループ矢印)。複数のデータがある場合 すべてのデータセンターのすべてのスタックノードからポートにアクセスできる必要があります。
- すべての Baas Stack ノードが、外部 SMTP サーバー経由でメールを送信するように構成する必要があります。対象 非 TLS SMTP の場合、ポート番号は通常 25 です。TLS 対応の SMTP では多くの場合 465 ですが、 関連付けられています
- Cassandra ノードは API BaaS 専用にすることも、Edge と共有することもできます。
以下の表は、ファイアウォールで開く必要があるデフォルトのポートをコンポーネント別に示します。
| コンポーネント | ポート | 説明 |
|---|---|---|
| API BaaS ポータル | 9000 | API BaaS UI のポート |
| API BaaS スタック | 8080 | API リクエストを受信するポート |
| 2551 |
すべてのスタックノード間の通信用のポート。他のすべてのスタックからアクセスできる必要がある データ カンター内のノードです。 データセンターが複数ある場合は、組織内のすべてのスタックノードからポートにアクセスできる必要があります。 提供します |
|
| ElasticSearch | 9,200 ~ 9,400 | API BaaS Stack との通信および ElasticSearch 間の通信 ノード |
ライセンス
Edge のインストールごとに、Apigee から取得した固有のライセンス ファイルが必要です。手順 管理サーバーをインストールするときに、ライセンス ファイルのパスを指定する必要があります。たとえば、 /tmp/license.txt.
インストーラはライセンス ファイルを
/opt/apigee/customer/conf/license.txt。
ライセンス ファイルが有効な場合は、管理サーバーが有効期限と許可されたメッセージを検証します。
プロセッサ(MP)数。いずれかのライセンス設定が期限切れの場合は、
次の場所: /opt/apigee/var/log/edge-management-server/logs
その場合は、移行の詳細について Apigee Edge サポートにお問い合わせください。
まだライセンスをお持ちでない場合は、Apigee セールスまでお問い合わせください。