প্রাইভেট ক্লাউড v4.18.01 এর জন্য এজ
হার্ডওয়্যার প্রয়োজনীয়তা
একটি উত্পাদন গ্রেড পরিবেশে একটি উচ্চ উপলব্ধ পরিকাঠামোর জন্য আপনাকে অবশ্যই নিম্নলিখিত ন্যূনতম হার্ডওয়্যার প্রয়োজনীয়তাগুলি পূরণ করতে হবে৷ ইনস্টলেশন টপোলজিতে বর্ণিত সমস্ত ইনস্টলেশন পরিস্থিতির জন্য, নিম্নলিখিত সারণীগুলি ইনস্টলেশনের উপাদানগুলির জন্য ন্যূনতম হার্ডওয়্যারের প্রয়োজনীয়তা তালিকাভুক্ত করে।
এই টেবিলগুলিতে হার্ড ডিস্কের প্রয়োজনীয়তাগুলি অপারেটিং সিস্টেমের জন্য প্রয়োজনীয় হার্ড ডিস্কের স্থান ছাড়াও রয়েছে। আপনার অ্যাপ্লিকেশান এবং নেটওয়ার্ক ট্র্যাফিকের উপর নির্ভর করে, আপনার ইনস্টলেশনের জন্য নীচে তালিকাভুক্তির চেয়ে বেশি বা কম সংস্থান প্রয়োজন হতে পারে।
| ইনস্টলেশন উপাদান | RAM | সিপিইউ | ন্যূনতম হার্ড ডিস্ক |
|---|---|---|---|
| ক্যাসান্ড্রা | 16GB | 8-কোর | SSD বা দ্রুত HDD সহ 250GB স্থানীয় স্টোরেজ 2000 IOPS সমর্থন করে |
| একই মেশিনে মেসেজ প্রসেসর/রাউটার | 16GB | 8-কোর | 100GB |
| বিশ্লেষণ - একই সার্ভারে পোস্টগ্রেস/কিউপিড (উৎপাদনের জন্য প্রস্তাবিত নয়) | 16GB * | 8-কোর * | 500GB - 1TB ** নেটওয়ার্ক স্টোরেজ *** , বিশেষত SSD ব্যাকএন্ড সহ, 1000 IOPS বা উচ্চতর সমর্থন করে * |
| বিশ্লেষণ - পোস্টগ্রেস স্বতন্ত্র | 16GB * | 8-কোর * | 500GB - 1TB ** নেটওয়ার্ক স্টোরেজ *** , বিশেষত SSD ব্যাকএন্ড সহ, 1000 IOPS বা উচ্চতর সমর্থন করে * |
| বিশ্লেষণ - Qpid স্বতন্ত্র | 8GB | 4-কোর | SSD বা দ্রুত HDD সহ 30GB - 50GB স্থানীয় স্টোরেজ 250 TPS-এর বেশি ইনস্টলেশনের জন্য, 1000 IOPS সমর্থনকারী স্থানীয় স্টোরেজ সহ HDD সুপারিশ করা হয়। ডিফল্ট Qpid সারির আকার হল 20 GB৷ আপনি যদি আরো ক্ষমতা যোগ করতে চান, অতিরিক্ত Qpid নোড যোগ করুন. |
| অন্যান্য (ওপেনএলডিএপি, ইউআই, ম্যানেজমেন্ট সার্ভার) | 4GB | 2-কোর | 60GB |
* থ্রুপুটের উপর ভিত্তি করে পোস্টগ্রেস সিস্টেমের প্রয়োজনীয়তা সামঞ্জস্য করুন:
- 250 টিপিএসের কম: 8 জিবি, 4-কোর ম্যানেজড নেটওয়ার্ক স্টোরেজের সাথে বিবেচনা করা যেতে পারে *** 1000 আইওপিএস সমর্থন করে বা
- 250 টিপিএসের চেয়ে বেশি: 16 জিবি, 8-কোর, পরিচালিত নেটওয়ার্ক স্টোরেজ ** *
- 1000 টিপিএসের চেয়ে 1000 IOPS বা উচ্চতর সমর্থন করে: 16GB, 8-কোর, পরিচালিত নেটওয়ার্ক স্টোরেজ *** সমর্থন করে 2000 IOPS বা তার বেশি
- 2000 TPS: 32GB, 16-কোর, পরিচালিত নেটওয়ার্ক স্টোরেজ *** 2000 IOPS বা উচ্চতর সমর্থন করে
- 4000 টিপিএসের চেয়ে বড়: 64GB, 32-কোর, পরিচালিত নেটওয়ার্ক স্টোরেজ *** 4000 IOPS বা উচ্চতর সমর্থন করে
** পোস্টগ্রেস হার্ড ডিস্কের মান এজ দ্বারা ক্যাপচার করা আউট অফ দ্য বক্স বিশ্লেষণের উপর ভিত্তি করে। আপনি যদি বিশ্লেষণ ডেটাতে কাস্টম মান যোগ করেন, তাহলে এই মানগুলি সেই অনুযায়ী বৃদ্ধি করা উচিত। প্রয়োজনীয় সঞ্চয়স্থান অনুমান করতে নিম্নলিখিত সূত্রটি ব্যবহার করুন:
bytes of storage needed =
(# bytes of analytics data/request) *
(requests/second) *
(seconds/hour) *
(hours of peak usage/day) *
(days/month) *
(months of data retention)
যেমন:
(2K bytes) * (100 req/sec) * (3600 secs/hr) * (18 peak hours/day) * (30 days/month) * (3 months retention)
= 1,194,393,600,000 bytes or 1194.4 GB
*** Postgresql ডাটাবেসের জন্য নেটওয়ার্ক স্টোরেজ সুপারিশ করা হয় কারণ:
- এটি প্রয়োজনে এবং যখন প্রয়োজন হয় তখন গতিশীলভাবে স্টোরেজ আকার স্কেল করার ক্ষমতা দেয়।
- নেটওয়ার্ক IOPS আজকের বেশিরভাগ পরিবেশ/স্টোরেজ/নেটওয়ার্ক সাবসিস্টেমগুলিতে ফ্লাইতে সামঞ্জস্য করা যেতে পারে।
- স্টোরেজ স্তরের স্ন্যাপশটগুলি ব্যাকআপ এবং পুনরুদ্ধার সমাধানের অংশ হিসাবে সক্ষম করা যেতে পারে।
এছাড়াও, আপনি যদি মনিটাইজেশন পরিষেবাগুলি ইনস্টল করতে চান তবে নিম্নলিখিত হার্ডওয়্যার প্রয়োজনীয়তাগুলি তালিকাভুক্ত করে:
| নগদীকরণ সঙ্গে উপাদান | RAM | সিপিইউ | হার্ডডিস্ক |
|---|---|---|---|
| ম্যানেজমেন্ট সার্ভার (নগদীকরণ পরিষেবা সহ) | 8GB | 4-কোর | 60GB |
| বিশ্লেষণ - একই সার্ভারে পোস্টগ্রেস/কিউপিড | 16GB | 8-কোর | 500GB - 1TB নেটওয়ার্ক স্টোরেজ, বিশেষত SSD ব্যাকএন্ড সহ, 1000 IOPS বা উচ্চতর সমর্থন করে, অথবা উপরের টেবিল থেকে নিয়মটি ব্যবহার করুন। |
| বিশ্লেষণ - পোস্টগ্রেস স্বতন্ত্র | 16GB | 8-কোর | 500GB - 1TB নেটওয়ার্ক স্টোরেজ, বিশেষত SSD ব্যাকএন্ড সহ, 1000 IOPS বা উচ্চতর সমর্থন করে, অথবা উপরের টেবিল থেকে নিয়মটি ব্যবহার করুন। |
| বিশ্লেষণ - Qpid স্বতন্ত্র | 8GB | 4-কোর | SSD বা দ্রুত HDD সহ 40GB - 500GB স্থানীয় স্টোরেজ 250 TPS-এর বেশি ইনস্টলেশনের জন্য, 1000 IOPS সমর্থনকারী স্থানীয় স্টোরেজ সহ HDD সুপারিশ করা হয়। |
আপনি যদি API BaaS ইনস্টল করতে চান তবে নিম্নোক্ত হার্ডওয়্যার প্রয়োজনীয়তাগুলি তালিকাভুক্ত করা হয়েছে:
| API BaaS কম্পোনেন্ট | RAM | সিপিইউ | হার্ডডিস্ক |
|---|---|---|---|
| ইলাস্টিক সার্চ * | 8GB | 4-কোর | 60-80GB |
| API BaaS স্ট্যাক * | 8GB | 4-কোর | 60-80GB |
| API BaaS পোর্টাল | 1 জিবি | 2-কোর | 20GB |
| ক্যাসান্ড্রা ** | 16GB | 8-কোর | SSD বা দ্রুত HDD সহ 250GB স্থানীয় স্টোরেজ 2000 IOPS সমর্থন করে |
* আপনি একই নোডে ইলাস্টিক সার্চ এবং API BaaS স্ট্যাক ইনস্টল করতে পারেন। আপনি যদি তা করেন, তাহলে 4GB মেমরি (ডিফল্ট) ব্যবহার করতে ইলাস্টিক সার্চ কনফিগার করুন। যদি ইলাস্টিক সার্চ তার নিজস্ব নোডে ইনস্টল করা থাকে, তাহলে 6GB মেমরি ব্যবহার করার জন্য এটি কনফিগার করুন।
** ঐচ্ছিক; সাধারণত আপনি এজ এবং API BaaS পরিষেবা উভয়ের জন্য একই ক্যাসান্দ্রা ক্লাস্টার ব্যবহার করেন।
অপারেটিং সিস্টেম এবং তৃতীয় পক্ষের সফ্টওয়্যার প্রয়োজনীয়তা
এই ইনস্টলেশন নির্দেশাবলী এবং সরবরাহকৃত ইনস্টলেশন ফাইলগুলি সমর্থিত সফ্টওয়্যার এবং সমর্থিত সংস্করণগুলিতে তালিকাভুক্ত অপারেটিং সিস্টেম এবং তৃতীয় পক্ষের সফ্টওয়্যারগুলিতে পরীক্ষা করা হয়েছে৷
অ্যাপিজি ব্যবহারকারী তৈরি করা হচ্ছে
ইনস্টলেশন পদ্ধতি 'apigee' নামে একটি ইউনিক্স সিস্টেম ব্যবহারকারী তৈরি করে। এজ ডিরেক্টরি এবং ফাইলগুলি 'এপিজি'-এর মালিকানাধীন, যেমন এজ প্রক্রিয়াগুলি। এর মানে এজ উপাদানগুলি 'এপিজি' ব্যবহারকারী হিসাবে চালিত হয়। প্রয়োজন হলে, আপনি একটি ভিন্ন ব্যবহারকারী হিসাবে উপাদান চালাতে পারেন।
ইনস্টলেশন ডিরেক্টরি
ডিফল্টরূপে, ইনস্টলার /opt/apigee ডিরেক্টরিতে সমস্ত ফাইল লেখে। আপনি এই ডিরেক্টরি অবস্থান পরিবর্তন করতে পারবেন না. যদিও আপনি এই ডিরেক্টরিটি পরিবর্তন করতে পারবেন না, আপনি নীচে বর্ণিত হিসাবে /opt/apigee অন্য অবস্থানে ম্যাপ করার জন্য একটি সিমলিঙ্ক তৈরি করতে পারেন।
এই গাইডের নির্দেশাবলীতে, ইনস্টলেশন ডিরেক্টরিটি /opt/apigee হিসাবে উল্লেখ করা হয়েছে।
/opt/apigee থেকে একটি সিমলিঙ্ক তৈরি করা হচ্ছে
আপনি সিমলিংক তৈরি করার আগে, আপনাকে প্রথমে "apigee" নামে একটি ব্যবহারকারী এবং গ্রুপ তৈরি করতে হবে। এটি এজ ইনস্টলার দ্বারা তৈরি একই গ্রুপ এবং ব্যবহারকারী।
সিমলিঙ্ক তৈরি করতে, bootstrap_4.18.01.sh ফাইলটি ডাউনলোড করার আগে এই পদক্ষেপগুলি সম্পাদন করুন। আপনাকে অবশ্যই রুট হিসাবে এই সমস্ত পদক্ষেপগুলি সম্পাদন করতে হবে:
- "apigee" ব্যবহারকারী এবং গোষ্ঠী তৈরি করুন:
groupadd -r apigee > useradd -r -g apigee -d /opt/apigee -s /sbin/nologin -c "Apigee platform user" apigee
/opt/apigeeথেকে আপনার পছন্দসই ইনস্টল রুটে একটি সিমলিঙ্ক তৈরি করুন:ln -Ts /srv/myInstallDir /opt/apigee
যেখানে /srv/myInstallDir হল এজ ফাইলগুলির পছন্দসই অবস্থান।
- "apigee" ব্যবহারকারীর কাছে ইনস্টল রুট এবং সিমলিংকের মালিকানা পরিবর্তন করুন:
chown -h apigee:apigee /srv/myInstallDir /opt/apigee
জাভা
ইনস্টলেশনের আগে আপনার প্রতিটি মেশিনে জাভা 1.8 এর একটি সমর্থিত সংস্করণ ইনস্টল করা প্রয়োজন। সমর্থিত JDK সমর্থিত সফ্টওয়্যার এবং সমর্থিত সংস্করণে তালিকাভুক্ত করা হয়েছে।
নিশ্চিত করুন যে JAVA_HOME ইনস্টলেশনটি সম্পাদনকারী ব্যবহারকারীর জন্য JDK-এর মূলের দিকে নির্দেশ করে৷
SELinux
SELinux-এর জন্য আপনার সেটিংসের উপর নির্ভর করে, এজ এজ উপাদানগুলি ইনস্টল এবং শুরু করার ক্ষেত্রে সমস্যার সম্মুখীন হতে পারে। প্রয়োজনে, আপনি SELinux নিষ্ক্রিয় করতে পারেন বা ইনস্টলেশনের সময় এটিকে অনুমতিমূলক মোডে সেট করতে পারেন, এবং তারপরে ইনস্টলেশনের পরে পুনরায় সক্রিয় করতে পারেন। আরও জানতে এজ অ্যাপিজি-সেটআপ ইউটিলিটি ইনস্টল করুন দেখুন।
নেটওয়ার্ক সেটিং
ইনস্টলেশনের আগে নেটওয়ার্ক সেটিং চেক করার পরামর্শ দেওয়া হয়। ইনস্টলার আশা করে যে সমস্ত মেশিনে নির্দিষ্ট আইপি ঠিকানা রয়েছে। সেটিং যাচাই করতে নিম্নলিখিত কমান্ডগুলি ব্যবহার করুন:
-
hostnameমেশিনের নাম প্রদান করে -
hostname -iহোস্টনামের আইপি ঠিকানা প্রদান করে যা অন্য মেশিন থেকে ঠিকানা দেওয়া যেতে পারে।
আপনার অপারেটিং সিস্টেমের ধরন এবং সংস্করণের উপর নির্ভর করে, হোস্টনাম সঠিকভাবে সেট করা না থাকলে আপনাকে /etc/hosts এবং /etc/sysconfig/network সম্পাদনা করতে হতে পারে। আরও তথ্যের জন্য আপনার নির্দিষ্ট অপারেটিং সিস্টেমের ডকুমেন্টেশন দেখুন।
একটি সার্ভারে একাধিক ইন্টারফেস কার্ড থাকলে, "হোস্টনাম -i" কমান্ডটি IP ঠিকানাগুলির একটি স্থান-বিচ্ছিন্ন তালিকা প্রদান করে। ডিফল্টরূপে, এজ ইনস্টলারটি ফেরত দেওয়া প্রথম আইপি ঠিকানা ব্যবহার করে, যা সব পরিস্থিতিতে সঠিক নাও হতে পারে। একটি বিকল্প হিসাবে, আপনি ইনস্টলেশন কনফিগারেশন ফাইলে নিম্নলিখিত বৈশিষ্ট্য সেট করতে পারেন:
ENABLE_DYNAMIC_HOSTIP=y
"y" তে সেট করা সম্পত্তির সাথে, ইনস্টলার আপনাকে ইনস্টলের অংশ হিসাবে ব্যবহার করার জন্য IP ঠিকানা নির্বাচন করতে অনুরোধ করে। ডিফল্ট মান হল "n"। আরও জন্য এজ কনফিগারেশন ফাইল রেফারেন্স দেখুন।
টিসিপি মোড়ক
TCP Wrappers কিছু পোর্টের যোগাযোগ অবরুদ্ধ করতে পারে এবং OpenLDAP, Postgres, এবং Cassandra ইনস্টলেশনকে প্রভাবিত করতে পারে। এই নোডগুলিতে, /etc/hosts.allow এবং /etc/hosts.deny পরীক্ষা করে নিশ্চিত করুন যে প্রয়োজনীয় OpenLDAP, Postgres, এবং Cassandra পোর্টগুলিতে কোনও পোর্ট সীমাবদ্ধতা নেই।
iptables
যাচাই করুন যে প্রয়োজনীয় এজ পোর্টগুলিতে নোডগুলির মধ্যে সংযোগ রোধ করে এমন কোনও iptables নীতি নেই৷ প্রয়োজনে, আপনি কমান্ড ব্যবহার করে ইনস্টলেশনের সময় iptables বন্ধ করতে পারেন:
sudo/etc/init.d/iptables stop
CentOS 7.x-এ:
systemctl stop firewalld
নিশ্চিত করুন এজ রাউটার /etc/rc.d/init.d/function-এ অ্যাক্সেস করতে পারে
এজ রাউটার এবং BaaS পোর্টাল নোডগুলি Nginx রাউটার ব্যবহার করে এবং /etc/rc.d/init.d/functions এ পড়ার অ্যাক্সেস প্রয়োজন।
যদি আপনার নিরাপত্তা প্রক্রিয়ার জন্য আপনাকে /etc/rc.d/init.d/functions এ অনুমতি সেট করতে হয়, তাহলে সেগুলিকে 700 এ সেট করবেন না অন্যথায় রাউটারটি শুরু করতে ব্যর্থ হবে। /etc/rc.d/init.d/functions এ পড়ার অ্যাক্সেসের অনুমতি দেওয়ার জন্য অনুমতিগুলি 744 এ সেট করা যেতে পারে।
ক্যাসান্ড্রা
সমস্ত ক্যাসান্ড্রা নোডগুলিকে একটি রিংয়ের সাথে সংযুক্ত করতে হবে। নির্ভরযোগ্যতা এবং দোষ সহনশীলতা নিশ্চিত করতে ক্যাসান্ড্রা একাধিক নোডে ডেটা প্রতিলিপি সংরক্ষণ করে। প্রতিটি এজ কীস্পেসের জন্য প্রতিলিপি কৌশল ক্যাসান্ড্রা নোডগুলি নির্ধারণ করে যেখানে প্রতিলিপিগুলি স্থাপন করা হয়। আরও তথ্যের জন্য, ক্যাসান্দ্রা প্রতিলিপি ফ্যাক্টর এবং সামঞ্জস্য স্তর সম্পর্কে দেখুন।
উপলব্ধ মেমরির উপর ভিত্তি করে ক্যাসান্ড্রা স্বয়ংক্রিয়ভাবে তার জাভা হিপের আকার সামঞ্জস্য করে। আরও জানতে, টিউনিং জাভা রিসোর্স দেখুন। কর্মক্ষমতা হ্রাস বা উচ্চ মেমরি খরচ ঘটনা.
প্রাইভেট ক্লাউডের জন্য এজ ইনস্টল করার পরে, আপনি /opt/apigee/apigee-cassandra/conf/cassandra.yaml ফাইলটি পরীক্ষা করে পরীক্ষা করে দেখতে পারেন যে ক্যাসান্দ্রা সঠিকভাবে কনফিগার করা হয়েছে। উদাহরণস্বরূপ, নিশ্চিত করুন যে প্রাইভেট ক্লাউড ইনস্টলেশন স্ক্রিপ্টের জন্য এজ নিম্নলিখিত বৈশিষ্ট্যগুলি সেট করেছে:
-
cluster_name -
initial_token -
partitioner -
seeds -
listen_address -
rpc_address -
snitch
PostgreSQL ডাটাবেস
আপনি এজ ইনস্টল করার পরে, আপনি আপনার সিস্টেমে উপলব্ধ RAM এর পরিমাণের উপর ভিত্তি করে নিম্নলিখিত PostgreSQL ডাটাবেস সেটিংস সামঞ্জস্য করতে পারেন:
conf_postgresql_shared_buffers = 35% of RAM # min 128kB conf_postgresql_effective_cache_size = 45% of RAM conf_postgresql_work_mem = 512MB # min 64kB
এই মান সেট করতে:
- postgresql.properties ফাইল সম্পাদনা করুন:
vi /opt/apigee/customer/application/postgresql.properties
যদি ফাইলটি বিদ্যমান না থাকে তবে এটি তৈরি করুন।
- উপরে তালিকাভুক্ত বৈশিষ্ট্য সেট করুন.
- আপনার সম্পাদনা সংরক্ষণ করুন.
- PostgreSQL ডাটাবেস পুনরায় আরম্ভ করুন:
/opt/apigee/apigee-service/bin/apigee-service apigee-postgresql restart
সিস্টেম সীমা
নিশ্চিত করুন যে আপনি ক্যাসান্ড্রা এবং বার্তা প্রসেসর নোডগুলিতে নিম্নলিখিত সিস্টেম সীমা সেট করেছেন:
- ক্যাসান্ড্রা নোডগুলিতে,
/etc/security/limits.d/90-apigee-edge-limits.confএ ইনস্টলেশন ব্যবহারকারীর জন্য সফট এবং হার্ড মেমলক, নোফাইল এবং ঠিকানার স্থান (যেমন) সীমা সেট করুন (ডিফল্ট হল "apigee") নীচে:apigee soft memlock unlimited apigee hard memlock unlimited apigee soft nofile 32768 apigee hard nofile 65536 apigee soft as unlimited apigee hard as unlimited
- মেসেজ প্রসেসর নোডগুলিতে, নীচে দেখানো হিসাবে
/etc/security/limits.d/90-apigee-edge-limits.confএ খোলা ফাইল বর্ণনাকারীর সর্বাধিক সংখ্যা 64K সেট করুন:apigee soft nofile 32768 apigee hard nofile 65536
প্রয়োজনে আপনি সেই সীমা বাড়াতে পারেন। উদাহরণস্বরূপ, যদি আপনি একটি বড় সংখ্যক অস্থায়ী ফাইল যেকোন সময়ে খোলা থাকে।
jsvc
API BaaS ব্যবহার করার জন্য "jsvc" একটি পূর্বশর্ত। আপনি যখন API BaaS ইনস্টল করেন তখন সংস্করণ 1.0.15-dev ইনস্টল করা হয়।
নেটওয়ার্ক নিরাপত্তা সেবা (NSS)
নেটওয়ার্ক সিকিউরিটি সার্ভিসেস (এনএসএস) হল লাইব্রেরির একটি সেট যা নিরাপত্তা-সক্ষম ক্লায়েন্ট এবং সার্ভার অ্যাপ্লিকেশনগুলির বিকাশকে সমর্থন করে। আপনি নিশ্চিত করুন যে আপনি NSS v3.19, বা তার পরে ইনস্টল করেছেন।
আপনার বর্তমান সংস্করণ পরীক্ষা করতে:
yum info nss
NSS আপডেট করতে:
yum update nss
আরও তথ্যের জন্য RedHat থেকে এই নিবন্ধটি দেখুন।
NSCD (Name Service Cache Daemon) ব্যবহার করার সময় IPv6-এ DNS লুকআপ অক্ষম করুন
আপনি যদি NSCD (Name Service Cache Daemon) ইনস্টল এবং সক্ষম করে থাকেন তাহলে মেসেজ প্রসেসর দুটি DNS লুকআপ তৈরি করে: একটি IPv4 এর জন্য এবং একটি IPv6 এর জন্য। NSCD ব্যবহার করার সময় আপনার IPv6 এ DNS লুকআপ অক্ষম করা উচিত।
IPv6 এ DNS লুকআপ নিষ্ক্রিয় করতে:
- প্রতিটি বার্তা প্রসেসর নোডে,
/etc/nscd.confসম্পাদনা করুন - নিম্নলিখিত সম্পত্তি সেট করুন:
enable-cache hosts no
RedHat/CentOS 7 এর জন্য Google ক্লাউড প্ল্যাটফর্মে IPv6 অক্ষম করুন
আপনি যদি Google ক্লাউড প্ল্যাটফর্মে RedHat 7 বা CentOS 7-এ এজ ইনস্টল করেন, তাহলে আপনাকে অবশ্যই সমস্ত Qpid নোডে IPv6 অক্ষম করতে হবে।
IPv6 নিষ্ক্রিয় করার নির্দেশাবলীর জন্য আপনার নির্দিষ্ট OS সংস্করণের জন্য RedHat বা CentOS ডকুমেন্টেশন দেখুন। উদাহরণস্বরূপ, আপনি করতে পারেন:
- একটি সম্পাদকে
/etc/hostsখুলুন। - মন্তব্য করার জন্য নিচের লাইনের একটি কলামে একটি "#" অক্ষর সন্নিবেশ করুন:
#::1 localhost localhost.localdomain localhost6 localhost6.localdomain6
- ফাইলটি সংরক্ষণ করুন।
AWS AMI
আপনি যদি Red Hat Enterprise Linux 7.x-এর জন্য AWS Amazon Machine Image (AMI) এ এজ ইনস্টল করছেন, তাহলে আপনাকে প্রথমে নিম্নলিখিত কমান্ডটি চালাতে হবে:
yum-config-manager --enable rhui-REGION-rhel-server-extras rhui-REGION-rhel-server-optional
টুলস
EL5 বা EL6 দ্বারা প্রদত্ত স্ট্যান্ডার্ড সংস্করণে ইনস্টলার নিম্নলিখিত UNIX সরঞ্জামগুলি ব্যবহার করে৷
awk | এক্সপ্রেস | libxslt | আরপিএম | আনজিপ |
ভিত্তি নাম | grep | lua-সকেট | rpm2cpio | useradd |
বাশ | হোস্টনাম | ls | sed | wc |
bc | আইডি | নেট-সরঞ্জাম | sudo | wget |
কার্ল | libaio | পার্ল (procps থেকে) | tar | xerces-গ |
| সাইরাস-সাসল | libdb4 | pgrep (procps থেকে) | tr | yum |
তারিখ | libdb-cxx | পিএস | uuid | chkconfig |
| dirname | libibverbs | pwd | uname | |
| প্রতিধ্বনি | librdmacm | অজগর |
ntpdate
সার্ভারের সময়গুলি সিঙ্ক্রোনাইজ করার পরামর্শ দেওয়া হয়৷ যদি ইতিমধ্যে কনফিগার করা না থাকে, ntpdate ইউটিলিটি এই উদ্দেশ্যটি পরিবেশন করতে পারে, যা সার্ভারগুলি সময় সিঙ্ক্রোনাইজ করা হয়েছে কিনা তা যাচাই করে। ইউটিলিটি ইনস্টল করতে আপনি yum install ntp ব্যবহার করতে পারেন। এটি OpenLDAP সেটআপের প্রতিলিপি করার জন্য বিশেষভাবে উপযোগী। মনে রাখবেন আপনি UTC-তে সার্ভার টাইম জোন সেট আপ করেছেন।
openldap 2.4
অন-প্রিমিসেস ইনস্টলেশনের জন্য OpenLDAP 2.4 প্রয়োজন। আপনার সার্ভারে যদি ইন্টারনেট সংযোগ থাকে, তাহলে এজ ইনস্টল স্ক্রিপ্ট ডাউনলোড করে ওপেনএলডিএপি ইনস্টল করে। আপনার সার্ভারে ইন্টারনেট সংযোগ না থাকলে, এজ ইনস্টল স্ক্রিপ্ট চালানোর আগে আপনাকে অবশ্যই OpenLDAP ইনস্টল করা আছে কিনা তা নিশ্চিত করতে হবে। RHEL/CentOS-এ, আপনি OpenLDAP ইনস্টল করতে yum install openldap-clients openldap-servers চালাতে পারেন।
13-হোস্ট ইনস্টলেশনের জন্য এবং দুটি ডেটা সেন্টার সহ 12-হোস্ট ইনস্টলেশনের জন্য, আপনার OpenLDAP অনুলিপি প্রয়োজন কারণ একাধিক নোড OpenLDAP হোস্ট করছে।
ফায়ারওয়াল এবং ভার্চুয়াল হোস্ট
virtual শব্দটি সাধারণত আইটি অঙ্গনে ওভারলোড হয়ে যায় এবং তাই এটি প্রাইভেট ক্লাউড স্থাপনা এবং ভার্চুয়াল হোস্টের জন্য একটি এপিজি এজ এর সাথে। স্পষ্ট করার জন্য, virtual শব্দটির দুটি প্রাথমিক ব্যবহার রয়েছে:
- ভার্চুয়াল মেশিন (VM) : প্রয়োজন নেই, তবে কিছু স্থাপনা তাদের Apigee উপাদানগুলির জন্য বিচ্ছিন্ন সার্ভার তৈরি করতে VM প্রযুক্তি ব্যবহার করে। ভিএম হোস্ট, শারীরিক হোস্টের মতো, নেটওয়ার্ক ইন্টারফেস এবং ফায়ারওয়াল থাকতে পারে।
- ভার্চুয়াল হোস্ট : ওয়েব এন্ডপয়েন্ট, একটি অ্যাপাচি ভার্চুয়াল হোস্টের অনুরূপ।
একটি VM-এর একটি রাউটার একাধিক ভার্চুয়াল হোস্টকে প্রকাশ করতে পারে (যতক্ষণ তারা তাদের হোস্ট উপনামে বা তাদের ইন্টারফেস পোর্টে একে অপরের থেকে পৃথক হয়)।
নামকরণের উদাহরণ হিসাবে, একটি একক শারীরিক সার্ভার A "VM1" এবং "VM2" নামে দুটি VM চালাতে পারে। ধরা যাক "VM1" একটি ভার্চুয়াল ইথারনেট ইন্টারফেস উন্মোচন করে, যা VM-এর ভিতরে "eth0" নামে পরিচিত হয় এবং যা ভার্চুয়ালাইজেশন যন্ত্রপাতি বা নেটওয়ার্ক DHCP সার্ভার দ্বারা IP ঠিকানা 111.111.111.111 বরাদ্দ করা হয়; এবং তারপর অনুমান করুন VM2 একটি ভার্চুয়াল ইথারনেট ইন্টারফেস প্রকাশ করে যার নাম "eth0" এবং এটি একটি IP ঠিকানা 111.111.111.222 বরাদ্দ করে।
আমাদের দুটি VM-এর প্রতিটিতে একটি Apigee রাউটার চলমান থাকতে পারে। রাউটারগুলি এই অনুমানমূলক উদাহরণের মতো ভার্চুয়াল হোস্টের শেষ পয়েন্টগুলি প্রকাশ করে:
VM1 এ Apigee রাউটার তার eth0 ইন্টারফেসে তিনটি ভার্চুয়াল হোস্ট প্রকাশ করে (যার কিছু নির্দিষ্ট আইপি ঠিকানা আছে), api.mycompany.com:80 , api.mycompany.com:443 , এবং test.mycompany.com:80 ।
VM2-এর রাউটার api.mycompany.com:80 (VM1 দ্বারা উন্মোচিত একই নাম এবং পোর্ট) প্রকাশ করে।
শারীরিক হোস্টের অপারেটিং সিস্টেমে একটি নেটওয়ার্ক ফায়ারওয়াল থাকতে পারে; যদি তাই হয়, সেই ফায়ারওয়ালটিকে অবশ্যই ভার্চুয়ালাইজড ইন্টারফেসে ( 111.111.111.111:{80, 443} এবং 111.111.111.222:80 ) উন্মুক্ত পোর্টগুলির জন্য TCP ট্র্যাফিক পাস করতে কনফিগার করতে হবে। উপরন্তু, প্রতিটি VM-এর অপারেটিং সিস্টেম তার eth0 ইন্টারফেসে নিজস্ব ফায়ারওয়াল প্রদান করতে পারে এবং এগুলিকেও পোর্ট 80 এবং 443 ট্র্যাফিক সংযোগের অনুমতি দিতে হবে।
বেসপাথ হল তৃতীয় উপাদান যা আপনি মোতায়েন করেছেন এমন বিভিন্ন API প্রক্সিতে API কল রাউটিং করার সাথে জড়িত। এপিআই প্রক্সি বান্ডেলগুলির যদি আলাদা বেসপাথ থাকে তবে একটি এন্ডপয়েন্ট শেয়ার করতে পারে৷ উদাহরণস্বরূপ, একটি বেসপাথকে http://api.mycompany.com:80/ হিসাবে সংজ্ঞায়িত করা যেতে পারে এবং অন্যটি http://api.mycompany.com:80/salesdemo হিসাবে সংজ্ঞায়িত করা যেতে পারে।
এই ক্ষেত্রে, আপনার একটি লোড ব্যালেন্সার বা ট্র্যাফিক ডিরেক্টর প্রয়োজন যেটি http://api.mycompany.com:80/ দুটি আইপি ঠিকানার মধ্যে ট্র্যাফিক বিভক্ত করে (VM1-এ 111.111.111.111 এবং VM2-এ 111.111.111.222 )। এই ফাংশনটি আপনার নির্দিষ্ট ইনস্টলেশনের জন্য নির্দিষ্ট, এবং আপনার স্থানীয় নেটওয়ার্কিং গ্রুপ দ্বারা কনফিগার করা হয়েছে।
আপনি যখন একটি API স্থাপন করেন তখন বেসপাথ সেট করা হয়। উপরের উদাহরণ থেকে, আপনি দুটি API, mycompany এবং testmycompany , ভার্চুয়াল হোস্ট সহ mycompany-org সংগঠনের জন্য স্থাপন করতে পারেন যার হোস্ট উপনাম api.mycompany.com এবং পোর্ট সেট 80 । আপনি যদি স্থাপনায় একটি বেসপাথ ঘোষণা না করেন, তাহলে রাউটার জানে না কোন API-এ ইনকামিং অনুরোধ পাঠাতে হবে।
যাইহোক, যদি আপনি API testmycompany /salesdemo এর বেস ইউআরএল সহ স্থাপন করেন, তাহলে ব্যবহারকারীরা http://api.mycompany.com:80/salesdemo ব্যবহার করে সেই API অ্যাক্সেস করে। আপনি যদি আপনার API mycompany-এর বেস URL এর সাথে স্থাপন করেন / আপনার ব্যবহারকারীরা http://api.mycompany.com:80/ URL এর মাধ্যমে API অ্যাক্সেস করবেন।
প্রান্ত পোর্ট প্রয়োজনীয়তা
ফায়ারওয়াল পরিচালনা করার প্রয়োজন শুধু ভার্চুয়াল হোস্টের বাইরে চলে যায়; VM এবং ভৌত হোস্ট ফায়ারওয়াল উভয়ই উপাদানগুলির দ্বারা একে অপরের সাথে যোগাযোগের জন্য প্রয়োজনীয় পোর্টগুলির জন্য ট্র্যাফিকের অনুমতি দিতে হবে।
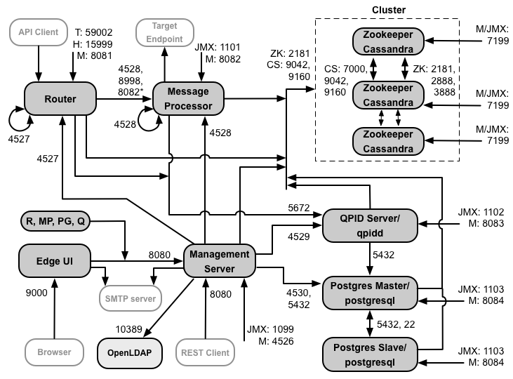
নিম্নলিখিত চিত্রটি প্রতিটি প্রান্ত উপাদানের জন্য পোর্টের প্রয়োজনীয়তা দেখায়:

এই ডায়াগ্রামে নোট:
- * মেসেজ প্রসেসরে পোর্ট 8082 শুধুমাত্র রাউটার দ্বারা অ্যাক্সেসের জন্য খোলা থাকতে হবে যখন আপনি রাউটার এবং মেসেজ প্রসেসরের মধ্যে TLS/SSL কনফিগার করেন। আপনি যদি রাউটার এবং মেসেজ প্রসেসরের মধ্যে TLS/SSL কনফিগার না করেন, ডিফল্ট কনফিগারেশন, পোর্ট 8082 এখনও মেসেজ প্রসেসরে কম্পোনেন্ট পরিচালনা করার জন্য খোলা থাকতে হবে, কিন্তু রাউটারের এটিতে অ্যাক্সেসের প্রয়োজন নেই।
- "M" দ্বারা উপসর্গযুক্ত পোর্টগুলি উপাদান পরিচালনা করার জন্য ব্যবহৃত পোর্ট এবং উপাদানটিতে অবশ্যই খোলা থাকতে হবে এবং ম্যানেজমেন্ট সার্ভার দ্বারা অ্যাক্সেসের জন্য অবশ্যই উপাদানটিতে খোলা থাকতে হবে।
- নিম্নলিখিত উপাদানগুলির জন্য ম্যানেজমেন্ট সার্ভারে পোর্ট 8080 অ্যাক্সেসের প্রয়োজন: রাউটার, মেসেজ প্রসেসর, UI, Postgres এবং Qpid।
- একটি মেসেজ প্রসেসরকে অবশ্যই পোর্ট 4528 তার ব্যবস্থাপনা পোর্ট হিসাবে খুলতে হবে। আপনার যদি একাধিক মেসেজ প্রসেসর থাকে, তবে তারা অবশ্যই পোর্ট 4528 এর মাধ্যমে একে অপরকে অ্যাক্সেস করতে সক্ষম হবে (মেসেজ প্রসেসরে পোর্ট 4528 এর জন্য উপরের চিত্রে লুপ তীর দ্বারা নির্দেশিত)। আপনার একাধিক ডেটা সেন্টার থাকলে, পোর্টটি অবশ্যই সমস্ত ডেটা সেন্টারের সমস্ত মেসেজ প্রসেসর থেকে অ্যাক্সেসযোগ্য হতে হবে।
- যদিও এটির প্রয়োজন নেই, আপনি যেকোনো বার্তা প্রসেসরের মাধ্যমে অ্যাক্সেসের জন্য রাউটারে পোর্ট 4527 খুলতে পারেন। অন্যথায়, আপনি বার্তা প্রসেসর লগ ফাইলগুলিতে ত্রুটি বার্তা দেখতে পারেন।
- একটি রাউটারকে তার ব্যবস্থাপনা পোর্ট হিসাবে পোর্ট 4527 খুলতে হবে। আপনার যদি একাধিক রাউটার থাকে, তবে তারা অবশ্যই পোর্ট 4527 এর মাধ্যমে একে অপরকে অ্যাক্সেস করতে সক্ষম হবে (রাউটারের পোর্ট 4527 এর জন্য উপরের চিত্রে লুপ তীর দ্বারা নির্দেশিত)।
- এজ UI-এর রাউটারে অ্যাক্সেস প্রয়োজন, API প্রক্সি দ্বারা উন্মুক্ত পোর্টগুলিতে, ট্রেস টুলে পাঠান বোতামটিকে সমর্থন করতে।
- ম্যানেজমেন্ট সার্ভারের জন্য ক্যাসান্ড্রা নোডের জেএমএক্স পোর্টে অ্যাক্সেস প্রয়োজন।
- JMX পোর্টগুলিতে অ্যাক্সেস একটি ব্যবহারকারীর নাম/পাসওয়ার্ডের প্রয়োজনের জন্য কনফিগার করা যেতে পারে। আরও তথ্যের জন্য কীভাবে মনিটর করবেন তা দেখুন।
- আপনি ঐচ্ছিকভাবে নির্দিষ্ট সংযোগের জন্য TLS/SSL অ্যাক্সেস কনফিগার করতে পারেন, যা বিভিন্ন পোর্ট ব্যবহার করতে পারে। আরও জানতে TLS/SSL দেখুন।
- মাস্টার-স্ট্যান্ডবাই রেপ্লিকেশন ব্যবহার করার জন্য দুটি পোস্টগ্রেস নোড কনফিগার করলে, আপনাকে অবশ্যই ssh অ্যাক্সেসের জন্য প্রতিটি নোডে পোর্ট 22 খুলতে হবে। আপনি ঐচ্ছিকভাবে ssh অ্যাক্সেসের অনুমতি দিতে পৃথক নোডগুলিতে পোর্ট খুলতে পারেন।
- আপনি একটি বহিরাগত SMTP সার্ভারের মাধ্যমে ইমেল পাঠাতে ম্যানেজমেন্ট সার্ভার এবং এজ UI কনফিগার করতে পারেন। আপনি যদি তা করেন তবে আপনাকে অবশ্যই নিশ্চিত করতে হবে যে ম্যানেজমেন্ট সার্ভার এবং UI SMTP সার্ভারে প্রয়োজনীয় পোর্ট অ্যাক্সেস করতে পারে। নন-টিএলএস এসএমটিপির জন্য, পোর্ট নম্বরটি সাধারণত 25 হয়। টিএলএস-সক্ষম SMTP-এর জন্য, এটি প্রায়শই 465 হয়, তবে আপনার SMTP প্রদানকারীর সাথে যোগাযোগ করুন।
নীচের সারণীটি দেখায় যে পোর্টগুলি ফায়ারওয়ালে খোলার প্রয়োজন, এজ উপাদান দ্বারা:
| কম্পোনেন্ট | বন্দর | বর্ণনা |
|---|---|---|
| স্ট্যান্ডার্ড HTTP পোর্ট | 80, 443 | HTTP এবং ভার্চুয়াল হোস্টের জন্য আপনি ব্যবহার করেন এমন অন্য কোনো পোর্ট |
| ম্যানেজমেন্ট সার্ভার | 8080 | এজ ম্যানেজমেন্ট এপিআই কলের জন্য পোর্ট। এই উপাদানগুলির জন্য ম্যানেজমেন্ট সার্ভারে পোর্ট 8080 অ্যাক্সেসের প্রয়োজন: রাউটার, মেসেজ প্রসেসর, UI, Postgres এবং Qpid। |
| 1099 | JMX পোর্ট | |
| 4526 | বিতরণ করা ক্যাশে এবং পরিচালনা কলের জন্য | |
| ব্যবস্থাপনা UI | 9000 | ম্যানেজমেন্ট UI এ ব্রাউজার অ্যাক্সেসের জন্য পোর্ট |
| বার্তা প্রসেসর | ৮৯৯৮ | রাউটার থেকে যোগাযোগের জন্য মেসেজ প্রসেসর পোর্ট |
| 8082 | বার্তা প্রসেসরের জন্য ডিফল্ট ব্যবস্থাপনা পোর্ট এবং ম্যানেজমেন্ট সার্ভার দ্বারা অ্যাক্সেসের জন্য উপাদানটিতে অবশ্যই খোলা থাকতে হবে। আপনি যদি রাউটার এবং মেসেজ প্রসেসরের মধ্যে TLS/SSL কনফিগার করেন, যা রাউটার দ্বারা মেসেজ প্রসেসরে স্বাস্থ্য পরীক্ষা করতে ব্যবহৃত হয়। | |
| 1101 | JMX পোর্ট | |
| 4528 | মেসেজ প্রসেসরের মধ্যে বিতরণকৃত ক্যাশে এবং ম্যানেজমেন্ট কলের জন্য এবং রাউটার এবং ম্যানেজমেন্ট সার্ভার থেকে যোগাযোগের জন্য | |
| রাউটার | 8081 | রাউটারের জন্য ডিফল্ট ম্যানেজমেন্ট পোর্ট এবং ম্যানেজমেন্ট সার্ভার দ্বারা অ্যাক্সেসের জন্য উপাদানটিতে অবশ্যই খোলা থাকতে হবে। |
| 4527 | বিতরণ করা ক্যাশে এবং পরিচালনা কলের জন্য | |
| 15999 | স্বাস্থ্য পরীক্ষা পোর্ট। রাউটার উপলব্ধ কিনা তা নির্ধারণ করতে একটি লোড ব্যালেন্সার এই পোর্ট ব্যবহার করে। রাউটারের স্থিতি পেতে, লোড ব্যালেন্সার রাউটারে 15999 পোর্ট করার অনুরোধ করে: curl -v http://routerIP:15999/v1/servers/self/reachable যদি রাউটার পৌঁছানো যায়, অনুরোধটি HTTP 200 প্রদান করে। | |
| 59001 | apigee-validate ইউটিলিটি দ্বারা এজ ইনস্টলেশন পরীক্ষা করার জন্য পোর্ট ব্যবহার করা হয়। এই ইউটিলিটির জন্য রাউটারে 59001 পোর্টে অ্যাক্সেস প্রয়োজন। পোর্ট 59001-এ আরও জানতে ইনস্টল পরীক্ষা করুন। | |
| চিড়িয়াখানার রক্ষক | 2181 | ম্যানেজমেন্ট সার্ভার, রাউটার, মেসেজ প্রসেসর ইত্যাদি অন্যান্য উপাদান দ্বারা ব্যবহৃত হয় |
| 2888, 3888 | ZooKeeper ক্লাস্টার (ZooKeeper ensemble নামে পরিচিত) যোগাযোগের জন্য ZooKeeper দ্বারা অভ্যন্তরীণভাবে ব্যবহৃত হয় | |
| ক্যাসান্ড্রা | 7000, 9042, 9160 | ক্যাসান্ড্রা নোডের মধ্যে যোগাযোগের জন্য এবং অন্যান্য এজ উপাদানগুলির অ্যাক্সেসের জন্য অ্যাপাচি ক্যাসান্দ্রা পোর্ট। |
| 7199 | JMX পোর্ট। ম্যানেজমেন্ট সার্ভার দ্বারা অ্যাক্সেসের জন্য উন্মুক্ত হতে হবে। | |
| Qpid | 5672 | রাউটার এবং মেসেজ প্রসেসর থেকে Qpid সার্ভারে যোগাযোগের জন্য ব্যবহৃত হয় |
| 8083 | Qpid সার্ভারে ডিফল্ট ম্যানেজমেন্ট পোর্ট এবং ম্যানেজমেন্ট সার্ভার দ্বারা অ্যাক্সেসের জন্য উপাদানটিতে অবশ্যই খোলা থাকতে হবে। | |
| 1102 | JMX পোর্ট | |
| 4529 | বিতরণ করা ক্যাশে এবং পরিচালনা কলের জন্য | |
| পোস্টগ্রেস | 5432 | Qpid/Management Server থেকে Postgres-এ যোগাযোগের জন্য ব্যবহৃত হয় |
| 8084 | Postgres সার্ভারে ডিফল্ট ম্যানেজমেন্ট পোর্ট অবশ্যই ম্যানেজমেন্ট সার্ভার দ্বারা অ্যাক্সেসের জন্য উপাদানটিতে খোলা থাকতে হবে। | |
| 1103 | JMX পোর্ট | |
| 4530 | বিতরণ করা ক্যাশে এবং পরিচালনা কলের জন্য | |
| 22 | মাস্টার-স্ট্যান্ডবাই রেপ্লিকেশন ব্যবহার করার জন্য দুটি পোস্টগ্রেস নোড কনফিগার করলে, আপনাকে অবশ্যই ssh অ্যাক্সেসের জন্য প্রতিটি নোডে পোর্ট 22 খুলতে হবে। | |
| এলডিএপি | 10389 | এলডিএপি খুলুন |
| SmartDocs | 59002 | এজ রাউটারের পোর্ট যেখানে SmartDocs পৃষ্ঠার অনুরোধ পাঠানো হয়। |
পরবর্তী টেবিল একই পোর্ট দেখায়, উৎস এবং গন্তব্য উপাদান সহ সংখ্যাগতভাবে তালিকাভুক্ত:
| পোর্ট নম্বর | উদ্দেশ্য | উৎস উপাদান | গন্তব্য উপাদান |
|---|---|---|---|
| virtual_host_port | ভার্চুয়াল হোস্ট API কল ট্র্যাফিকের জন্য HTTP প্লাস অন্য কোনো পোর্ট ব্যবহার করুন। পোর্ট 80 এবং 443 সবচেয়ে বেশি ব্যবহৃত হয়; বার্তা রাউটার TLS/SSL সংযোগ বন্ধ করতে পারে। | বাহ্যিক ক্লায়েন্ট (বা লোড ব্যালেন্সার) | বার্তা রাউটারে শ্রোতা |
| 1099 থেকে 1103 পর্যন্ত | জেএমএক্স ব্যবস্থাপনা | JMX ক্লায়েন্ট | ম্যানেজমেন্ট সার্ভার (1099) বার্তা প্রসেসর (1101) Qpid সার্ভার (1102) পোস্টগ্রেস সার্ভার (1103) |
| 2181 | চিড়িয়াখানার ক্লায়েন্ট যোগাযোগ | ম্যানেজমেন্ট সার্ভার রাউটার বার্তা প্রসেসর Qpid সার্ভার পোস্টগ্রেস সার্ভার | চিড়িয়াখানা |
| 2888 এবং 3888 | চিড়িয়াখানার ইন্টারনোড ব্যবস্থাপনা | চিড়িয়াখানা | চিড়িয়াখানা |
| 4526 | আরপিসি ম্যানেজমেন্ট পোর্ট | ম্যানেজমেন্ট সার্ভার | ম্যানেজমেন্ট সার্ভার |
| 4527 | বিতরণ করা ক্যাশে এবং ম্যানেজমেন্ট কলের জন্য এবং রাউটারের মধ্যে যোগাযোগের জন্য RPC ম্যানেজমেন্ট পোর্ট | ম্যানেজমেন্ট সার্ভার রাউটার | রাউটার |
| 4528 | বার্তা প্রসেসরের মধ্যে বিতরণকৃত ক্যাশে কলের জন্য এবং রাউটার থেকে যোগাযোগের জন্য | ম্যানেজমেন্ট সার্ভার রাউটার বার্তা প্রসেসর | বার্তা প্রসেসর |
| 4529 | বিতরণকৃত ক্যাশে এবং ম্যানেজমেন্ট কলের জন্য RPC ম্যানেজমেন্ট পোর্ট | ম্যানেজমেন্ট সার্ভার | Qpid সার্ভার |
| 4530 | বিতরণকৃত ক্যাশে এবং ম্যানেজমেন্ট কলের জন্য RPC ম্যানেজমেন্ট পোর্ট | ম্যানেজমেন্ট সার্ভার | পোস্টগ্রেস সার্ভার |
| 5432 | পোস্টগ্রেস ক্লায়েন্ট | Qpid সার্ভার | পোস্টগ্রেস |
| 5672 | রাউটার এবং মেসেজ প্রসেসর থেকে Qpid-এ বিশ্লেষণ পাঠানোর জন্য ব্যবহৃত হয় | রাউটার বার্তা প্রসেসর | Qpid সার্ভার |
| 7000 | ক্যাসান্দ্রা ইন্টার-নোড যোগাযোগ | ক্যাসান্ড্রা | অন্যান্য ক্যাসান্দ্রা নোড |
| 7199 | জেএমএক্স ব্যবস্থাপনা। ম্যানেজমেন্ট সার্ভার দ্বারা ক্যাসান্দ্রা নোডে অ্যাক্সেসের জন্য অবশ্যই খোলা থাকতে হবে। | JMX ক্লায়েন্ট | ক্যাসান্ড্রা |
| 8080 | ব্যবস্থাপনা API পোর্ট | ব্যবস্থাপনা API ক্লায়েন্ট | ম্যানেজমেন্ট সার্ভার |
| 8081 থেকে 8084 পর্যন্ত | কম্পোনেন্ট API পোর্ট, সরাসরি পৃথক উপাদানগুলিতে API অনুরোধ জারি করার জন্য ব্যবহৃত হয়। প্রতিটি উপাদান একটি ভিন্ন পোর্ট খোলে; ব্যবহৃত সঠিক পোর্টটি কনফিগারেশনের উপর নির্ভর করে তবে ম্যানেজমেন্ট সার্ভার দ্বারা অ্যাক্সেসের জন্য উপাদানটিতে অবশ্যই খোলা থাকতে হবে | ব্যবস্থাপনা API ক্লায়েন্ট | রাউটার (8081) বার্তা প্রসেসর (8082) Qpid সার্ভার (8083) পোস্টগ্রেস সার্ভার (8084) |
| ৮৯৯৮ | রাউটার এবং মেসেজ প্রসেসরের মধ্যে যোগাযোগ | রাউটার | বার্তা প্রসেসর |
| 9000 | ডিফল্ট এজ ম্যানেজমেন্ট UI পোর্ট | ব্রাউজার | ম্যানেজমেন্ট UI সার্ভার |
| 9042 | CQL নেটিভ ট্রান্সপোর্ট | রাউটার বার্তা প্রসেসর ম্যানেজমেন্ট সার্ভার | ক্যাসান্ড্রা |
| 9160 | ক্যাসান্ড্রা থ্রিফ্ট ক্লায়েন্ট | রাউটার বার্তা প্রসেসর ম্যানেজমেন্ট সার্ভার | ক্যাসান্ড্রা |
| 10389 | LDAP পোর্ট | ম্যানেজমেন্ট সার্ভার | এলডিএপি খুলুন |
| 15999 | স্বাস্থ্য পরীক্ষা পোর্ট। রাউটার উপলব্ধ কিনা তা নির্ধারণ করতে একটি লোড ব্যালেন্সার এই পোর্ট ব্যবহার করে। | লোড ব্যালেন্সার | রাউটার |
| 59001 | এজ ইনস্টলেশন পরীক্ষা করার জন্য apigee-validate ইউটিলিটি দ্বারা ব্যবহৃত পোর্ট | apigee- বৈধতা | রাউটার |
| 59002 | রাউটার পোর্ট যেখানে SmartDocs পৃষ্ঠার অনুরোধ পাঠানো হয় | SmartDocs | রাউটার |
একটি বার্তা প্রসেসর ক্যাসান্দ্রার জন্য একটি উত্সর্গীকৃত সংযোগ পুল খোলা রাখে, যা কখনই সময় শেষ না হওয়ার জন্য কনফিগার করা হয়। যখন একটি ফায়ারওয়াল একটি বার্তা প্রসেসর এবং ক্যাসান্ড্রা সার্ভারের মধ্যে থাকে, তখন ফায়ারওয়াল সংযোগের সময় শেষ করতে পারে। যাইহোক, বার্তা প্রসেসর ক্যাসান্দ্রার সাথে সংযোগ পুনঃস্থাপন করার জন্য ডিজাইন করা হয়নি।
এই পরিস্থিতি প্রতিরোধ করার জন্য, Apigee সুপারিশ করে যে ক্যাসান্ড্রা সার্ভার, বার্তা প্রসেসর এবং রাউটারগুলি একই সাবনেটে থাকে যাতে এই উপাদানগুলির স্থাপনার সাথে একটি ফায়ারওয়াল জড়িত না হয়।
যদি একটি ফায়ারওয়াল রাউটার এবং বার্তা প্রসেসরের মধ্যে থাকে, এবং একটি নিষ্ক্রিয় tcp টাইমআউট সেট থাকে, আমাদের সুপারিশগুলি হল:
- Linux OS-এ sysctl সেটিংসে
net.ipv4.tcp_keepalive_time = 1800সেট করুন, যেখানে 1800 ফায়ারওয়াল নিষ্ক্রিয় tcp টাইমআউটের চেয়ে কম হওয়া উচিত। এই সেটিংটি একটি প্রতিষ্ঠিত অবস্থায় সংযোগ রাখা উচিত যাতে ফায়ারওয়াল সংযোগটি বিচ্ছিন্ন না করে। - সমস্ত মেসেজ প্রসেসরে, নিম্নলিখিত বৈশিষ্ট্য যোগ করতে
/opt/apigee/customer/application/message-processor.propertiesসম্পাদনা করুন। যদি ফাইলটি বিদ্যমান না থাকে তবে এটি তৈরি করুন।conf_system_cassandra.maxconnecttimeinmillis=-1
- বার্তা প্রসেসর পুনরায় চালু করুন:
/opt/apigee/apigee-service/bin/apigee-service edge-message-processor restart
- সমস্ত রাউটারে, নিম্নলিখিত বৈশিষ্ট্য যোগ করতে
/opt/apigee/customer/application/router.propertiesসম্পাদনা করুন। যদি ফাইলটি বিদ্যমান না থাকে তবে এটি তৈরি করুন।conf_system_cassandra.maxconnecttimeinmillis=-1
- রাউটার পুনরায় চালু করুন:
/opt/apigee/apigee-service/bin/apigee-service edge-router restart
আপনি যদি দুটি ডেটা সেন্টারের সাথে 12টি হোস্ট ক্লাস্টারড কনফিগারেশন ইনস্টল করেন, তবে নিশ্চিত করুন যে দুটি ডেটা সেন্টারের নোডগুলি নীচে দেখানো পোর্টগুলিতে যোগাযোগ করতে পারে:

API BaaS পোর্টের প্রয়োজনীয়তা
আপনি যদি API BaaS ইনস্টল করতে বেছে নেন, আপনি API BaaS স্ট্যাক এবং API BaaS পোর্টাল উপাদান যোগ করুন। এই উপাদানগুলি নীচের চিত্রে দেখানো পোর্টগুলি ব্যবহার করে:

এই ডায়াগ্রামে নোট:
- API BaaS পোর্টাল কখনই সরাসরি BaaS স্ট্যাক নোডে অনুরোধ করে না। যখন একজন বিকাশকারী পোর্টালে লগ ইন করেন, তখন পোর্টাল অ্যাপটি ব্রাউজারে ডাউনলোড করা হয়। ব্রাউজারে চলমান পোর্টাল অ্যাপটি তখন BaaS স্ট্যাক নোডগুলিতে অনুরোধ করে।
- API BaaS এর একটি উত্পাদন ইনস্টলেশন API BaaS পোর্টাল নোড এবং API BaaS স্ট্যাক নোডের মধ্যে একটি লোড ব্যালেন্সার ব্যবহার করে। পোর্টাল কনফিগার করার সময়, এবং BaaS API কল করার সময়, আপনি লোড ব্যালেন্সারের IP ঠিকানা বা DNS নাম উল্লেখ করেন, স্ট্যাক নোডের নয়।
- অন্যান্য সমস্ত স্ট্যাক নোড থেকে অ্যাক্সেসের জন্য সমস্ত স্ট্যাক নোডকে অবশ্যই পোর্ট 2551 খুলতে হবে (স্ট্যাক নোডগুলিতে পোর্ট 2551-এর জন্য উপরের চিত্রে লুপ তীর দ্বারা নির্দেশিত)। আপনার যদি একাধিক ডেটা সেন্টার থাকে, পোর্টটি অবশ্যই সমস্ত ডেটা সেন্টারের সমস্ত স্ট্যাক নোড থেকে অ্যাক্সেসযোগ্য হতে হবে৷
- একটি বহিরাগত SMTP সার্ভারের মাধ্যমে ইমেল পাঠাতে আপনাকে অবশ্যই সমস্ত Baas স্ট্যাক নোড কনফিগার করতে হবে। নন-টিএলএস এসএমটিপির জন্য, পোর্ট নম্বরটি সাধারণত 25 হয়। টিএলএস-সক্ষম SMTP-এর জন্য, এটি প্রায়শই 465 হয়, তবে আপনার SMTP প্রদানকারীর সাথে যোগাযোগ করুন।
- ক্যাসান্দ্রা নোডগুলি API BaaS-এ উত্সর্গীকৃত হতে পারে, বা এজ এর সাথে ভাগ করা যেতে পারে।
নীচের টেবিলটি ডিফল্ট পোর্টগুলি দেখায় যা ফায়ারওয়ালগুলিতে কম্পোনেন্ট দ্বারা খুলতে হবে:
| কম্পোনেন্ট | বন্দর | বর্ণনা |
|---|---|---|
| API BaaS পোর্টাল | 9000 | API BaaS UI এর জন্য পোর্ট |
| API BaaS স্ট্যাক | 8080 | পোর্ট যেখানে API অনুরোধ গৃহীত হয় |
| 2551 | সমস্ত স্ট্যাক নোডের মধ্যে যোগাযোগের জন্য পোর্ট। ডেটা ক্যান্টারে অন্যান্য সমস্ত স্ট্যাক নোড দ্বারা অ্যাক্সেসযোগ্য হতে হবে। আপনার একাধিক ডেটা সেন্টার থাকলে, পোর্টটি অবশ্যই সমস্ত ডেটা সেন্টারের সমস্ত স্ট্যাক নোড থেকে অ্যাক্সেসযোগ্য হতে হবে। | |
| ইলাস্টিক সার্চ | 9200 থেকে 9400 | API BaaS স্ট্যাকের সাথে যোগাযোগের জন্য এবং ইলাস্টিক সার্চ নোডগুলির মধ্যে যোগাযোগের জন্য |
লাইসেন্সিং
Edge-এর প্রতিটি ইনস্টলেশনের জন্য একটি অনন্য লাইসেন্স ফাইল প্রয়োজন যা আপনি Apigee থেকে পাবেন। ম্যানেজমেন্ট সার্ভার ইনস্টল করার সময় আপনাকে লাইসেন্স ফাইলের পাথ প্রদান করতে হবে, উদাহরণস্বরূপ /tmp/license.txt।
ইনস্টলার লাইসেন্স ফাইলটিকে /opt/apigee/customer/conf/license.txt এ কপি করে।
লাইসেন্স ফাইল বৈধ হলে, ম্যানেজমেন্ট সার্ভার মেয়াদোত্তীর্ণ এবং অনুমোদিত বার্তা প্রসেসর (MP) গণনা যাচাই করে। লাইসেন্স সেটিংসের যেকোনো একটির মেয়াদ শেষ হলে, আপনি নিম্নলিখিত অবস্থানে লগগুলি খুঁজে পেতে পারেন: /opt/apigee/var/log/edge-management-server/logs এই ক্ষেত্রে আপনি মাইগ্রেশনের বিশদ বিবরণের জন্য Apigee Edge সহায়তার সাথে যোগাযোগ করতে পারেন।
আপনার যদি এখনও লাইসেন্স না থাকে, Apigee Sales-এর সাথে যোগাযোগ করুন।