Edge for Private Cloud w wersji 4.18.01
Wymagania sprzętowe
Aby uzyskać wysoką dostępność, musisz spełniać te minimalne wymagania sprzętowe w środowisku klasy produkcyjnej. Dla wszystkich scenariuszy instalacji opisanych w Topologie instalacji w tabelach poniżej minimalne wymagania sprzętowe dotyczące komponentów instalacyjnych.
W tych tabelach wymagania dotyczące dysku twardego są uzupełniające wymagania dotyczące miejsca na dysku twardym wymaganej przez oraz system operacyjny. W zależności od aplikacji i ruchu w sieci instalacja może wymagają mniejszych lub większych zasobów niż wymienione poniżej.
| Element instalacyjny | Pamięć RAM | CPU | Minimalny dysk twardy |
|---|---|---|---|
| Cassandra | 16 GB | 8-rdzeniowy | 250 GB pamięci lokalnej z dyskiem SSD lub szybkim dyskiem HDD obsługującym 2000 IOPS |
| Procesor/router wiadomości na tym samym komputerze | 16 GB | 8-rdzeniowy | 100GB |
| Analytics – Postgres/Qpid na tym samym serwerze (niezalecane w środowisku produkcyjnym) | 16GB* | 8-rdzeniowy* | od 500 GB do 1 TB** pamięci sieciowej***, najlepiej z backendem SSD, obsługa co najmniej 1000 IOPS* |
| Analytics – samodzielna wersja Postgres | 16GB* | 8-rdzeniowy* | od 500 GB do 1 TB** pamięci sieciowej***, najlepiej z backendem SSD, obsługa co najmniej 1000 IOPS* |
| Analytics – samodzielny Qpid | 8 GB | 4-rdzeniowy | 30–50 GB pamięci lokalnej z dyskiem SSD lub szybkim dyskiem HDD
W przypadku instalacji większych niż 250 TPS wymagany jest dysk HDD z pamięcią lokalną obsługującą 1000 IOPS zalecane. Domyślny rozmiar kolejki Qpid to 20 GB. Jeśli chcesz zwiększyć pojemność, dodaj więcej Węzły Qpid. |
| Inny (OpenLDAP, UI, serwer zarządzania) | 4 GB | 2-rdzeniowy | 60GB |
* Dostosuj wymagania systemowe Postgres na podstawie przepustowości:
- Mniej niż 250 TPS: 8 GB, w przypadku sieci zarządzanej możliwe 4 rdzenie pamięć masowa*** obsługująca 1000 IOPS lub więcej
- Powyżej 250 TPS: 16 GB, 8-rdzeniowy, zarządzana pamięć sieciowa*** obsługa co najmniej 1000 IOPS
- Powyżej 1000 TPS: 16 GB, 8-rdzeniowy, zarządzana pamięć sieciowa*** obsługa 2000 IOPS lub więcej
- Powyżej 2000 TPS: 32 GB, 16-rdzeniowy, zarządzana pamięć sieciowa*** obsługa 2000 IOPS lub więcej
- Powyżej 4000 TPS: 64 GB, 32-rdzeniowy, zarządzana pamięć sieciowa*** obsługa co najmniej 4000 IOPS.
** Wartość dysku twardego Postgres jest określana na podstawie gotowych statystyk przechwyconych przez Edge. Jeśli dodasz do danych analitycznych wartości niestandardowe, należy je zwiększyć odpowiednio się zmienia. Aby oszacować wymaganą ilość miejsca na dane, użyj tej formuły:
bytes of storage needed =
(# bytes of analytics data/request) *
(requests/second) *
(seconds/hour) *
(hours of peak usage/day) *
(days/month) *
(months of data retention)
Na przykład:
(2K bytes) * (100 req/sec) * (3600 secs/hr) * (18 peak hours/day) * (30 days/month) * (3 months retention)
= 1,194,393,600,000 bytes or 1194.4 GB
*** W przypadku bazy danych Postgresql zalecamy korzystanie z Network Storage, ponieważ:
- Zapewnia możliwość dynamicznego skalowania rozmiaru pamięci masowej, jeśli i kiedy
- IOPS sieci można regulować na bieżąco w większości współczesnych środowisko/pamięć masowa/podsystemy sieci.
- W ramach tworzenia i przywracania kopii zapasowych można włączyć zrzuty poziomu miejsca na dane i rozwiązania.
Poza tym poniżej znajdziesz listę wymagań sprzętowych, które pozwolą Ci zainstalować Usługi służące do generowania przychodu:
| Komponent z zarabianiem | Pamięć RAM | CPU | Dysk twardy |
|---|---|---|---|
| Serwer zarządzania (z usługami do zarabiania) | 8 GB | 4-rdzeniowy | 60GB |
| Analytics – Postgres/Qpid na tym samym serwerze | 16 GB | 8-rdzeniowy | 500 GB–1 TB pamięci sieciowej, najlepiej z backendem SSD, obsługującą 1000 IOPS lub wyżej lub użyj reguły z tabeli powyżej. |
| Analytics – samodzielna wersja Postgres | 16 GB | 8-rdzeniowy | 500 GB–1 TB pamięci sieciowej, najlepiej z backendem SSD, obsługującą 1000 IOPS lub wyżej lub użyj reguły z tabeli powyżej. |
| Analytics – samodzielny Qpid | 8 GB | 4-rdzeniowy | 40–500 GB pamięci lokalnej na dysku SSD lub szybkim HDD
W przypadku instalacji większych niż 250 TPS wymagany jest dysk HDD z pamięcią lokalną obsługującą 1000 IOPS zalecane. |
Jeśli chcesz zainstalować interfejs API BaaS, poniżej znajdziesz wymagania sprzętowe:
| Komponent BaaS API | RAM | CPU | Dysk twardy |
|---|---|---|---|
| ElasticSearch* | 8 GB | 4-rdzeniowy | 60–80 GB |
| Stos BaaS API* | 8 GB | 4-rdzeniowy | 60–80 GB |
| Portal API BaaS | 1 GB | 2-rdzeniowy | 20GB |
| Cassandra** | 16 GB | 8-rdzeniowy | 250 GB pamięci lokalnej z dyskiem SSD lub szybkim dyskiem HDD obsługującym 2000 IOPS |
* W tym samym węźle możesz zainstalować stos BaaS ElasticSearch i stos interfejsu API. Jeśli to zrobisz, skonfiguruj ElasticSearch tak, aby używał 4 GB pamięci (domyślnie). Jeśli ElasticSearch jest zainstalowany na własnego węzła, a następnie skonfigurować korzystanie z 6 GB pamięci.
** Opcjonalne; zwykle używasz tego samego klastra Cassandra zarówno dla Edge, jak i API BaaS Usługi.
.System operacyjny i inne firmy wymagania oprogramowania
Te instrukcje instalacji i dostarczone pliki instalacyjne zostały przetestowane na systemów operacyjnych i oprogramowania innych firm wymienionych w Obsługiwane oprogramowanie i obsługiwane wersje
Tworzę użytkownika Apigee
Procedura instalacji tworzy użytkownika systemu Unix o nazwie „apigee”. Katalogi brzegowe pliki są własnością „apigee”, podobnie jak procesy Edge. Oznacza to, że komponenty Edge działają jako „apigee” użytkownika. w razie potrzeby możesz uruchomić te komponenty jako inny użytkownik.
Katalog instalacji
Domyślnie instalator zapisuje wszystkie pliki w katalogu /opt/apigee. Ty
nie można zmienić lokalizacji tego katalogu. Chociaż nie możesz zmienić tego katalogu, możesz utworzyć
link symboliczny /opt/apigee do mapowania innej lokalizacji w sposób opisany poniżej.
W instrukcjach w tym przewodniku katalog instalacji jest oznaczony jako
/opt/apigee
Tworzenie dowiązania symbolicznego z katalogu /opt/apigee
Przed utworzeniem dowiązania symbolicznego musisz utworzyć użytkownika i grupę o nazwie „apigee”. To jest tę samą grupę i użytkownika utworzone przez instalator Edge.
Aby utworzyć dowiązanie symboliczne, wykonaj te czynności przed pobraniem pliku Bostrap_4.18.01.sh. Musisz wykonać wszystkie te czynności jako użytkownik root:
- Tworzenie „apigee” użytkownik i grupa:
groupadd -r apigee > useradd -r -g apigee -d /opt/apigee -s /sbin/nologin -c "Apigee platform user" apigee
- Utwórz dowiązanie symboliczne z wiersza
/opt/apigeedo wybranego katalogu głównego instalacji:ln -Ts /srv/myInstallDir /opt/apigee
gdzie /srv/myInstallDir to żądana lokalizacja plików Edge.
- Zmień prawa własności do katalogu głównego instalacji i dowiązania symbolicznego do „apigee” użytkownik:
chown -h apigee:apigee /srv/myInstallDir /opt/apigee
Java
Przed instalacją na każdym komputerze musi być zainstalowana obsługiwana wersja Java 1.8. Obsługiwane pakiety JDK są wymienione w Obsługiwane oprogramowanie i obsługiwane wersje
Upewnij się, że JAVA_HOME wskazuje katalog główny pakietu JDK dla użytkownika wykonującego
instalacji.
SELinux
W zależności od ustawień SELinux Edge mogą napotkać problemy z instalacją i uruchamianiem Komponenty brzegowe. W razie potrzeby możesz wyłączyć SELinux lub ustawić tryb mniej rygorystyczny podczas instalacji, a następnie ponownie włączyć program po instalacji. Więcej informacji znajdziesz w artykule Instalowanie narzędzia Edge apigee-setup.
Ustawienie sieci
Zalecamy sprawdzenie ustawień sieci przed instalacją. Instalator oczekuje, że wszystkie maszyny mają stałe adresy IP. Za pomocą tych poleceń możesz sprawdzić poprawność ustawienie:
hostnamezwraca nazwę komputera.hostname -izwraca adres IP dla nazwy hosta, z którego można zaadresować adres. na innych komputerach.
W zależności od typu i wersji systemu operacyjnego może być konieczna edycja
/etc/hosts i /etc/sysconfig/network, jeśli nazwa hosta jest inna niż
być ustawione prawidłowo. Więcej informacji znajdziesz w dokumentacji używanego systemu operacyjnego.
Jeśli serwer ma kilka kart interfejsu, zmienna „nazwa hosta -i” zwraca wartość rozdzielaną spacją listę adresów IP. Domyślnie instalator Edge używa pierwszego zwróconego adresu IP, który mogą nie zawsze być prawidłowe. Możesz zamiast tego ustawić tę właściwość w plik konfiguracji instalacji:
ENABLE_DYNAMIC_HOSTIP=y
Gdy właściwość ma wartość „y”, instalator prosi o wybranie adresu IP, który ma być używany jako jest częścią instalacji. Wartość domyślna to „n”. Zobacz Opis pliku konfiguracji brzegowej.
Kody TCP
Kody TCP mogą blokować komunikację między niektórymi portami i mieć wpływ na OpenLDAP, Postgres
Montaż systemu Cassandra. W tych węzłach zaznacz /etc/hosts.allow i
/etc/hosts.deny, aby mieć pewność, że nie ma ograniczeń w wymaganych portach
Porty OpenLDAP, Postgres i Cassandra.
iptables
Sprawdź, czy nie ma zasad IPtables, które uniemożliwiają połączenie między węzłami wymagane porty brzegowe. W razie potrzeby możesz podczas instalacji zatrzymać IPtable, używając polecenie:
sudo/etc/init.d/iptables stop
W systemie CentOS 7.x:
systemctl stop firewalld
Sprawdź, czy router brzegowy może dostęp do pliku /etc/rc.d/init.d/functions
Węzły routera brzegowego i portalu BaaS używają routera Nginx i wymagają uprawnień do odczytu
do /etc/rc.d/init.d/functions.
Jeśli proces zabezpieczeń wymaga przyznania uprawnień
/etc/rc.d/init.d/functions, nie ustawiaj ich na 700, bo inaczej router nie
i rozpoczęcia odtwarzania. Uprawnienia można ustawić na 744, aby umożliwić dostęp do odczytu
/etc/rc.d/init.d/functions
Cassandra
Wszystkie węzły Cassandra muszą być połączone z pierścieniem. Cassandra przechowuje repliki danych w wielu węzłów, aby zapewnić niezawodność i odporność na awarie. Strategia replikacji poszczególnych danych Przestrzeń klawiszy brzegowa określa węzły Cassandra, w których są umieszczone repliki. Więcej informacji: Informacje o Cassandra Współczynnik replikacji i poziom spójności.
Cassandra automatycznie dostosowuje rozmiar sterty Javy na podstawie dostępnej pamięci. Więcej informacji: Dostrajanie zasobów Java. W przypadku spadku wydajności lub dużego zużycia pamięci.
Po zainstalowaniu Edge for Private Cloud możesz sprawdzić, czy skonfigurowano Cassandra
dowiesz się, jak sprawdzić /opt/apigee/apigee-cassandra/conf/cassandra.yaml.
. Sprawdź na przykład, czy skrypt instalacji Edge for Private Cloud ustawił
właściwości:
cluster_nameinitial_tokenpartitionerseedslisten_addressrpc_addresssnitch
Baza danych PostgreSQL
Po zainstalowaniu Edge możesz dostosować poniższe ustawienia bazy danych PostgreSQL na podstawie ilość pamięci RAM dostępnej w systemie:
conf_postgresql_shared_buffers = 35% of RAM # min 128kB conf_postgresql_effective_cache_size = 45% of RAM conf_postgresql_work_mem = 512MB # min 64kB
Aby ustawić te wartości:
- Edytuj plik postgresql.properties:
vi /opt/apigee/customer/application/postgresql.properties
Jeśli plik nie istnieje, utwórz go.
- Ustaw wymienione powyżej właściwości.
- Zapisz zmiany.
- Uruchom ponownie bazę danych PostgreSQL:
/opt/apigee/apigee-service/bin/apigee-service apigee-postgresql restart
Ograniczenia systemu
Sprawdź, czy na urządzeniu Cassandra i procesorze wiadomości masz ustawione poniższe limity systemu węzłów:
- W węzłach Cassandra ustaw limity łagodnego i twardego memlocka, nofile oraz przestrzeni adresowej dla
użytkownik instalacji (domyślnie „apigee”) w
/etc/security/limits.d/90-apigee-edge-limits.confjak poniżej:apigee soft memlock unlimited apigee hard memlock unlimited apigee soft nofile 32768 apigee hard nofile 65536 apigee soft as unlimited apigee hard as unlimited
- W węzłach procesora wiadomości ustaw maksymalną liczbę deskryptorów otwartych plików na 64 tys.
w
/etc/security/limits.d/90-apigee-edge-limits.confjako poniżej:apigee soft nofile 32768 apigee hard nofile 65536
W razie potrzeby możesz zwiększyć ten limit. Na przykład, jeśli masz dużą liczbę tymczasowych można otworzyć w dowolnej chwili.
jsvc
„jsvc” jest wymaganym wstępem do korzystania z interfejsu API BaaS. Podczas instalacji instalowana jest wersja 1.0.15-dev z baaS API.
Usługi bezpieczeństwa sieci (NSS)
Network Security Services (NSS) to zbiór bibliotek, które obsługują tworzenie aplikacje klienckie i serwerowe z włączoną zabezpieczeniami. Musisz się upewnić, że zainstalowano NSS. wersji 3.19 lub nowszej.
Aby sprawdzić bieżącą wersję:
yum info nss
Aby zaktualizować NSS:
yum update nss
Przeczytaj ten artykuł. z RedHat.
Wyłącz wyszukiwanie DNS w IPv6 w przypadku używania NSCD (demona pamięci podręcznej usługi nazw)
Jeśli zainstalowano i włączono NSCD (demon pamięci podręcznej usługi nazw), procesory wiadomości wykonuje dwa wyszukiwania DNS – jedno dla IPv4 i drugie dla IPv6. Wyłącz wyszukiwanie DNS na IPv6 w przypadku korzystania z NSCD.
Aby wyłączyć wyszukiwanie DNS w IPv6:
- Edytuj
/etc/nscd.confw każdym węźle procesora wiadomości. - Ustaw tę właściwość:
enable-cache hosts no
Wyłącz IPv6 w Google Cloud Platforma dla RedHat/CentOS 7
Jeśli instalujesz Edge na RedHat 7 lub CentOS 7 w Google Cloud Platform, musi wyłączyć protokół IPv6 we wszystkich węzłach Qpid.
Instrukcje znajdziesz w dokumentacji RedHat lub CentOS dla używanej wersji systemu operacyjnego wyłączenie protokołu IPv6. Możesz na przykład:
- Otwórz plik
/etc/hostsw edytorze. - Wstaw znak „#” znak w kolumnie pierwszego z następujących wierszy, aby go skomentować:
#::1 localhost localhost.localdomain localhost6 localhost6.localdomain6
- Zapisz plik.
AWS AMI,
Jeśli instalujesz Edge w obrazie AWS Amazon Machine Image (AMI) dla systemu Red Hat Enterprise Linux 7.x, musisz najpierw uruchomić to polecenie:
yum-config-manager --enable rhui-REGION-rhel-server-extras rhui-REGION-rhel-server-optional
Narzędzia
Instalator używa w wersji standardowej narzędzi systemu UNIX (zgodnie z danymi EL5 lub EL5). EL6.
|
awk |
wyrażenie |
libxslt |
obr./min |
rozpakować |
|
nazwa_podstawowa |
grep |
lua-socket |
rpm2cpio |
dodawanie użytkowników |
|
Bash |
nazwa hosta |
ls |
Sed |
wc |
|
bc |
id |
narzędzia sieciowe |
sudo |
wget |
|
curl |
Libaio |
perl (z procps) |
smoła |
Xerces-C |
| Cyrus-Sasl | libdb4 | pgrep (z procps) | tr | mniam |
|
data |
libdb-cxx |
ps |
UUID |
chkconfig |
| dirname | libibverbs | pwd | Uname | |
| echo | librdmacm | python |
ntpdate
Zaleca się, aby serwery razy zsynchronizowano. Jeśli nie zostało jeszcze skonfigurowane,
Do tego celu może służyć narzędzie ntpdate, które weryfikuje
czy serwery są synchronizowane czasowo. Możesz użyć yum install ntp do zainstalowania
za media. Jest to szczególnie przydatne przy replikowaniu konfiguracji OpenLDAP. Pamiętaj, że konfigurujesz serwer
strefa czasowa UTC.
openldap 2.4
Lokalna instalacja wymaga OpenLDAP 2.4. Jeśli
Twój serwer ma połączenie z internetem, a następnie skrypt instalacji Edge pobierze i zainstaluje.
OpenLDAP. Jeśli serwer nie ma połączenia z internetem, upewnij się, że OpenLDAP
jest już zainstalowany. W RHEL/CentOS można
yum install openldap-clients openldap-servers, aby zainstalować OpenLDAP.
W przypadku instalacji z 13 hostami i 12 hostów z 2 centrami danych wymagane jest: Replikacja OpenLDAP, ponieważ istnieje wiele węzłów hostujących OpenLDAP.
Zapory sieciowe i hosty wirtualne
Termin virtual jest często przeciążony w branży IT, więc
Apigee Edge na potrzeby wdrożenia w chmurze prywatnej i hostów wirtualnych. Aby doprecyzować,
przypadki użycia terminu virtual:
- Maszyny wirtualne: nie jest wymagane, ale niektóre wdrożenia korzystają z technologii maszyn wirtualnych aby utworzyć izolowane serwery dla komponentów Apigee. Hosty maszyn wirtualnych, takie jak hosty fizyczne, mogą mieć dla interfejsów sieciowych i zapór sieciowych.
- Hosty wirtualne: internetowe punkty końcowe podobne do hosta wirtualnego Apache.
Router maszyny wirtualnej może udostępniać wiele hostów wirtualnych (o ile różnią się one od siebie alias hosta lub port interfejsu).
Na przykład jeden serwer fizyczny A może obsługiwać 2 maszyny wirtualne.
o nazwie „VM1” i „VM2”. Załóżmy, że „VM1” udostępnia interfejs wirtualnej sieci Ethernet o nazwie
„eth0” w maszynie wirtualnej, do którego przypisany jest adres IP 111.111.111.111 przez
maszynę wirtualizacji lub serwer DHCP sieci; i zakładaj, że VM2 udostępnia wirtualny
Interfejs Ethernet o nazwie „eth0” i zostanie mu przypisany adres IP
111.111.111.222
W każdej z 2 maszyn wirtualnych może działać router Apigee. Routery ujawniają hosta wirtualnego punktów końcowych jak w tym hipotetycznym przykładzie:
Router Apigee w maszynie wirtualnej VM1 ujawnia 3 hosty wirtualne w swoim interfejsie eth0 (który ma pewne
określony adres IP), api.mycompany.com:80, api.mycompany.com:443 oraz
test.mycompany.com:80
Router w maszynie wirtualnej VM2 ujawnia api.mycompany.com:80 (ta sama nazwa i port co
ujawnione przez maszynę wirtualną 1).
System operacyjny fizycznego hosta może mieć zaporę sieciową. jeśli tak, ta zapora sieciowa
musi być skonfigurowana tak, aby przekazywać ruch TCP powiązany z portami udostępnianymi w zwirtualizowanym środowisku
interfejsów (111.111.111.111:{80, 443} i 111.111.111.222:80). Dodatkowo każda
System operacyjny maszyny wirtualnej może mieć własną zaporę sieciową w interfejsie eth0, która także musi
zezwól na połączenie przez porty 80 i 443.
Ścieżka bazowa to trzeci komponent zaangażowany w kierowanie wywołań interfejsu API do różnych serwerów proxy interfejsu API
wdrożone przez użytkownika. Pakiety serwerów proxy interfejsów API mogą współdzielić punkt końcowy, jeśli ma on różne
ścieżek bazowych. Na przykład jedną ścieżkę bazową można zdefiniować jako http://api.mycompany.com:80/
a druga określona jako http://api.mycompany.com:80/salesdemo.
W tym przypadku potrzebny jest system równoważenia obciążenia lub dyrektor ruchu, który dzieli
http://api.mojafirma.com:80/ ruch między dwoma adresami IP
(111.111.111.111 w maszynie wirtualnej 1 i 111.111.111.222 w maszynie wirtualnej 2). Ta funkcja jest
właściwy dla Twojej instalacji i jest konfigurowane przez lokalną grupę sieci.
Ścieżka bazowa jest ustawiana podczas wdrażania interfejsu API. Korzystając z powyższego przykładu, możesz wdrożyć 2 interfejsy API:
mycompany i testmycompany dla organizacji
mycompany-org z hostem wirtualnym, którego alias hosta to
api.mycompany.com i port ustawiony na 80. Jeśli nie zadeklarujesz
basepath we wdrożeniu, router nie wie, który interfejs API ma wysyłać żądania przychodzące;
do.
Jeśli jednak wdrożysz interfejs API testmycompany z podstawowym adresem URL
/salesdemo, użytkownicy będą uzyskiwać dostęp do tego interfejsu API za pomocą
http://api.mycompany.com:80/salesdemo Jeśli wdrażasz interfejs API w firmie
podstawowy adres URL klasy /, użytkownicy uzyskują dostęp do interfejsu API za pomocą adresu URL
http://api.mycompany.com:80/
Wymagania dotyczące portu brzegowego
Konieczność zarządzania zaporą sieciową wykracza poza tylko hosty wirtualne. zarówno maszyna wirtualna, jak i host fizyczny zapory sieciowe muszą zezwalać na ruch przez porty wymagane przez komponenty do komunikacji z danym inne.
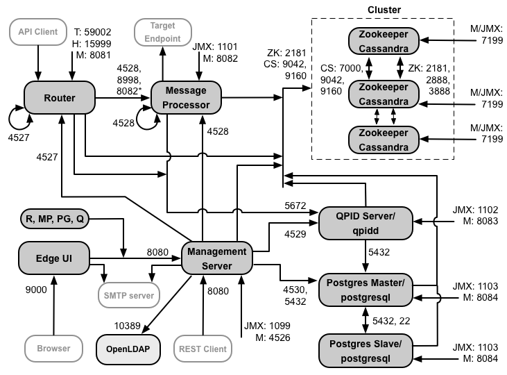
Poniższa ilustracja przedstawia wymagania dotyczące portów w każdym komponencie Edge:

Uwagi do tego diagramu:
- * Port 8082 na procesorze wiadomości musi być otwarty dla routera tylko wtedy, gdy skonfigurować TLS/SSL między routerem a procesorem wiadomości. Jeśli nie skonfigurujesz TLS/SSL między routerem a procesorem wiadomości, domyślna konfiguracja to port 8082, musi być otwarty w procesorze wiadomości w celu zarządzania komponentem, ale router nie wymaga dostęp do niej.
- porty z przedrostkiem „M”. to porty używane do zarządzania komponentem i muszą być otwarte na i musi być otwarty w komponencie, aby serwer zarządzania miał dostęp do niego.
- Te komponenty wymagają dostępu do portu 8080 na serwerze zarządzania: router, Procesor komunikatów, UI, Postgres i Qpid.
- Procesor wiadomości musi otworzyć port 4528 jako port zarządzania. Jeśli masz kilka podmiotów przetwarzających wiadomości, wszystkie muszą mieć możliwość kontaktowania się ze sobą przez port 4528 (co jest wskazywane przez strzałka pętli na schemacie powyżej dla portu 4528 procesora wiadomości). Jeśli masz kilka Centra danych, port musi być dostępny dla wszystkich procesorów wiadomości we wszystkich centrach danych.
- Chociaż nie jest to wymagane, możesz otworzyć port 4527 w routerze, aby uzyskać dostęp do dowolnej wiadomości Procesor. W przeciwnym razie w plikach dziennika procesora wiadomości mogą pojawić się komunikaty o błędach.
- Router musi otworzyć jako port zarządzania port 4527. Jeśli masz kilka routerów, muszą mieć możliwość dostępu do siebie przez port 4527 (co wskazuje strzałka pętli na powyższego schematu dla portu 4527 routera).
- Interfejs Edge wymaga dostępu do routera na portach udostępnianych przez serwery proxy interfejsów API, aby obsługiwać klikając przycisk Wyślij w narzędziu do śledzenia.
- Serwer zarządzania wymaga dostępu do portu JMX w systemie Cassandra węzłów.
- Dostęp do portów JMX można skonfigurować tak, aby wymagał podania nazwy użytkownika i hasła. Zobacz Więcej informacji znajdziesz w artykule Monitorowanie.
- Opcjonalnie możesz skonfigurować dostęp TLS/SSL dla określonych połączeń, które mogą używać przez różne porty. Zobacz TLS/SSL: i innych.
- Jeśli konfigurujesz 2 węzły Postgres do użycia replikacji w trybie gotowości mastera, musisz otworzyć port 22 w każdym węźle, aby uzyskać dostęp przez SSH. Możesz opcjonalnie otworzyć porty w poszczególnych węzłach, aby zezwolić na dostępu przez SSH.
- Możesz skonfigurować serwer zarządzania i interfejs użytkownika brzegowego do wysyłania e-maili przy użyciu zewnętrznego serwera SMTP serwera. Jeśli tak, upewnij się, że serwer zarządzania i interfejs użytkownika mają dostęp do niezbędnych na serwerze SMTP. W przypadku serwera SMTP bez szyfrowania TLS numer portu to zwykle 25. Z włączonym protokołem TLS SMTP, często jest to kod 465, ale skontaktuj się z dostawcą SMTP.
Tabela poniżej pokazuje, które porty muszą być otwarte w zaporach sieciowych przez komponent Edge:
| Komponent | Port | Opis |
|---|---|---|
| Standardowe porty HTTP | 80 443 | HTTP i wszelkie inne porty używane dla hostów wirtualnych |
| Serwer zarządzania | 8080 | Port dla wywołań interfejsu Edge Management API. Te komponenty wymagają dostępu do portu 8080 serwer zarządzania: router, procesor wiadomości, interfejs użytkownika, Postgres i Qpid. |
| 1099 | Port JMX | |
| 4526 | Do rozproszonej pamięci podręcznej i wywołań zarządzania | |
| Interfejs zarządzania | 9000 | Port umożliwiający dostęp przeglądarki do interfejsu zarządzania |
| procesor komunikatów | 8998 | Port procesora wiadomości na potrzeby komunikacji z routera |
| 8082 |
Domyślny port zarządzania dla procesora wiadomości i musi być otwarty w komponencie dla dostęp przez serwer zarządzania. Jeśli skonfigurujesz protokół TLS/SSL między routerem a procesorem wiadomości, będzie używany przez router do przeprowadzania kontroli stanu w procesorze wiadomości. |
|
| 1101 | Port JMX | |
| 4528 | Do rozproszonej pamięci podręcznej i wywołań zarządzania między procesorami wiadomości oraz dla komunikacja z routera i serwera zarządzania | |
| Router | 8081 | Domyślny port zarządzania routera i musi być otwarty w komponencie, aby mieć do niego dostęp przez serwer zarządzania. |
| 4527 | Do rozproszonej pamięci podręcznej i wywołań zarządzania | |
| 15999 |
Port kontroli stanu. System równoważenia obciążenia używa tego portu do określenia, czy router i dostępności informacji. Aby uzyskać stan routera, system równoważenia obciążenia wysyła żądanie do portu 15999 Router: curl -v http://routerIP:15999/v1/servers/self/reachable Jeśli router jest osiągalny, żądanie zwraca kod HTTP 200. |
|
| 59001 | Port używany do testowania instalacji Edge przez narzędzie apigee-validate.
To narzędzie wymaga dostępu do portu 59001 w routerze. Zobacz
Przetestuj instalację, aby uzyskać więcej informacji na porcie 59001. |
|
| ZooKeeper | 2181 | Używane przez inne komponenty, takie jak serwer zarządzania, router, procesor wiadomości itp. |
| 2888 3888 | Używany wewnętrznie przez ZooKeeper do gromady ZooKeeper (znanej jako zestaw ZooKeeper) komunikacja | |
| Cassandra | 7000, 9042, 9160 | Porty Apache Cassandra służące do komunikacji między węzłami Cassandra i do dostępu z innymi komponentami Edge. |
| 7199 | Port JMX. Musi być otwarty dla dostępu dla serwera zarządzania. | |
| Qpid | 5672 | Służy do komunikacji między routerem i procesorem wiadomości z serwerem Qpid |
| 8083 | Domyślny port zarządzania na serwerze Qpid i musi być otwarty w komponencie przez dostęp przez serwer zarządzania. | |
| 1102 | Port JMX | |
| 4529 | Do rozproszonej pamięci podręcznej i wywołań zarządzania | |
| Postgres | 5432 | Służy do komunikacji między serwerem Qpid/serwerem zarządzania a Postgres |
| 8084 | Domyślny port zarządzania na serwerze Postgres i musi być otwarty w komponencie, aby mieć do niego dostęp przez serwer zarządzania. | |
| 1103 | Port JMX | |
| 4530 | Do rozproszonej pamięci podręcznej i wywołań zarządzania | |
| 22 | W przypadku konfigurowania 2 węzłów Postgres pod kątem użycia replikacji w trybie gotowości mastera musisz otworzyć przez port 22 w każdym węźle, aby umożliwić dostęp przez SSH. | |
| LDAP | 10389 | OpenLDAP |
| SmartDocs | 59002 | Port na routerze brzegowym, do którego wysyłane są żądania stron SmartDocuments. |
Następna tabela zawiera te same porty, wymienione numerycznie, ze źródłem i miejscem docelowym. komponenty:
| Numer portu | Cel | Komponent źródłowy | Komponent Miejsce docelowe |
|---|---|---|---|
| virtual_host_port | HTTP i wszystkie inne porty używane do obsługi ruchu wywołanego interfejsem API hosta wirtualnego. Porty 80 i 443 są najczęściej używane. Router wiadomości może kończyć połączenia TLS/SSL. | Zewnętrzny klient (lub system równoważenia obciążenia) | Detektor w routerze wiadomości |
| Od 1099 do 1103 | Zarządzanie JMX | Klient JMX | Serwer zarządzania (1099) Procesor komunikatów (1101) Serwer Qpid (1102) Serwer Postgres (1103) |
| 2181 | Komunikacja z klientem Zookeeper | Serwer zarządzania Router Procesor wiadomości Serwer Qpid Serwer Postgres |
Miłośnik zoo |
| 2888 i 3888 | Zarządzanie międzywęzłami w zookeeper | Miłośnik zoo | Miłośnik zoo |
| 4526 | Port zarządzania RPC | Serwer zarządzania | Serwer zarządzania |
| 4527 | Port zarządzania RPC do rozproszonej pamięci podręcznej i wywołań zarządzania oraz do komunikacji między routerami | Router zarządzania serwerem zarządzania |
Router |
| 4528 | Do wywołań rozproszonej pamięci podręcznej między procesorami wiadomości oraz na potrzeby komunikacji z routera | Serwer zarządzania Router Procesor komunikatów |
procesor komunikatów |
| 4529 | Port zarządzania RPC na potrzeby rozproszonej pamięci podręcznej i wywołań zarządzania | Serwer zarządzania | Serwer Qpid |
| 4530 | Port zarządzania RPC na potrzeby rozproszonej pamięci podręcznej i wywołań zarządzania | Serwer zarządzania | Serwer Postgres |
| 5432 | Klient Postgres | Serwer Qpid | Postgres |
| 5672 |
Służy do wysyłania statystyk z routera i procesora wiadomości do Qpid |
Router Procesor komunikatów |
Serwer Qpid |
| 7000 | Komunikacja między węzłami Cassandra | Cassandra | Inny węzeł Cassandra |
| 7199 | Zarządzanie JMX. Musi być otwarty dla dostępu do węzła Cassandra przez zarządzanie Serwer | Klient JMX | Cassandra |
| 8080 | Port interfejsu API zarządzania | Klienty interfejsu API zarządzania | Serwer zarządzania |
| 8081 do 8084 |
Porty interfejsu API komponentu używane do wysyłania żądań do interfejsu API bezpośrednio do poszczególnych komponentów. Każdy komponent otwiera inny port. Dokładny użyty port zależy od konfiguracji ale musi być otwarty w komponencie, aby serwer zarządzania miał dostęp |
Klienty interfejsu API zarządzania | Router (8081) Procesor komunikatów (8082) Serwer Qpid (8083) Serwer Postgres (8084) |
| 8998 | Komunikacja między routerem a procesorem wiadomości | Router | procesor komunikatów |
| 9000 | Domyślny port interfejsu zarządzania krawędziami | Przeglądarka | Serwer interfejsu użytkownika zarządzania |
| 9042 | Transport natywny CQL | Router Procesor wiadomości Serwer zarządzania |
Cassandra |
| 9160 | klient korzystający z używanych usług Cassandra | Router Procesor wiadomości Serwer zarządzania |
Cassandra |
| 10389 | Port LDAP | Serwer zarządzania | OpenLDAP |
| 15999 | Port kontroli stanu. System równoważenia obciążenia używa tego portu do określenia, czy router i dostępności informacji. | System równoważenia obciążenia | Router |
| 59001 | Port używany przez narzędzie apigee-validate do testowania instalacji Edge |
apigee-validate | Router |
| 59002 | Port routera, na który są wysyłane żądania strony dotyczące SmartDocuments | SmartDocs | Router |
Procesor wiadomości pozostawia otwartą dedykowaną pulę połączeń dla Cassandra, która została skonfigurowana aby nigdy nie wygasły. Gdy zapora sieciowa znajduje się między procesorem wiadomości a serwerem Cassandra, zapora sieciowa może przekroczyć limit czasu połączenia. Przetwarzanie wiadomości nie jest jednak przeznaczone odzyskać połączenia z Cassandra.
Aby zapobiec tej sytuacji, Apigee zaleca serwer Cassandra, procesor wiadomości routery są w tej samej podsieci, więc zapora sieciowa nie bierze udziału we wdrażaniu tych
Jeśli zapora sieciowa znajduje się między routerem a procesorami wiadomości i ma ustawiony limit czasu bezczynności serwera tcp, nasze zalecenia to:
- Ustaw
net.ipv4.tcp_keepalive_time = 1800w ustawieniach sysctl w systemie Linux, gdzie Wartość 1800 powinna być niższa niż limit czasu tcp bezczynnego zapory sieciowej. To ustawienie powinno zachować połączenia, tak by zapora sieciowa nie rozłączyła się. - Edytuj na wszystkich procesorach wiadomości
/opt/apigee/customer/application/message-processor.propertiesaby dodać tę właściwość. Jeśli plik nie istnieje, utwórz go.conf_system_cassandra.maxconnecttimeinmillis=-1
- Ponownie uruchom procesor wiadomości:
/opt/apigee/apigee-service/bin/apigee-service edge-message-processor restart
- Edytuj
/opt/apigee/customer/application/router.propertieswe wszystkich routerach aby dodać tę właściwość. Jeśli plik nie istnieje, utwórz go.conf_system_cassandra.maxconnecttimeinmillis=-1
- Ponownie uruchom router:
/opt/apigee/apigee-service/bin/apigee-service edge-router restart
Jeśli instalujesz konfigurację klastra z 12 hostami i 2 centrami danych, upewnij się, że Węzły w dwóch centrach danych mogą komunikować się przez porty wymienione poniżej:

Wymagania dotyczące portu BaaS interfejsu API
Jeśli zdecydujesz się na zainstalowanie funkcji BaaS API, musisz dodać komponenty BaaS stosu i portalu BaaS API. Te komponenty korzystają z portów pokazanych na ilustracji poniżej:

Uwagi do tego diagramu:
- Portal BaaS API nigdy nie wysyła żądań bezpośrednio do węzła stosu BaaS. Gdy deweloper loguje się w portalu, aplikacja Portal jest pobierana do przeglądarki. Aplikacja portalu działająca w przeglądarka następnie wysyła żądania do węzłów stosu BaaS.
- Instalacja produkcyjna interfejsu API BaaS korzysta z systemu równoważenia obciążenia między węzłem portalu BaaS API i węzłów stosu BaaS API. Podczas konfigurowania portalu i wykonywania wywołań interfejsu BaaS API podaj adres IP lub nazwę DNS systemu równoważenia obciążenia, a nie węzłów stosu.
- Wszystkie węzły stosu muszą otworzyć port 2551 dla dostępu z pozostałych węzłów stosu (wskazanych przez strzałka pętli na diagramie powyżej dla portu 2551 w węzłach stosu). Jeśli masz wiele danych Centra danych, port musi być dostępny ze wszystkich węzłów stosu we wszystkich centrach danych.
- Musisz skonfigurować wszystkie węzły stosu Baas tak, aby wysyłały e-maile przez zewnętrzny serwer SMTP. Dla: SMTP bez szyfrowania TLS, numer portu to zwykle 25. W przypadku serwera SMTP z włączonym protokołem TLS często jest to kod 465, ale sprawdź, czy u swojego dostawcy SMTP.
- Węzły Cassandra mogą być dedykowane dla API BaaS lub można je udostępnić Edge.
Tabela poniżej przedstawia domyślne porty, które muszą być otwarte w zaporach sieciowych według komponentu:
| Komponent | Port | Opis |
|---|---|---|
| Portal BaaS API | 9000 | Port dla interfejsu API BaaS |
| Stos BaaS API | 8080 | Port, na który odbierane są żądania do interfejsu API |
| 2551 |
Port do komunikacji między wszystkimi węzłami stosu. Musi być dostępny dla wszystkich pozostałych stosów w węzłach kolby danych. Jeśli masz kilka centrów danych, port musi być dostępny ze wszystkich węzłów stosu do wszystkich centrów danych. |
|
| ElasticSearch | 9200–9400 | Do komunikacji ze stosem BaaS API i między ElasticSearch węzłów |
Licencjonowanie
Każda instalacja Edge wymaga unikalnego pliku licencji uzyskanego z Apigee. Ty musisz podać ścieżkę do pliku licencji podczas instalowania serwera zarządzania, na przykład /tmp/license.txt.
Instalator skopiuje plik licencji do
/opt/apigee/customer/conf/license.txt
Jeśli plik licencji jest prawidłowy, serwer zarządzania sprawdza datę ważności i dozwoloną wiadomość
Liczba procesorów (MP). Jeśli któreś z ustawień licencji wygaśnie, dzienniki znajdziesz w
ta lokalizacja: /opt/apigee/var/log/edge-management-server/logs.
W takim przypadku możesz skontaktować się z zespołem pomocy Apigee Edge, aby uzyskać szczegółowe informacje o migracji.
Jeśli nie masz jeszcze licencji, skontaktuj się z zespołem sprzedaży Apigee.