Edge для частного облака v. 4.17.01
Требования к оборудованию
Вы должны соответствовать следующим минимальным требованиям к оборудованию для высокодоступной инфраструктуры в среде производственного уровня. Для всех сценариев установки, описанных в разделе «Топологии установки» , в следующих таблицах указаны минимальные требования к оборудованию для компонентов установки.
В этих таблицах требования к жесткому диску указаны в дополнение к пространству на жестком диске, необходимому операционной системе. В зависимости от ваших приложений и сетевого трафика для вашей установки может потребоваться больше или меньше ресурсов, чем указано ниже.
Компонент установки | БАРАН | Процессор | Минимальный жесткий диск |
|---|---|---|---|
Кассандра | 16 ГБ | 8-ядерный | Локальное хранилище объемом 250 ГБ с твердотельным накопителем или быстрым жестким диском с поддержкой 2000 операций ввода-вывода в секунду. |
Процессор сообщений/маршрутизатор на одном компьютере | 8/16 ГБ | 4‑ядерный † | 100 ГБ |
Аналитика — Postgres/Qpid на том же сервере (не рекомендуется для производства) | 16 ГБ* | 8-ядерный* | Сетевое хранилище объемом от 500 ГБ до 1 ТБ**, желательно с серверным твердотельным накопителем, поддерживающим 1000 операций ввода-вывода в секунду или выше*. |
Аналитика — автономный Postgres | 16 ГБ* | 8-ядерный* | Сетевое хранилище объемом от 500 ГБ до 1 ТБ**, желательно с серверным твердотельным накопителем, поддерживающим 1000 операций ввода-вывода в секунду или выше*. |
Аналитика – автономный Qpid | 8 ГБ | 4-ядерный | 30–50 ГБ локальной памяти с SSD или быстрым жестким диском Для установок с производительностью более 250 TPS рекомендуется использовать жесткий диск с локальным хранилищем, поддерживающим 1000 IOPS. Размер очереди Qpid по умолчанию составляет 20 ГБ. Если вам нужно увеличить емкость, добавьте дополнительные узлы Qpid. |
Другое (OpenLDAP, пользовательский интерфейс, сервер управления) | 4ГБ | 2-ядерный | 60 ГБ |
† Настройте системные требования процессора сообщений в зависимости от пропускной способности: Минимальная рекомендация — 4 ядра и 8 ядер для системы с высокой пропускной способностью. Вы можете запустить тесты производительности, чтобы определить оптимальный размер ваших API. | |||
*Настройте системные требования Postgres в зависимости от пропускной способности:
| |||
**Значение жесткого диска Postgres основано на готовых аналитических данных, полученных Edge. Если вы добавляете пользовательские значения к данным аналитики, то эти значения следует соответствующим образом увеличить. Используйте следующую формулу для оценки необходимого объема хранилища: | |||
*** Сетевое хранилище рекомендуется для базы данных Postgresql, потому что:
| |||
Кроме того, ниже перечислены требования к оборудованию, если вы хотите установить Службы монетизации:
Компонент с монетизацией | БАРАН | Процессор | Жесткий диск |
|---|---|---|---|
Сервер управления (со службами монетизации) | 8 ГБ | 4-ядерный | 60 ГБ |
Аналитика — Postgres/Qpid на том же сервере | 16 ГБ | 8-ядерный | Сетевое хранилище от 500 ГБ до 1 ТБ, желательно с серверной частью SSD, поддерживающее 1000 IOPS или выше, или используйте правило из таблицы выше. |
Аналитика — автономный Postgres | 16 ГБ | 8-ядерный | Сетевое хранилище от 500 ГБ до 1 ТБ, желательно с серверной частью SSD, поддерживающее 1000 IOPS или выше, или используйте правило из таблицы выше. |
Аналитика – автономный Qpid | 8 ГБ | 4-ядерный | 40–500 ГБ локальной памяти с SSD или быстрым жестким диском Для установок с производительностью более 250 TPS рекомендуется использовать жесткий диск с локальным хранилищем, поддерживающим 1000 IOPS. |
Ниже перечислены требования к оборудованию, если вы хотите установить API BaaS:
API-компонент BaaS | БАРАН | Процессор | Жесткий диск |
|---|---|---|---|
ЭластичныйПоиск* | 8 ГБ | 4-ядерный | 60–80 ГБ |
Стек API BaaS * | 8 ГБ | 4-ядерный | 60–80 ГБ |
API BaaS-портал | 1 ГБ | 2-ядерный | 20 ГБ |
Cassandra (необязательно — обычно вы используете один и тот же кластер Cassandra как для Edge, так и для служб API BaaS) | 16 ГБ | 8-ядерный | Локальное хранилище объемом 250 ГБ с твердотельным накопителем или быстрым жестким диском с поддержкой 2000 операций ввода-вывода в секунду. |
* Вы можете установить ElasticSearch и API BaaS Stack на одном узле. Если да, настройте ElasticSearch на использование 4 ГБ памяти (по умолчанию). Если ElasticSearch установлен на отдельном узле, настройте его на использование 6 ГБ памяти. | |||
Примечание :
- Если корневая файловая система недостаточно велика для установки, рекомендуется разместить данные на диске большего размера.
- Если на компьютере была установлена более старая версия Apigee Edge для частного облака, убедитесь, что вы удалили папку /tmp/java перед новой установкой.
- Общесистемной временной папке /tmp необходимы разрешения на выполнение для запуска Cassandra.
- Если пользователь «apigee» был создан до установки, убедитесь, что «/home/apigee» существует в качестве домашнего каталога и принадлежит «apigee:apigee».
Требования к операционной системе и стороннему программному обеспечению
Эти инструкции по установке и прилагаемые установочные файлы были протестированы на операционных системах и стороннем программном обеспечении, перечисленных здесь: https://apigee.com/docs/api-services/reference/supported-software .
Создание пользователя apigee
Процедура установки создает пользователя системы Unix с именем «apigee». Каталоги и файлы Edge, как и процессы Edge, принадлежат Apigee. Это означает, что компоненты Edge запускаются от имени пользователя apigee. при необходимости вы можете запускать компоненты от имени другого пользователя. Пример см. в разделе «Привязка маршрутизатора к защищенному порту» в разделе «Установка компонентов Edge на узле» .
Каталог установки
По умолчанию установщик записывает все файлы в каталог /opt/apigee . Вы не можете изменить расположение этого каталога. Хотя вы не можете изменить этот каталог, вы можете создать символическую ссылку для сопоставления /opt/apigee с другим местоположением, как описано ниже.
В инструкциях данного руководства каталог установки обозначен как /<inst_root>/apigee , где /<inst_root> по умолчанию равен /opt .
Создание символической ссылки из /opt/apigee
Прежде чем создавать символическую ссылку, вы должны сначала создать пользователя и группу с именем «apigee». Это та же группа и пользователь, созданные установщиком Edge.
Чтобы создать символическую ссылку, выполните следующие действия перед загрузкой файла bootstrap_4.17.01.sh. Вы должны выполнить все эти шаги как пользователь root:
- Создайте пользователя и группу «apigee»:
> groupadd -r апигее
> useradd -r -g apigee -d /opt/apigee -s /sbin/nologin -c «Пользователь платформы Apigee» apigee - Создайте символическую ссылку из /opt/apigee на желаемый корень установки:
> ln -Ts /srv/myInstallDir /opt/apigee
где /srv/myInstallDir — желаемое расположение файлов Edge. - Измените владельца корня установки и символическую ссылку на пользователя «apigee»:
> chown -h apigee:apigee /srv/myInstallDir /opt/apigee
Ява
Перед установкой на каждом компьютере должна быть установлена поддерживаемая версия Java1.8. Поддерживаемые JDK перечислены здесь:
https://apigee.com/docs/api-services/reference/supported-software
Убедитесь, что JAVA_HOME указывает на корень JDK пользователя, выполняющего установку.
SELinux
В зависимости от ваших настроек SELinux, Edge может столкнуться с проблемами при установке и запуске компонентов Edge. При необходимости вы можете отключить SELinux или перевести его в разрешительный режим во время установки, а затем снова включить его после установки. Дополнительные сведения см. в разделе Установка утилиты Edge apigee-setup .
Настройка сети
Перед установкой рекомендуется проверить настройки сети. Установщик ожидает, что все машины будут иметь фиксированные IP-адреса. Используйте следующие команды для проверки настройки:
- имя хоста возвращает имя машины
- имя_хоста -i возвращает IP-адрес имени хоста, к которому можно обращаться с других компьютеров.
В зависимости от типа и версии вашей операционной системы вам, возможно, придется отредактировать /etc/hosts и /etc/sysconfig/network, если имя хоста установлено неправильно. Дополнительную информацию см. в документации к вашей конкретной операционной системе.
TCP-обертки
TCP-обертки могут блокировать связь некоторых портов и влиять на установку OpenLDAP, Postgres и Cassandra. На этих узлах проверьте /etc/hosts.allow и /etc/hosts.deny, чтобы убедиться в отсутствии ограничений на необходимые порты OpenLDAP, Postgres и Cassandra.
iptables
Убедитесь, что нет политик iptables, препятствующих подключению между узлами через необходимые порты Edge. При необходимости остановить iptables во время установки можно командой:
> sudo /etc/init.d/iptables stop
В CentOS 7.x:
> systemctl stop firewalld
Убедитесь, что Edge Router имеет доступ к /etc/rc.d/init.d/functions.
Узлы Edge Router и BaaS Portal используют маршрутизатор Nginx и требуют доступа на чтение к /etc/rc.d/init.d/functions .
Если ваш процесс безопасности требует от вас установки разрешений для /etc/rc.d/init.d/functions , не устанавливайте для них значение 700, иначе маршрутизатор не запустится. Разрешения могут быть установлены на 744, чтобы разрешить доступ для чтения к /etc/rc.d/init.d/functions .
Кассандра
Все узлы Cassandra должны быть подключены к кольцу. Cassandra хранит реплики данных на нескольких узлах, чтобы обеспечить надежность и отказоустойчивость. Стратегия репликации для каждого пространства ключей Edge определяет узлы Cassandra, на которых размещаются реплики. Дополнительные сведения см. в разделе О коэффициенте репликации Cassandra и уровне согласованности .
Cassandra автоматически корректирует размер кучи Java в зависимости от доступной памяти. Дополнительную информацию см. в разделе Настройка ресурсов Java . В случае ухудшения производительности или высокого потребления памяти.
После установки Edge для частного облака вы можете проверить правильность настройки Cassandra, проверив файл /<inst_root>/apigee/apigee-cassandra/conf/cassandra.yaml . Например, убедитесь, что в сценарии установки Edge для частного облака заданы следующие свойства:
- имя_кластера
- начальный_токен
- разделитель
- семена
- прослушиваемый_адрес
- rpc_address
- стукач
Внимание : не редактируйте этот файл.
База данных PostgreSQL
После установки Edge вы можете настроить следующие параметры базы данных PostgreSQL в зависимости от объема оперативной памяти, доступной в вашей системе:
conf_postgresql_shared_buffers = 35% of RAM # min 128kB conf_postgresql_effective_cache_size = 45% of RAM conf_postgresql_work_mem = 512MB # min 64kB
Чтобы установить эти значения:
- Отредактируйте postgresql.properties:
> vi /<inst_root>/apigee/customer/application/postgresql.properties
Если файл не существует, создайте его. - Установите свойства, перечисленные выше.
- Сохраните изменения.
- Перезапустите базу данных PostgreSQL:
> /<inst_root>/apigee/apigee-service/bin/apigee-service перезапуск apigee-postgresql
Системные ограничения
Убедитесь, что вы установили следующие системные ограничения для узлов Cassandra и Message Processor:
- На узлах Cassandra установите ограничения программной и жесткой блокировки памяти, nofile и адресного пространства (как) для пользователя установки (по умолчанию — «apigee») в /etc/security/limits.d/90-apigee-edge-limits.conf , как показано. ниже:
Apigee Soft Memlock безлимитный
Apigee Hard Memlock без ограничений
Мягкий файл Apigee 32768
Apigee жесткий nofile 65536
Apigee Soft как неограниченный
Apigee Hard как неограниченный - На узлах процессора сообщений установите максимальное количество дескрипторов открытых файлов равным 64 КБ в /etc/security/limits.d/90-apigee-edge-limits.conf , как показано ниже:
Мягкий файл Apigee 32768
Apigee жесткий nofile 65536
При необходимости вы можете увеличить этот лимит. Например, если у вас одновременно открыто большое количество временных файлов.
JSVC
«jsvc» является обязательным условием для использования API BaaS. Версия 1.0.15-dev устанавливается при установке API BaaS.
Службы сетевой безопасности (NSS)
Службы сетевой безопасности (NSS) — это набор библиотек, которые поддерживают разработку клиентских и серверных приложений с поддержкой безопасности. Вам следует убедиться, что у вас установлена NSS v3.19 или более поздняя версия.
Чтобы проверить текущую версию:
> yum info nss
Чтобы обновить NSS:
> yum update nss
Дополнительную информацию см. в этой статье RedHat.
Отключить поиск DNS на IPv6 при использовании NSCD (демон кэша службы имен)
Если вы установили и включили NSCD (демон кэша службы имен), процессоры сообщений выполняют два поиска DNS: один для IPv4 и один для IPv6. При использовании NSCD следует отключить поиск DNS на IPv6.
Чтобы отключить поиск DNS на IPv6:
- На каждом узле процессора сообщений отредактируйте /etc/nscd.conf.
- Установите следующее свойство:
включить кэш хостов нет
Отключите IPv6 на Google Cloud Platform для RedHat/CentOS 7.
если вы устанавливаете Edge на RedHat 7 или CentOS 7 на Google Cloud Platform, вам необходимо отключить IPv6 на всех узлах Qpid.
Инструкции по отключению IPv6 см. в документации RedHat или CentOS для вашей конкретной версии ОС.
АВС АМИ
Если вы устанавливаете Edge на образ машины AWS Amazon (AMI) для Red Hat Enterprise Linux 7.x, сначала необходимо выполнить следующую команду:
> yum-config-manager --enable rhui-REGION-rhel-server-extras rhui-REGION-rhel-server-optional
Инструменты
Программа установки использует следующие инструменты UNIX в стандартной версии, предоставляемой EL5 или EL6.
ок | выражение | Lua-сокет | об/мин | разархивировать |
базовое имя | grep | лс | rpm2cpio | добавить пользователя |
бить | имя хоста | сетевые инструменты | СЭД | Туалет |
до нашей эры | идентификатор | perl (из реквизита) | судо | wget |
завиток | Либайо | pgrep (из procps) | смола | xerces-c |
Сайрус-Сасл | libdb-cxx | пс | тр | ням |
дата | libibглаголы | страдающий | uuid | chkconfig |
| имя каталога | librdmacm | питон | не называть имя | |
| эхо | libxslt |
Примечание:
- Исполняемый файл инструмента useradd находится в /usr/sbin , а chkconfig — в /sbin .
- С помощью доступа sudo вы можете получить доступ к среде вызывающего пользователя, например, обычно вы вызываете « sudo <команда> » или « sudo PATH=$PATH:/usr/sbin:/sbin <команда> ».
- Перед установкой пакета обновления (исправления) убедитесь, что у вас установлен инструмент «исправления».
ntpdate – рекомендуется синхронизировать время серверов. Если это еще не настроено, для этой цели может служить утилита «ntpdate», которая проверяет, синхронизированы ли серверы по времени. Вы можете использовать « yum install ntp » для установки утилиты. Это особенно полезно для репликации настроек OpenLDAP. Обратите внимание, что вы устанавливаете часовой пояс сервера в формате UTC.
openldap 2.4 – для локальной установки требуется OpenLDAP 2.4. Если ваш сервер имеет подключение к Интернету, сценарий установки Edge загружает и устанавливает OpenLDAP. Если ваш сервер не имеет подключения к Интернету, вы должны убедиться, что OpenLDAP уже установлен, прежде чем запускать сценарий установки Edge. В RHEL/CentOS вы можете запустить « yum install openldap-clients openldap-servers », чтобы установить OpenLDAP.
Для установок с 13 хостами и установок с 12 хостами с двумя центрами обработки данных требуется репликация OpenLDAP, поскольку существует несколько узлов, на которых размещен OpenLDAP.
Брандмауэры и виртуальные хосты
Термин «виртуальный» обычно перегружен в сфере ИТ, как и в случае с Apigee Edge для развертывания частного облака и виртуальных хостов. Чтобы уточнить, есть два основных использования термина «виртуальный»:
- Виртуальные машины (ВМ) : не обязательно, но в некоторых развертываниях используется технология виртуальных машин для создания изолированных серверов для своих компонентов Apigee. Хосты виртуальных машин, как и физические хосты, могут иметь сетевые интерфейсы и брандмауэры.
- Виртуальные хосты : конечные точки веб-сайта, аналогичные виртуальному хосту Apache.
Маршрутизатор в виртуальной машине может предоставлять доступ к нескольким виртуальным хостам (при условии, что они отличаются друг от друга псевдонимом хоста или интерфейсным портом).
В качестве примера именования: на одном физическом сервере «А» могут работать две виртуальные машины с именами «VM1» и «VM2». Предположим, VM1 предоставляет виртуальный интерфейс Ethernet, который внутри виртуальной машины называется eth0 и которому присвоен IP-адрес 111.111.111.111 механизмом виртуализации или сетевым DHCP-сервером; а затем предположим, что VM2 предоставляет виртуальный интерфейс Ethernet, также называемый eth0, и ему назначается IP-адрес 111.111.111.222 .
У нас может быть маршрутизатор Apigee, работающий на каждой из двух виртуальных машин. Маршрутизаторы предоставляют конечные точки виртуальных хостов, как в этом гипотетическом примере:
Маршрутизатор Apigee в VM1 предоставляет три виртуальных хоста на своем интерфейсе eth0 (который имеет определенный IP-адрес): api.mycompany.com:80, api.mycompany.com:443 и test.mycompany.com:80 .
Маршрутизатор в VM2 предоставляет api.mycompany.com:80 (то же имя и порт, что и в VM1).
Операционная система физического хоста может иметь сетевой брандмауэр; если да, то этот брандмауэр должен быть настроен для пропуска TCP-трафика, связанного с портами, доступными на виртуализированных интерфейсах ( 111.111.111.111:{80, 443} и 111.111.111.222:80 ). Кроме того, операционная система каждой виртуальной машины может предоставлять собственный брандмауэр на своем интерфейсе eth0, и они также должны разрешать подключение трафика через порты 80 и 443 .
Базовый путь — это третий компонент, участвующий в маршрутизации вызовов API к различным прокси-серверам API, которые вы, возможно, развернули. Пакеты прокси-серверов API могут использовать общую конечную точку, если у них разные базовые пути. Например, один базовый путь может быть определен как http://api.mycompany.com:80/ , а другой — как http://api.mycompany.com:80/salesdemo .
В этом случае вам понадобится какой-либо балансировщик нагрузки или директор трафика, разделяющий трафик http://api.mycompany.com:80/ между двумя IP-адресами ( 111.111.111.111 на VM1 и 111.111.111.222 на VM2). Эта функция специфична для вашей конкретной установки и настраивается вашей локальной сетевой группой.
Базовый путь задается при развертывании API. В приведенном выше примере вы можете развернуть два API, mycompany и testmycompany , для организации mycompany-org с виртуальным хостом, имеющим псевдоним хоста api.mycompany.com и порт, установленный на 80 . Если вы не объявите базовый путь при развертывании, то маршрутизатор не будет знать, на какой API отправлять входящие запросы.
Однако если вы развернете API testmycompany с базовым URL-адресом /salesdemo , пользователи получат доступ к этому API с помощью http://api.mycompany.com:80/salesdemo . Если вы развертываете свой API mycompany с базовым URL-адресом /, то ваши пользователи получают доступ к API по URL-адресу http://api.mycompany.com:80/ .
Требования к пограничному порту
Необходимость управления брандмауэром выходит за рамки только виртуальных хостов; Межсетевые экраны как виртуальной машины, так и физического хоста должны разрешать трафик для портов, необходимых компонентам для связи друг с другом.
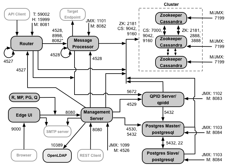
На следующем изображении показаны требования к портам для каждого компонента Edge:

Примечания к этой схеме:
- *Порт 8082 на процессоре сообщений должен быть открыт для доступа маршрутизатора только при настройке TLS/SSL между маршрутизатором и процессором сообщений. Если вы не настроили TLS/SSL между маршрутизатором и процессором сообщений, в конфигурации по умолчанию порт 8082 по-прежнему должен быть открыт на процессоре сообщений для управления компонентом, но маршрутизатору не требуется доступ к нему.
- Порты с префиксом «M» — это порты, используемые для управления компонентом, и они должны быть открыты на компоненте для доступа к ним со стороны сервера управления.
- Следующие компоненты требуют доступа к порту 8080 на сервере управления: маршрутизатор, процессор сообщений, пользовательский интерфейс, Postgres и Qpid.
- Процессор сообщений должен открыть порт 4528 в качестве порта управления. Если у вас несколько процессоров сообщений, все они должны иметь доступ друг к другу через порт 4528 (обозначен стрелкой цикла на схеме выше для порта 4528 на процессоре сообщений). Если у вас несколько центров обработки данных, порт должен быть доступен всем процессорам сообщений во всех центрах обработки данных.
- Хотя это и не требуется, вы можете открыть порт 4527 на маршрутизаторе для доступа к нему любого процессора сообщений. В противном случае вы можете увидеть сообщения об ошибках в файлах журнала процессора сообщений.
- Маршрутизатор должен открыть порт 4527 в качестве порта управления. Если у вас несколько маршрутизаторов, все они должны иметь доступ друг к другу через порт 4527 (обозначен стрелкой петли на схеме выше для порта 4527 на маршрутизаторе).
- Пользовательскому интерфейсу Edge требуется доступ к маршрутизатору через порты, предоставляемые прокси-серверами API, для поддержки кнопки «Отправить» в инструменте трассировки.
- Серверу управления требуется доступ к порту JMX на узлах Cassandra.
- Доступ к портам JMX можно настроить так, чтобы требовалось имя пользователя и пароль. Дополнительную информацию см. в разделе «Как отслеживать» .
- При желании вы можете настроить доступ TLS/SSL для определенных соединений, которые могут использовать разные порты. Дополнительную информацию см. в разделе TLS/SSL .
- При настройке двух узлов Postgres для использования репликации главный-резервный необходимо открыть порт 22 на каждом узле для доступа по ssh. При желании вы можете открыть порты на отдельных узлах, чтобы разрешить доступ по ssh.
- Вы можете настроить сервер управления и пограничный пользовательский интерфейс для отправки электронных писем через внешний SMTP-сервер. Если вы это сделаете, вы должны убедиться, что сервер управления и пользовательский интерфейс могут получить доступ к необходимому порту на SMTP-сервере. Для SMTP без TLS номер порта обычно равен 25. Для SMTP с поддержкой TLS это часто 465, но уточните у своего поставщика SMTP.
В таблице ниже показаны порты, которые необходимо открыть в брандмауэрах с помощью компонента Edge:
Компонент | Порт | Описание |
|---|---|---|
Стандартные HTTP-порты | 80, 443 | HTTP плюс любые другие порты, которые вы используете для виртуальных хостов. |
Сервер управления | 8080 | Порт для вызовов API управления Edge. Этим компонентам требуется доступ к порту 8080 на сервере управления: маршрутизатор, процессор сообщений, пользовательский интерфейс, Postgres и Qpid. |
1099 | JMX-порт | |
4526 | Для распределенного кэша и вызовов управления | |
Интерфейс управления | 9000 | Порт для доступа браузера к пользовательскому интерфейсу управления |
Процессор сообщений | 8998 | Порт процессора сообщений для связи с маршрутизатором |
8082 | Порт управления по умолчанию для процессора сообщений должен быть открыт на компоненте для доступа к нему со стороны сервера управления. Если вы настраиваете TLS/SSL между маршрутизатором и процессором сообщений, он используется маршрутизатором для проверки работоспособности процессора сообщений. | |
1101 | JMX-порт | |
4528 | Для распределенного кэша и вызовов управления между процессорами сообщений, а также для связи с маршрутизатором. | |
Маршрутизатор | 8081 | Порт управления по умолчанию для маршрутизатора должен быть открыт на компоненте для доступа к нему со стороны сервера управления. |
4527 | Для распределенного кэша и вызовов управления | |
15999 | Порт проверки работоспособности. Балансировщик нагрузки использует этот порт, чтобы определить, доступен ли маршрутизатор. Чтобы получить статус Маршрутизатора, балансировщик нагрузки отправляет запрос на порт 15999 на Маршрутизаторе: > curl -v http://<routerIP>:15999/v1/servers/self/reachable Если маршрутизатор доступен, запрос возвращает HTTP 200. | |
59001 | Порт, используемый для тестирования установки Edge утилитой apigee-validate . Для этой утилиты требуется доступ к порту 59001 на маршрутизаторе. Дополнительную информацию см. в разделе Проверка установки на порту 59001. | |
смотритель зоопарка | 2181 | Используется другими компонентами, такими как сервер управления, маршрутизатор, процессор сообщений и т. д. |
2888, 3888 | Используется внутри ZooKeeper для связи кластера ZooKeeper (известного как ансамбль ZooKeeper). | |
Кассандра | 7000, 9042, 9160 | Порты Apache Cassandra для связи между узлами Cassandra и доступа к другим компонентам Edge. |
7199 | JMX-порт. Должен быть открыт для доступа Сервера управления. | |
Qpid | 5672 | Используется для связи между маршрутизатором и процессором сообщений с сервером Qpid. |
8083 | Порт управления по умолчанию на сервере Qpid должен быть открыт на компоненте для доступа к нему со стороны сервера управления. | |
1102 | JMX-порт | |
4529 | Для распределенного кэша и вызовов управления | |
Постгрес | 5432 | Используется для связи между Qpid/сервером управления и Postgres. |
8084 | Порт управления по умолчанию на сервере Postgres должен быть открыт на компоненте для доступа к нему со стороны сервера управления. | |
1103 | JMX-порт | |
4530 | Для распределенного кэша и вызовов управления | |
22 | При настройке двух узлов Postgres для использования репликации главный-резервный необходимо открыть порт 22 на каждом узле для доступа по ssh. | |
ЛДАП | 10389 | OpenLDAP |
СмартДокс | 59002 | Порт на Edge-маршрутизаторе, куда отправляются запросы страниц SmartDocs. |
В следующей таблице показаны те же порты, пронумерованные, с компонентами источника и назначения:
Номер порта | Цель | Исходный компонент | Целевой компонент |
|---|---|---|---|
<порт виртуального хоста#> | HTTP плюс любые другие порты, которые вы используете для трафика вызовов API виртуального хоста. Чаще всего используются порты 80 и 443; Маршрутизатор сообщений может завершать соединения TLS/SSL. | Внешний клиент (или балансировщик нагрузки) | Прослушиватель на маршрутизаторе сообщений |
с 1099 по 1103 | Управление JMX | JMX-клиент | Сервер управления (1099) Процессор сообщений (1101) Qpid-сервер (1102) Сервер Postgres (1103) |
2181 | Связь с клиентом Zookeeper | Сервер управления Маршрутизатор Процессор сообщений Qpid-сервер Постгрес-сервер | смотритель зоопарка |
2888 и 3888 | Управление межузлами Zookeeper | смотритель зоопарка | смотритель зоопарка |
4526 | Порт управления RPC | Сервер управления | Сервер управления |
| 4527 | Порт управления RPC для распределенного кэша и вызовов управления, а также для связи между маршрутизаторами. | Сервер управления Маршрутизатор | Маршрутизатор |
4528 | Для вызовов распределенного кэша между процессорами сообщений и для связи с маршрутизатором. | Сервер управления Маршрутизатор Процессор сообщений | Процессор сообщений |
| 4529 | Порт управления RPC для распределенного кэша и вызовов управления. | Сервер управления | Qpid-сервер |
| 4530 | Порт управления RPC для распределенного кэша и вызовов управления. | Сервер управления | Постгрес-сервер |
5432 | Клиент Postgres | Qpid-сервер | Постгрес |
5672 | Используется для отправки аналитики из маршрутизатора и процессора сообщений в Qpid. | Маршрутизатор Процессор сообщений | Qpid-сервер |
7000 | Межузловая связь Cassandra | Кассандра | Другой узел Кассандры |
7199 | Управление JMX. Должен быть открыт для доступа на узле Cassandra со стороны Сервера управления. | JMX-клиент | Кассандра |
8080 | Порт API управления | Клиенты API управления | Сервер управления |
с 8081 по 8084 | Порты API компонентов, используемые для отправки запросов API непосредственно к отдельным компонентам. Каждый компонент открывает отдельный порт; точный используемый порт зависит от конфигурации, но он должен быть открыт на компоненте для доступа к нему со стороны сервера управления. | Клиенты API управления | Маршрутизатор (8081) Процессор сообщений (8082) Qpid-сервер (8083) Сервер Postgres (8084) |
8998 | Связь между маршрутизатором и процессором сообщений | Маршрутизатор | Процессор сообщений |
9000 | Порт пользовательского интерфейса управления Edge по умолчанию | Браузер | Сервер пользовательского интерфейса управления |
9042 | Собственный транспорт CQL | Маршрутизатор Процессор сообщений Сервер управления | Кассандра |
9160 | Кассандра, клиент бережливости | Маршрутизатор Процессор сообщений Сервер управления | Кассандра |
10389 | LDAP-порт | Сервер управления | OpenLDAP |
| 15999 | Порт проверки работоспособности. Балансировщик нагрузки использует этот порт, чтобы определить, доступен ли маршрутизатор. | Балансировщик нагрузки | Маршрутизатор |
| 59001 | Порт, используемый утилитой apigee-validate для проверки установки Edge. | Apigee-проверить | Маршрутизатор |
59002 | Порт маршрутизатора, на который отправляются запросы страниц SmartDocs. | СмартДокс | Маршрутизатор |
Обработчик сообщений поддерживает выделенный пул соединений, открытый для Cassandra, который настроен на отсутствие тайм-аута. Когда межсетевой экран находится между процессором сообщений и сервером Cassandra, брандмауэр может прервать соединение. Однако процессор сообщений не предназначен для восстановления соединения с Cassandra.
Чтобы предотвратить такую ситуацию, Apigee рекомендует, чтобы сервер Cassandra, процессор сообщений и маршрутизаторы находились в одной подсети, чтобы межсетевой экран не участвовал в развертывании этих компонентов.
Если между маршрутизатором и процессорами сообщений установлен межсетевой экран и для него установлен тайм-аут простоя TCP, мы рекомендуем:
- Установите net.ipv4.tcp_keepalive_time = 1800 в настройках sysctl в ОС Linux, где 1800 должно быть меньше, чем тайм-аут TCP простоя брандмауэра. Этот параметр должен поддерживать соединение в установленном состоянии, чтобы брандмауэр не отключал соединение.
- На всех процессорах сообщений отредактируйте /<inst_root>/apigee/customer/application/message-processor.properties , чтобы добавить следующее свойство. Если файл не существует, создайте его.
conf_system_cassandra.maxconnecttimeinmillis=-1 - Перезапустите процессор сообщений:
> /opt/apigee/apigee-service/bin/apigee-service перезапуск процессора Edge-message - На всех маршрутизаторах отредактируйте /<inst_root>/apigee/customer/application/router.properties , чтобы добавить следующее свойство. Если файл не существует, создайте его.
conf_system_cassandra.maxconnecttimeinmillis=-1 - Перезагрузите маршрутизатор:
> /opt/apigee/apigee-service/bin/apigee-service перезапуск пограничного маршрутизатора
Если вы устанавливаете кластерную конфигурацию из 12 узлов с двумя центрами обработки данных, убедитесь, что узлы в двух центрах обработки данных могут обмениваться данными через порты, показанные ниже:

Требования к порту API BaaS
Если вы решите установить API BaaS, вы добавите компоненты API BaaS Stack и API BaaS Portal. Эти компоненты используют порты, показанные на рисунке ниже:

Примечания к этой схеме:
- Портал API BaaS никогда не отправляет запросы непосредственно к узлу стека BaaS. Когда разработчик входит на портал, приложение портала загружается в браузер. Приложение портала, работающее в браузере, затем отправляет запросы к узлам стека BaaS.
- Рабочая установка API BaaS использует балансировщик нагрузки между узлом портала API BaaS и узлами стека API BaaS. При настройке портала и при выполнении вызовов API BaaS вы указываете IP-адрес или DNS-имя балансировщика нагрузки, а не узлов стека.
- Все узлы стека должны открыть порт 2551 для доступа со всех других узлов стека (обозначено стрелкой цикла на схеме выше для порта 2551 на узлах стека). Если у вас несколько центров обработки данных, порт должен быть доступен со всех узлов стека во всех центрах обработки данных.
- Вы должны настроить все узлы Baas Stack для отправки электронной почты через внешний SMTP-сервер. Для SMTP без TLS номер порта обычно равен 25. Для SMTP с поддержкой TLS это часто 465, но уточните у своего поставщика SMTP.
- Узлы Cassandra могут быть выделены для API BaaS или могут использоваться совместно с Edge.
В таблице ниже показаны порты по умолчанию, которые необходимо открыть в брандмауэрах, по компонентам:
Компонент | Порт | Описание |
|---|---|---|
API BaaS-портала | 9000 | Порт для пользовательского интерфейса API BaaS |
API-стек BaaS | 8080 | Порт, на который принимаются запросы API |
| 2551 | Порт для связи между всеми узлами стека. Должен быть доступен всем остальным узлам стека в центре данных. Если у вас несколько центров обработки данных, порт должен быть доступен со всех узлов стека во всех центрах обработки данных. | |
ЭластичныйПоиск | с 9200 до 9400 | Для связи со стеком API BaaS и для связи между узлами ElasticSearch. |
Лицензирование
Для каждой установки Edge требуется уникальный файл лицензии, который вы получаете от Apigee. При установке сервера управления вам потребуется указать путь к файлу лицензии, например /tmp/license.txt.
Установщик копирует файл лицензии в /<inst_root>/apigee/customer/conf/license.txt .
Если файл лицензии действителен, сервер управления проверяет срок действия и разрешенное количество процессоров сообщений (MP). Если срок действия каких-либо настроек лицензии истек, вы можете найти журналы в следующем месте: /<inst_root>/apigee/var/log/edge-management-server/logs . В этом случае вы можете обратиться в службу поддержки Apigee для получения подробной информации о миграции.
Если у вас еще нет лицензии, свяжитесь с отделом продаж здесь .