Edge for Private Cloud s. 4.17.01
Donanım Gereksinimleri
Yüksek düzeyde kullanılabilir bir model için aşağıdaki minimum donanım gereksinimlerini karşılamanız gerekir: altyapı sunmanın en iyi yoludur. Şu makalede açıklanan tüm yükleme senaryoları için: Kurulum Topolojileri, aşağıdaki tablolarda yükleme bileşenlerinin minimum donanım gereksinimleri olup olmadığını kontrol edin.
Bu tablolarda, sabit disk gereksinimleri, işletim sistemidir. Uygulamalarınıza ve ağ trafiğinize bağlı olarak, aşağıda listelenenden daha fazla veya daha az kaynak gerektirir.
|
Yükleme Bileşeni |
RAM |
CPU |
Minimum sabit disk |
|---|---|---|---|
|
Cassandra |
16 GB |
8 Çekirdek |
2000 IOPS'yi destekleyen SSD veya hızlı HDD ile 250 GB yerel depolama alanı |
|
Aynı makinede mesaj işleyen/yönlendiren |
8/16GB |
4 Çekirdek† |
100GB |
|
Analytics - Aynı sunucuda Postgres/Qpid (üretim için önerilmez) |
16GB* |
8 Çekirdek* |
500 GB - 1 TB** ağ depolama alanı***, tercihen SSD arka ucuna sahip, 1.000 değerini destekler IOPS veya daha yüksek*. |
|
Analytics - Postgres bağımsız |
16GB* |
8 Çekirdek* |
Tercihen SSD arka ucuyla, 500 GB - 1 TB** ağ depolama alanı*** destekler.* |
|
Analytics - Qpid bağımsız |
8 GB |
4 Çekirdek |
SSD veya hızlı HDD ile 30 GB - 50 GB yerel depolama alanı 250 TPS'den yüksek kurulumlarda, yerel depolama alanı 1000 IOPS'yi destekleyen HDD, önerilir. Varsayılan Qpid sırası boyutu 20 GB'tır. Daha fazla kapasite eklemeniz gerekiyorsa Qpid düğümleri. |
|
Diğer (OpenLDAP, UI, Yönetim Sunucusu) |
4 GB |
2 Çekirdek |
60 GB |
|
† İşleme hızına göre Mesaj İşleyici sistem gereksinimlerini ayarlayın: Yüksek bir işleme hızı sistemi için minimum öneri 4 çekirdek ve 8 çekirdektir. API'leriniz için optimum boyutu belirlemek amacıyla performans testleri çalıştırabilirsiniz. |
|||
|
*Postgres sistem gereksinimlerini işleme hızına göre ayarlayın:
|
|||
|
**Postgres sabit disk değeri, Google Cloud Platform tarafından paylaşılan
Kenar. Analiz verilerine özel değerler eklerseniz bu değerler
uygun şekilde artmıştır. Gereken depolama alanını tahmin etmek için aşağıdaki formülü kullanın: |
|||
|
*** Ağ depolama, Postgresql veritabanı için önerilir çünkü:
|
|||
Ayrıca, Para Kazanma Hizmetleri:
|
Para Kazanmayla İlgili Bileşen |
RAM |
CPU |
Sabit disk |
|---|---|---|---|
|
Yönetim Sunucusu (Para Kazanma Hizmetleriyle birlikte) |
8 GB |
4 Çekirdek |
60 GB |
|
Analytics - Aynı sunucuda Postgres/Qpid |
16 GB |
8 Çekirdek |
Tercihen SSD arka ucuna sahip, 1.000 IOPS'yi destekleyen 500 GB - 1 TB ağ depolama alanı veya yukarıdaki tablodaki kuralı kullanın. |
|
Analytics - Postgres bağımsız |
16 GB |
8 Çekirdek |
Tercihen SSD arka ucuna sahip, 1.000 IOPS'yi destekleyen 500 GB - 1 TB ağ depolama alanı veya yukarıdaki tablodaki kuralı kullanın. |
|
Analytics - Qpid bağımsız |
8 GB |
4 Çekirdek |
SSD veya hızlı HDD ile 40 GB - 500 GB yerel depolama alanı
250 TPS'den yüksek kurulumlarda, yerel depolama alanı 1000 IOPS'yi destekleyen HDD,
önerilir.
|
API BaaS'yi yüklemek istiyorsanız donanım gereksinimleri aşağıda listelenmiştir:
|
API BaaS Bileşeni |
RAM |
CPU |
Sabit disk |
|---|---|---|---|
|
ElasticSearch* |
8 GB |
4 Çekirdek |
60 - 80GB |
|
API BaaS Yığını * |
8 GB |
4 Çekirdek |
60 - 80GB |
|
API BaaS Portalı |
1 GB |
2 Çekirdek |
20GB |
|
Cassandra (İsteğe bağlı. Genellikle Edge'in her ikisi için de aynı Cassandra kümesini kullanırsınız. ve API BaaS Hizmetleri) |
16 GB |
8 Çekirdek |
2000 IOPS'yi destekleyen SSD veya hızlı HDD ile 250 GB yerel depolama alanı |
|
* ElasticSearch ve API BaaS Stack'i aynı düğüme yükleyebilirsiniz. Bunu yaparsanız ElasticSearch'ü 4 GB bellek kullanacak şekilde yapılandırın (varsayılan). ElasticSearch yüklüyse düğümünü bulun ve 6 GB bellek kullanacak şekilde yapılandırın. |
|||
Not:
- Kök dosya sistemi yükleme için yeterince büyük değilse ve verileri daha büyük bir diske yerleştirin.
- Makinede Private Cloud için Apigee Edge'in eski bir sürümü yüklüyse Yeni bir yükleme işleminden önce /tmp/java klasörünü silin.
- Sistem genelindeki geçici /tmp klasörünün şunları yapmak için yürütme izinlerine ihtiyacı var: Cassandra'yı başlatıyorum.
- "Apigee" kullanıcısı kurulumdan önce oluşturulduysa “/home/Apigee” ana dizin olarak mevcuttur ve şuna aittir: "Apigee:Apigee"
İşletim Sistemi ve üçüncü taraf yazılım gereksinimleri
Bu yükleme talimatları ve sağlanan yükleme dosyaları şu adreste listelenen işletim sistemleri ve üçüncü taraf yazılımları gerekir: https://apigee.com/docs/api-services/reference/supported-software.
Apigee kullanıcısını oluşturma
Kurulum prosedürü, 'Apigee' adında bir Unix sistem kullanıcısı oluşturur. Uç dizinler ve dosyaları, Edge işlemlerinde olduğu gibi 'Apigee'ye aittir. Bu, Edge bileşenlerinin "Apigee" belirtir. gerekirse bileşenleri farklı bir kullanıcı olarak çalıştırabilirsiniz. Bkz. "Yönlendiriciyi Bağlama bağlantı noktasına düğümü görebilirsiniz.
Yükleme dizini
Varsayılan olarak, yükleyici tüm dosyaları /opt/apigee dizinine yazar. Bu ayarı değiştiremezsiniz. dizin konumu. Bu dizini değiştiremezsiniz ancak eşlemek için sembolik bir bağlantı oluşturabilirsiniz /opt/apigee aşağıda açıklandığı gibi başka bir konuma gidin.
Bu kılavuzdaki talimatlarda, yükleme dizini /<inst_root>/Apigee şeklinde belirtilmiştir. Burada, /<inst_root> varsayılan olarak /opt şeklindedir.
Şuradan sembolik bağlantı oluşturuluyor: /opt/apigee
Sembolik bağlantıyı oluşturmadan önce "Apigee" adlı bir kullanıcı ve grup oluşturmanız gerekir. Bu Edge yükleyici tarafından oluşturulan aynı grup ve kullanıcı.
Sembolik bağlantıyı oluşturmak için bootstrap_4.17.01.sh dosyasını indirmeden önce bu adımları uygulayın. Bu adımların tümünü kök olarak gerçekleştirmeniz gerekir:
- "Apigee" oluşturma kullanıcı ve grup:
> groupadd -r Apigee
> useradd -r -g Apigee -d /opt/ekip -s /sbin/nologin -c "Apigee platform kullanıcısı" Apigee - /opt/apigee bağlantısından istediğiniz yükleme ile sembolik bağlantı oluşturun
kök:
> ln -Ts /srv/myInstallDir /opt/Apigee
Burada /srv/myInstallDir, Edge'in istenen konumudur dosyası olarak da kaydedebilir. - Yükleme kökü ve sembolik bağlantısının sahipliğini "Apigee" ile değiştirme kullanıcı:
> chown -h Apigee:Apigee /srv/myInstallDir /opt/Apigee
Java
Yükleme işleminden önce her makinede desteklenen bir Java1.8 sürümü yüklü olmalıdır. Desteklenen JDK'ler burada listelenmiştir:
https://apigee.com/docs/api-services/reference/supported-software
JAVA_HOME işlevinin geçerli olduğundan emin olun kullanıcı için JDK'nın kök dizinine ekleyin.
SELinux
SELinux ayarlarınıza bağlı olarak, Edge yükleme ve başlatma sırasında sorunlarla karşılaşabilir Edge bileşenleri. Gerekirse, SELinux'u devre dışı bırakabilir veya sonra da yeniden etkinleştirmek anlamına gelir. Daha fazla bilgi için Edge Apigee-setup yardımcı programını yükleme bölümüne bakın.
Ağ Ayarı
Yüklemeden önce ağ ayarını kontrol etmeniz önerilir. Yükleyici tüm makinelerin sabit IP adreslerine sahip olmasını bekler. Aşağıdaki komutları kullanarak ayar:
- anamakineadı, adı döndürür ne kadarının olduğunu
- anamakineadı -i, IP'yi döndürür diğer makinelerden adreslenebilecek ana makine adının adresidir.
Ana makine adı farklıysa işletim sisteminizin türüne ve sürümüne bağlı olarak /etc/hosts ve /etc/sysconfig/network ağlarını düzenlemeniz gerekebilir emin olun. Daha fazla bilgi edinmek için işletim sisteminize özel dokümanlara bakın.
TCP Sarmalayıcıları
TCP Sarmalayıcıları, bazı bağlantı noktalarının iletişimini engelleyebilir ve OpenLDAP, Postgres ve Cassandra kurulumu. Bu düğümlerde /etc/hosts.allow ve /etc/hosts.deny adresini kontrol ederek Gerekli OpenLDAP, Postgres ve Cassandra'da bağlantı noktası kısıtlaması olmadığından emin olun. bağlantı noktaları.
iptable'lar
üzerindeki düğümler arasındaki bağlantıyı engelleyen iptables politikaları olmadığını doğrulayın. gereken Edge bağlantı noktalarının sayısı. Gerekirse, komut:
> sudo /etc/init.d/iptables stop
CentOS 7.x'te:
> systemctl stop firewalld
Uç Yönlendirici'nin şunları yapabildiğinden emin olun: /etc/rc.d/init.d/functions adresine erişim
Uç Yönlendirici ve BaaS Portalı düğümleri Nginx yönlendiriciyi kullanır ve okuma erişimi gerektirir /etc/rc.d/init.d/functions olarak değiştirin.
Güvenlik işleminiz /etc/rc.d/init.d/functions ile ilgili izinleri ayarlamanızı gerektiriyorsa 700 olarak ayarlamazsanız yönlendirici başlatılamaz. İzin vermek için izinleri 744 olarak ayarlayabilirsiniz /etc/rc.d/init.d/functions için okuma erişimi.
Cassandra
Tüm Cassandra düğümlerinin bir halkaya bağlı olması gerekir. Cassandra veri replikalarını şurada depoluyor: birden fazla düğüm oluşturun. Her biri için çoğaltma stratejisi Edge tuş alanı, replikaların yerleştirildiği Cassandra düğümlerini belirler. Daha fazla bilgi için Cassandra hakkında Çoğaltma Faktörü ve Tutarlılık Düzeyi.
Cassandra, Java yığın boyutunu mevcut belleğe göre otomatik olarak ayarlar. Daha fazlası için bkz. Tuning Java kaynaklar bölümüne göz atın. Performansta düşüş veya yüksek bellek tüketimi durumunda.
Private Cloud için Edge'i yükledikten sonra Cassandra'nın yapılandırılıp yapılandırılmadığını kontrol edebilirsiniz. doğru şekilde kontrol etmek için /<inst_root>/apigee/apigee-cassandra/conf/cassandra.yaml dosyası olarak kaydedebilirsiniz. Örneğin, Edge for Private Cloud yükleme komut dosyasının aşağıdaki ayarları yaptığından emin olun özellikler:
- cluster_name
- initial_token
- bölüm
- tohumlar
- listen_address
- rpc_address
- ihbar
Uyarı: Bu dosyayı düzenlemeyin.
PostgreSQL veritabanı
Edge'i yükledikten sonra sisteminizde kullanılabilir RAM miktarı:
conf_postgresql_shared_buffers = 35% of RAM # min 128kB conf_postgresql_effective_cache_size = 45% of RAM conf_postgresql_work_mem = 512MB # min 64kB
Bu değerleri ayarlamak için:
- postgresql.properties:
öğesini düzenle > vi /<inst_root>/apigee/customer/application/postgresql.properties
. Dosya yoksa, oluşturun. - Yukarıda listelenen özellikleri ayarlayın.
- Yaptığınız düzenlemeleri kaydedin.
- PostgreSQL veritabanını yeniden başlatın:
> /<inst_root>/ ekip/Apigee-service/bin/ekip-service talep-postgresql yeniden başlat
Sistem sınırları
Cassandra ve Message Processor'da aşağıdaki sistem sınırlarını ayarladığınızdan emin olun. düğümler:
- Cassandra düğümlerinde
/etc/security/limits.d/90-apigee-edge-limits.conf içinde kurulum kullanıcısı (varsayılan " tanımlar" şeklindedir)
aşağıda gösterilmiştir:
Apigee yumuşak memlock sınırsız
Apigee hard memlock sınırsız
Apigee soft nofile 32768
Apigee hard nofile 65536
Apigee'de sınırsız olarak kullanılabilir
Apigee'de sınırsız olması zor
- İleti İşleyici düğümlerinde açık dosya tanımlayıcılarının maksimum sayısını 64K olarak ayarlayın.
içinde /etc/security/limits.d/90-apigee-edge-limits.conf olarak
aşağıda gösterilmiştir:
Apigee soft nofile 32.768
Apigee hard nofile 65536
Gerekirse limiti artırabilirsiniz. Örneğin, çok sayıda geçici her zaman açılabilir.
jsvc
"jsvc" API BaaS'yi kullanmanın ön koşuludur. Uygulamayı yüklediğinizde 1.0.15-dev sürümü yüklenir hakkında daha fazla bilgi edinin.
Ağ Güvenliği Hizmetleri (NSS)
Ağ Güvenliği Hizmetleri (NSS), istemci ve sunucu uygulamaları için de geçerlidir. NSS'yi yüklediğinizden emin olmanız gerekir 3.19 veya daha yeni bir sürüm kullanın.
Mevcut sürümünüzü kontrol etmek için:
> yum info nss
NSS'yi güncellemek için:
> yum update nss
RedHat tarafından sunulan bu makaleyi inceleyin konulu videomuzu izleyin.
IPv6'da DNS aramasını devre dışı bırak NSCD (Ad Hizmet Önbelleği Daemon) kullanırken
NSCD'yi (Ad Hizmeti Önbelleği Daemon) yükleyip etkinleştirdiyseniz İleti İşlemcileri biri IPv4, diğeri IPv6 için olmak üzere iki DNS araması yapar. Şurada DNS aramasını devre dışı bırakmanız gerekir: NSCD kullanırken IPv6.
IPv6'da DNS aramasını devre dışı bırakmak için:
- Her İleti İşleyici düğümünde /etc/nscd.conf öğesini düzenleyin.
- Şu özelliği ayarlayın:
önbellek ana makinelerini etkinleştirme no
Google Cloud'da IPv6'yı devre dışı bırak RedHat/CentOS 7 platformu
Google Cloud Platform'da RedHat 7 veya CentOS 7'ye Edge yüklüyorsanız tüm Qpid düğümlerinde IPv6'yı devre dışı bırakmalıdır.
Aşağıdaki talimatları uygulayarak kendi işletim sisteminizin sürümünü içeren RedHat veya CentOS belgelerine bakın IPv6 devre dışı bırakılıyor.
AWS AMI
Red Hat Enterprise Linux için bir AWS Amazon Machine Image'a (AMI) Edge'i yüklüyorsanız 7.x sürümünü kullanıyorsanız önce aşağıdaki komutu çalıştırmanız gerekir:
> yum-config-manager --enable rhui-REGION-rhel-server-extras rhui-REGION-rhel-server-optional
Araçlar
Yükleyici, standart sürümde EL5 veya EL6.
|
awk |
ifade |
lua-socket |
nefes/dk. |
sıkıştırmayı aç |
|
anaad |
grep |
ls |
rpm2cpio |
kullanıcıek |
|
bash |
ana makine adı |
ağ araçları |
Sed |
wc |
|
bc |
id |
perl (tekliflerden) |
sudo |
wget |
|
curl |
Libaio |
pgrep (procp'lerden) |
katran |
Xerces-c |
|
Cyrus-Sasl
|
libdb-cxx
|
d | tr | leziz |
|
tarih |
libibverb'ler
|
pwd |
Uuid |
chkconfig |
| dirname |
librdmacm
|
python | uname | |
| echo |
libxslt
|
Not:
- "useradd" aracı için yürütülebilir dosya /usr/sbin konumunda, chkconfig için ise /sbin konumunda bulunmaktadır.
- Sudo erişimiyle, çağıran kullanıcının ortamı üzerinde erişim elde edebilirsiniz. Örneğin, genellikle "sudo <command>" veya "sudo PATH=$PATH:/usr/sbin:/sbin <command>")
- Bir hizmet paketinden (yama) önce "yama" aracının yüklü olduğundan emin olun teşekkür ederiz.
ntpdate: Sunucunun saatini senkronize etmesi önerilir. Eğer "ntpdate" yardımcı programı bu amaca hizmet edebilir. Bu da olup olmadığını kontrol edebilirsiniz. Dosyayı yüklemek için "yum install ntp" öğesini kullanabilirsiniz. yardımcı olur. Bu, özellikle OpenLDAP kurulumlarının çoğaltılmasında yararlıdır. Sunucuyu kendiniz kurun saat dilimidir (UTC).
openLDAP 2.4 – Şirket içi yükleme için OpenLDAP 2.4 gereklidir. Eğer Sunucunuzun internet bağlantısı varsa Edge yükleme komut dosyası indirilip yüklenir OpenLDAP. Sunucunuzun internet bağlantısı yoksa OpenLDAP'nin Edge yükleme komut dosyası çalıştırılmadan önce zaten yüklenmiş. RHEL/CentOS'te şunları çalıştırabilirsiniz: "yum install openLDAP-clients openldap-servers" OpenLDAP'yi yükleyin.
13 ana makine yüklemeleri ve iki Veri Merkezi bulunan 12 ana makine yüklemeleri için OpenLDAP barındıran birden çok düğüm olduğu için OpenLDAP çoğaltması.
Güvenlik Duvarları ve Sanal Ana Makineler
“Sanal” terimi BT alanında genellikle aşırı yüklenmeye başlar ve bu nedenle, Private Cloud dağıtımı ve sanal ana makineler için Apigee Edge. Netleştirmek gerekirse, "sanal" teriminin bazı kullanım şekilleri:
- Sanal makineler (VM): Zorunlu değildir ancak bazı dağıtımlarda sanal makine teknolojisi kullanılır Apigee bileşenleri için izole sunucular oluşturmayı talep etti. Fiziksel ana makineler gibi sanal makine ana makineleri, güvenlik duvarlarını kullanabilirsiniz.
- Sanal ana makineler: Apache sanal ana makinelerine benzer şekilde web uç noktaları.
Sanal makinedeki bir yönlendirici, ana makine takma adına veya arayüz bağlantı noktasından) girin.
Adlandırma örneği gibi, tek bir fiziksel sunucu "A" iki sanal makine çalıştırıyor olabilir, "VM1" ve "VM2" olarak adlandırıldı. VM1'in sanal bir Ethernet açığa çıkardığını varsayalım eth0 olarak adlandırılan arayüz ve sanallaştırma işlemiyle 111.111.111.111 IP adresine atanan IP adresi, sanal makinenin içinde yer alır. makine veya bir ağ DHCP sunucusu; daha sonra, VM2'nin sanal bir Ethernet arayüzü de gösterdiğini varsayın adı eth0 olur ve cihaza 111.111.111.222 adlı bir IP adresi atanır.
İki sanal makinenin her birinde de çalışan bir Apigee yönlendiricimiz olabilir. Yönlendiriciler, sanal ana makineyi açığa çıkarır uç noktaları da içerir:
VM1'deki Apigee yönlendiricisi, eth0 arayüzünde üç sanal ana makine ortaya çıkarır. belirli IP adresi), api.sirketim.com:80, api.mycompany.com:443 ve api.mycompany.com:443.
VM2'deki yönlendirici, api.mycompany.com:80 adresini gösterir ( VM1 tarafından maruz kalan).
Fiziksel ana makinenin işletim sisteminde ağ güvenlik duvarı olabilir; ve bu güvenlik duvarının sanallaştırılmış sunucu üzerinde açığa çıkan bağlantı noktaları için TCP trafiğine bağlı olacak şekilde yapılandırılmalıdır (111.111.111.111:{80, 443} ve 111.111.111.222:80). Ayrıca her bir Sanal makinenin işletim sistemi, eth0 arayüzünde kendi güvenlik duvarını sağlayabilir ve bu güvenlik duvarı da 80 ve 443 trafiğinin bağlanmasına izin verin.
Temel yol, API çağrılarının farklı API proxy'lerine yönlendirilmesini sağlayan üçüncü bileşendir diğer kullanıcılar da dahildir. API proxy paketleri, farklı konumlara sahiplerse bir uç noktayı paylaşabilir için de geçerlidir. Örneğin, bir temel yol http://api.mycompany.com:80/ ve başka bir temel yol olarak tanımlanabilir http://api.mycompany.com:80/salesdemo şeklinde tanımlanır.
Bu durumda, İki IP adresi arasındaki http://api.sirketim.com:80/ trafik (VM1'de 111.111.111.111 ve VM2'de 111.111.111.222). Bu işlev ve yerel ağ grubunuz tarafından yapılandırılır.
Temel yol, bir API dağıttığınızda ayarlanır. Yukarıdaki örnekten iki API dağıtabilirsiniz: Kuruluş için sirketim ve testmycompany sanal ile sirketim-org api.mycompany.com ana makine takma adına sahip olan ve bağlantı noktasının 80. Bir herhangi bir API'nin yönlendirmesine izin verilmezse yönlendirici, gelen istekleri hangi API'nin göndereceğini bilmez. .
Ancak testmycompany API'sini şu temel URL ile dağıtırsanız: /salesdemo, ardından kullanıcıların erişimi http://api.mycompany.com:80/salesdemo adresine giderek söz konusu API'yi kullanın. Şu durumda: sirketim API'sini temel URL'si ile dağıt / ardından kullanıcılarınız API'ye URL ile erişir http://api.mycompany.com:80/.
Uç bağlantı noktası gereksinimleri
Güvenlik duvarı yönetimi, yalnızca sanal ana makinelerle sınırlı değildir. hem sanal makine hem de fiziksel ana makine güvenlik duvarları, bileşenlerin her biri ile iletişim kurması için gereken bağlantı noktalarından trafiğe izin vermelidir. diğer.
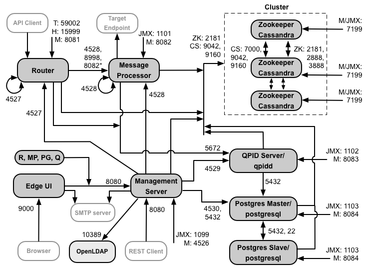
Aşağıdaki resimde, her bir Edge bileşeni için bağlantı noktası gereksinimleri gösterilmektedir:

Bu şemadaki notlar:
-
*Mesaj İşleyicideki 8082 numaralı bağlantı noktasının yalnızca yönlendiricinin erişebilmesi için Yönlendirici ve İleti İşlemci arasında TLS/SSL'yi yapılandırma. TLS/SSL'yi yapılandırmazsanız arasında bağlantı yoksa, varsayılan yapılandırma, bağlantı noktası 8082 bileşen yönetmek için Mesaj İşleyici'de açık olmalıdır, ancak Yönlendirici erişebilir.
- Önünde "M" olan bağlantı noktaları bileşeni yönetmek için kullanılan bağlantı noktalarıdır ve bileşeninin kullanımını ele alacağız.
- Şu bileşenler, Yönetim Sunucusu'nda bağlantı noktası 8080'e erişim gerektirir: Yönlendirici, Message Processor, UI, Postgres ve Qpid.
- Mesaj İşleyici, yönetim bağlantı noktası olarak 4528 numaralı bağlantı noktasını açmalıdır. Birden fazla Mesaj İşleyicilerin hepsi birbirlerine 4528 numaralı bağlantı noktası üzerinden bağlantı noktası 4528 için aşağıdaki şemada yer alan döngü okuna sahiptir). Birden fazla Söz konusu bağlantı noktasına tüm Veri Merkezlerindeki tüm Mesaj İşleyicilerden erişilebilmelidir.
- Zorunlu olmamakla birlikte, herhangi bir İleti'nin erişmesini sağlamak için Yönlendirici üzerindeki 4527 numaralı bağlantı noktasını açabilirsiniz İşleyen. Aksi takdirde, İleti İşleyen günlük dosyalarında hata mesajları görebilirsiniz.
- Yönlendirici, yönetim bağlantı noktası olarak 4527 numaralı bağlantı noktasını açmalıdır. Birden fazla Yönlendiriciniz varsa tümü, bağlantı noktası 4527 üzerinden birbirine erişebilmelidir ( 4527 numaralı bağlantı noktasına ait yukarıdaki şemaya bakın).
- Edge kullanıcı arayüzünün Gönder düğmesine basın.
- Yönetim Sunucusu, Cassandra'daki JMX bağlantı noktasına erişim gerektirir. düğüm.
- JMX bağlantı noktalarına erişim, kullanıcı adı/şifre gerektirecek şekilde yapılandırılabilir. Daha fazla bilgi için Nasıl İzlemeli? bölümüne bakın.
- Belirli bağlantılar için TLS/SSL erişimini isteğe bağlı olarak yapılandırabilirsiniz. farklı bağlantı noktaları vardır. Şu güvenlik ayarları için TLS/SSL başlıklı makaleyi inceleyin: daha fazla.
- İki Postgres düğümünü ana-beklemedeki replikayı kullanacak şekilde yapılandırıyorsanız bağlantı noktası 22'yi açmanız gerekir. her düğümde SSH erişimi sağlar. İsteğe bağlı olarak, tek tek düğümlerdeki bağlantı noktalarını açarak SSH erişimi.
- Yönetim Sunucusu'nu ve Uç kullanıcı arayüzünü, harici bir SMTP üzerinden e-posta gönderecek şekilde yapılandırabilirsiniz sunucu. Bunu yaparsanız Yönetim Sunucusu'nun ve kullanıcı arayüzünün gerekli dosyalara erişebildiğinden emin olun bağlantı noktası üzerinden gönderilir. TLS kullanılmayan SMTP için bağlantı noktası numarası genellikle 25'tir. TLS özellikli genellikle 465'tir. Ancak SMTP sağlayıcınıza danışmanız gerekir.
Aşağıdaki tabloda, Edge bileşeni tarafından güvenlik duvarlarında açılması gereken bağlantı noktaları gösterilmektedir:
|
Bileşen |
Bağlantı noktası |
Açıklama |
|---|---|---|
|
Standart HTTP bağlantı noktaları |
80, 443 |
HTTP ve sanal ana makineler için kullandığınız diğer bağlantı noktaları |
|
Yönetim Sunucusu |
8080 |
Edge management API çağrıları için bağlantı noktası. Bu bileşenler, Yönetim Sunucusu: Yönlendirici, İleti İşlemci, Kullanıcı Arayüzü, Postgres ve Qpid. |
|
1099 |
JMX bağlantı noktası |
|
|
4526 |
Dağıtılmış önbellek ve yönetim çağrıları için |
|
|
Yönetim kullanıcı arayüzü |
9000 |
Yönetim kullanıcı arayüzüne tarayıcı erişimi için bağlantı noktası |
|
Mesaj İşleyen |
8998 |
Yönlendiriciden iletişim için mesaj işlemcisi bağlantı noktası |
|
8082 |
İleti İşleyen için varsayılan yönetim bağlantı noktasıdır ve Yönetim Sunucusu tarafından erişilir.
Yönlendirici ve İleti İşlemci arasında, Yönlendiricinin kullandığı TLS/SSL'yi yapılandırırsanız
Mesaj İşleyici'de durum denetimleri yapmak için kullanılır.
|
|
|
1101 |
JMX bağlantı noktası |
|
|
4528 |
Mesaj İşleyenleri arasında dağıtılmış önbellek ve yönetim çağrıları ve Yönlendiriciden gelen iletişimle |
|
|
Yönlendirici |
8081 |
Yönlendirici için varsayılan yönetim bağlantı noktası ve erişim için bileşende açık olmalıdır Yönetim Sunucusu tarafından oluşturulur. |
|
4527 |
Dağıtılmış önbellek ve yönetim çağrıları için |
|
|
15999 |
Durum denetimi bağlantı noktası. Yük dengeleyici, Yönlendiricinin yapılıp yapılmadığını belirlemek için kullanılabilir. Yük dengeleyici, bir Yönlendiricinin durumunu almak için, aynı yönlendiricideki bağlantı noktası 15999'a Yönlendirici: > curl -v http://<routerIP>:15999/v1/servers/self/reachable Yönlendiriciye erişilebiliyorsa istek, HTTP 200 döndürür. |
|
|
59001 |
apigee-validate yardımcı programı tarafından Edge yüklemesini test etmek amacıyla kullanılan bağlantı noktası. Bu yardımcı program, Yönlendirici üzerindeki bağlantı noktası 59001'e erişim gerektirir. 59001 bağlantı noktası hakkında daha fazla bilgi için Yüklemeyi test etme bölümüne bakın. |
|
|
ZooKeeper |
2181 |
Yönetim Sunucusu, Yönlendirici, İleti İşlemci gibi diğer bileşenler tarafından kullanılır. açık |
|
2888, 3888 |
ZooKeeper kümesi (ZooKeeper topluluğu olarak bilinir) için ZooKeeper tarafından dahili olarak kullanılır iletişim |
|
|
Kassandra |
7.000, 9.042, 9.160 |
Cassandra düğümleri arasında iletişim için Apache Cassandra bağlantı noktalarının diğer Edge bileşenlerini de kullanabilirsiniz. |
|
7199 |
JMX bağlantı noktası. Yönetim sunucusu tarafından erişime açık olmalıdır. |
|
|
Qpid |
5672 |
Yönlendirici ve Mesaj İşleyiciden Qpid sunucusuna yapılan iletişimlerde kullanılır |
|
8083 |
Qpid sunucusundaki varsayılan yönetim bağlantı noktasıdır ve Yönetim Sunucusu tarafından erişilir. |
|
|
1102 |
JMX bağlantı noktası |
|
|
4529 |
Dağıtılmış önbellek ve yönetim çağrıları için |
|
|
Postgres |
5432 |
Qpid/Yönetim Sunucusu ile Postgres arasındaki iletişim için kullanılır |
|
8084 |
Postgres sunucusunda varsayılan yönetim bağlantı noktası ve erişim için bileşende açık olmalıdır Yönetim Sunucusu tarafından oluşturulur. |
|
|
1103 |
JMX bağlantı noktası |
|
|
4530 |
Dağıtılmış önbellek ve yönetim çağrıları için |
|
|
22 |
İki Postgres düğümünü ana bekleme replikasını kullanacak şekilde yapılandırıyorsanız bağlantı noktası 22'yi kullanmanızı öneririz. |
|
|
LDAP |
10389 |
OpenLDAP |
|
SmartDocs |
59002 |
SmartDokümanlar sayfa isteklerinin gönderildiği Edge yönlendiricisindeki bağlantı noktası. |
Sonraki tabloda aynı bağlantı noktaları, kaynak ve hedef ile birlikte sayısal olarak listelenmiş şekilde gösterilir bileşenler:
|
Bağlantı Noktası Numarası |
Amaç |
Kaynak Bileşeni |
Hedef Bileşeni |
|---|---|---|---|
|
<sanal ana makine bağlantı noktası#> |
HTTP ve sanal ana makine API'si çağrı trafiği için kullandığınız diğer tüm bağlantı noktaları. 80 ve 443 numaralı bağlantı noktaları en yaygın şekilde kullanılır. İleti Yönlendiricisi, TLS/SSL bağlantılarını sonlandırabilir. |
Harici istemci (veya yük dengeleyici) |
Message Router'daki dinleyici |
|
1.099 - 1.103 |
JMX Yönetimi |
JMX İstemcisi |
Yönetim Sunucusu (1099) Mesaj İşleyici (1101) Qpid Sunucusu (1102) Postgres Sunucusu (1103) |
|
2181 |
Zookeeper istemci iletişimi |
Yönetim Sunucusu Yönlendirici Mesaj İşleyici Qpid Sunucusu Postgres Sunucusu |
Zookeeper |
|
2888 ve 3888 |
Zookeeper internode yönetimi |
Zookeeper |
Zookeeper |
|
4.526 |
RPC Yönetimi bağlantı noktası |
Yönetim Sunucusu |
Yönetim Sunucusu |
| 4.527 | Dağıtılmış önbellek ve yönetim çağrıları ve iletişim için RPC Yönetimi bağlantı noktası Yönlendiriciler arasında |
Yönetim Sunucusu Yönlendirici |
Yönlendirici |
|
4.528 |
Mesaj İşleyenleri arasında dağıtılmış önbellek çağrıları ve iletişim için Yönlendiriciden |
Yönetim Sunucusu Yönlendirici Mesaj İşleyici |
Mesaj İşleyici |
| 4.529 | Dağıtılmış önbellek ve yönetim çağrıları için RPC Yönetimi bağlantı noktası | Yönetim Sunucusu | Qpid Sunucusu |
| 4.530 | Dağıtılmış önbellek ve yönetim çağrıları için RPC Yönetimi bağlantı noktası | Yönetim Sunucusu | Postgres Sunucusu |
|
5.432 |
Postgres müşterisi |
Qpid Sunucusu |
Postgres |
|
5.672 |
Yönlendirici ve Mesaj İşleyici'den Qpid'e analiz göndermek için kullanılır |
Yönlendirici Mesaj İşleyici |
Qpid Sunucusu |
|
7.000 |
Cassandra düğümler arası iletişim |
Cassandra |
Diğer Cassandra düğümü |
|
7.199 |
JMX yönetimi. Yönetim tarafından Cassandra düğümüne erişim için açık olmalıdır Sunucu. |
JMX istemcisi |
Cassandra |
|
8.080 |
Management API bağlantı noktası |
Management API istemcileri |
Yönetim Sunucusu |
|
8081 - 8084 |
API isteklerini doğrudan bağımsız bileşenlere yayınlamak için kullanılan Bileşen API bağlantı noktaları. Her bileşen farklı bir bağlantı noktası açar; kullanılan tam bağlantı noktası, yapılandırmaya bağlıdır. ancak Yönetim Sunucusu'nun erişebilmesi için bileşende açık olmalıdır |
Management API istemcileri |
Yönlendirici (8081) Mesaj İşleyici (8082) Qpid Sunucusu (8083) Postgres Sunucusu (8084) |
|
8.998 |
Yönlendirici ve Mesaj İşleyici arasındaki iletişim |
Yönlendirici |
Mesaj İşleyici |
|
9.000 |
Varsayılan Edge yönetimi kullanıcı arayüzü bağlantı noktası |
Tarayıcı |
Yönetim Kullanıcı Arayüzü Sunucusu |
|
9.042 |
CQL yerel taşıma |
Yönlendirici Mesaj İşleyici Yönetim Sunucusu |
Cassandra |
|
9.160 |
Cassandra ikinci el müşteri |
Yönlendirici Mesaj İşleyici Yönetim Sunucusu |
Cassandra |
|
10.389 |
LDAP bağlantı noktası |
Yönetim Sunucusu |
OpenLDAP |
| 15.999 |
Durum denetimi bağlantı noktası. Yük dengeleyici, Yönlendiricinin yapılıp yapılmadığını belirlemek için kullanılabilir. |
Yük dengeleyici | Yönlendirici |
| 59.001 | Test için apigee-validate yardımcı programı tarafından kullanılan bağlantı noktası Edge yüklemesi | apigee-validate | Yönlendirici |
|
59.002 |
SmartDokümanlar sayfa isteklerinin gönderildiği yönlendirici bağlantı noktası |
SmartDocs |
Yönlendirici |
Mesaj işlemcisi, Cassandra'ya özel bir bağlantı havuzunu açık tutar ve hiçbir zaman zaman aşımına uğramaması için İleti işlemcisi ile Cassandra sunucusu arasında bir güvenlik duvarı olduğunda bağlantı zaman aşımına uğrayabilir. Ancak mesaj işlemcisi, şu şekilde tasarlanmamıştır: Cassandra ile yeniden bağlantılar kurmak.
Apigee, bu durumun önüne geçmek için Cassandra sunucusuna, mesaj işlemcisine bu ağ yapılandırmalarının dağıtımında bir güvenlik duvarının olmaması için bileşenlerine ayıralım.
Yönlendirici ile mesaj işlemcileri arasında bir güvenlik duvarı varsa ve boşta kalma TCP zaman aşımı ayarlıysa önerilerimiz şunlardır:
- Şu şekilde ayarlayın: net.ipv4.tcp_keepalive_time = Linux OS'teki sysctl ayarlarında 1800 (burada 1800, güvenlik duvarının boşta kalma süresinden daha düşük olmalıdır) TCP zaman aşımı. Bu ayar, bağlantıyı yerleşik durumda tutması ve böylece bağlantıyı kesmez.
- Tüm İleti İşleyicilerde /<inst_root>/apigee/customer/application/message-processor.properties öğesini düzenleyin
aşağıdaki özelliği ekleyin. Dosya yoksa, oluşturun.
. conf_system_cassandra.maxconnecttimeinmillis=-1 - Mesaj İşleyici'yi yeniden başlatın:
> /opt/Apigee/Apigee-service/bin/gelir-hizmeti uç-mesajı işlemcisi yeniden başlatma - Tüm Yönlendiricilerde /<inst_root>/apigee/customer/application/router.properties dosyasını düzenleyin.
aşağıdaki özelliği ekleyin. Dosya yoksa, oluşturun.
. conf_system_cassandra.maxconnecttimeinmillis=-1 - Yönlendiriciyi yeniden başlatın:
> /opt/Apigee/Apigee-service/bin/gelir-hizmeti uç-yönlendirici yeniden başlatma
İki veri merkezi bulunan 12 ana makine kümeli yapılandırmasını yüklerseniz iki Veri Merkezindeki düğümler, aşağıda gösterilen bağlantı noktaları üzerinden iletişim kurabilir:

API BaaS bağlantı noktası gereksinimleri
API BaaS'yi yüklemeyi tercih ederseniz API BaaS Yığını ve API BaaS Portalı bileşenlerini eklersiniz. Bu bileşenler, aşağıdaki şekilde gösterilen bağlantı noktalarını kullanır:

Bu şemadaki notlar:
- API BaaS Portalı hiçbir zaman doğrudan bir BaaS Yığını düğümüne istek göndermez. Bir geliştirici Portal uygulaması, tarayıcıya indirilir. Şunda çalışan Portal uygulaması: tarayıcı, BaaS Yığını düğümlerine istek gönderir.
- API BaaS üretim kurulumu, API BaaS Portalı düğümü arasında bir yük dengeleyici kullanır ve API BaaS Yığını düğümleri bulunur. Portal'ı yapılandırırken ve BaaS API çağrıları yaparken Yığın düğümlerinin değil yük dengeleyicinin IP adresini veya DNS adını belirtin.
- Diğer tüm Stack düğümlerinden ( Stack düğümlerindeki bağlantı noktası 2551'e ait döngü okuna dokunun). Birden fazla Verileriniz varsa bağlantı noktası, tüm Veri Merkezlerindeki tüm Stack düğümlerinden erişilebilir olmalıdır.
- Harici bir SMTP sunucusu üzerinden e-posta göndermek için tüm Baas Stack düğümlerini yapılandırmanız gerekir. Örneğin, TLS dışı SMTP, bağlantı noktası numarası genellikle 25'tir. TLS özellikli SMTP için bu genellikle 465'tir, ancak gerekir.
- Cassandra düğümleri API BaaS'ye ayrılabilir veya Edge ile paylaşılabilir.
Aşağıdaki tabloda, güvenlik duvarlarında açılması gereken varsayılan bağlantı noktaları bileşene göre gösterilmektedir:
|
Bileşen |
Bağlantı noktası |
Açıklama |
|---|---|---|
|
API BaaS Portalı |
9000 |
API BaaS kullanıcı arayüzü bağlantı noktası |
|
API BaaS Yığını |
8080 |
API isteğinin alındığı bağlantı noktası |
| 2551 |
Tüm Stack düğümleri arasında iletişim için bağlantı noktası. Diğer tüm Stack kullanıcıları tarafından erişilebilir olmalıdır dört veri kümesi olabilir. Birden fazla veri merkeziniz varsa bağlantı noktasına tüm veri merkezlerinde kullanılabilir. |
|
|
ElasticSearch |
9.200 - 9.400 |
API BaaS Stack ve ElasticSearch arasında iletişim kurmak için düğümler |
Lisanslama
Edge'in her kurulumu için Apigee'den aldığınız benzersiz bir lisans dosyası gerekir. Bu kurstan sonra yönetim sunucusunu yüklerken lisans dosyasının yolunu sağlamam gerekir. Örneğin, /tmp/license.txt.
Yükleyici, lisans dosyasını /<inst_root>/apigee/customer/conf/license.txt dosyasına kopyalar.
Lisans dosyası geçerliyse yönetim sunucusu geçerlilik bitiş tarihini doğrular ve İşlemci (MP) sayısı. Lisans ayarlarından herhangi birinin süresi dolmuşsa günlükleri şurada bulabilirsiniz: şu konumla beraber: /<inst_root>/apigee/var/log/edge-management-server/logs. Bu durumda Apigee Destek Ekibi ile iletişime geçerek taşımayla ilgili ayrıntılı bilgi edinin.
Henüz lisansınız yoksa buradan satış ekibiyle iletişime geçin.