Edge for Private Cloud v. 4.17.01
Persyaratan Hardware
Anda harus memenuhi persyaratan hardware minimum berikut untuk mendapatkan infrastruktur IT di lingkungan kelas produksi. Untuk semua skenario penginstalan yang dijelaskan dalam Topologi Penginstalan, tabel di bawah ini mencantumkan persyaratan perangkat keras minimum untuk komponen instalasi.
Dalam tabel-tabel ini persyaratan {i>hard disk<i} adalah tambahan ruang {i>hard disk<i} yang dibutuhkan oleh yang dibutuhkan serta sistem operasi. Bergantung pada aplikasi dan lalu lintas jaringan, instalasi Anda mungkin memerlukan lebih banyak atau lebih sedikit resource dari yang tercantum di bawah.
|
Komponen Penginstalan |
RAM |
CPU |
Hard disk minimum |
|---|---|---|---|
|
Cassandra |
16 GB |
8 inti |
250 GB penyimpanan lokal dengan SSD atau HDD cepat mendukung 2000 IOPS |
|
Pemroses/Router Pesan di komputer yang sama |
8/16GB |
4‐core† |
100 GB |
|
Analytics - Postgres/Qpid di server yang sama (tidak disarankan untuk produksi) |
16GB* |
8 core* |
Penyimpanan jaringan 500 GB - 1 TB**, sebaiknya dengan backend SSD yang mendukung 1000 IOPS atau lebih tinggi*. |
|
Analytics - Postgres mandiri |
16GB* |
8 core* |
Penyimpanan jaringan 500 GB - 1 TB**, sebaiknya dengan backend SSD, mendukung 1.000 IOPS atau lebih tinggi*. |
|
Analytics - Qpid mandiri |
8 GB |
4 inti |
Penyimpanan lokal 30 GB - 50 GB dengan SSD atau HDD cepat Untuk instalasi lebih besar dari 250 TPS, HDD dengan penyimpanan lokal yang mendukung 1000 IOPS adalah direkomendasikan. Ukuran antrean Qpid default adalah 20 GB. Jika Anda perlu menambah kapasitas, tambahkan Node Qpid. |
|
Lainnya (OpenLDAP, UI, Server Pengelolaan) |
4 GB |
2 inti |
60 GB |
|
† Sesuaikan persyaratan sistem Pemroses Pesan berdasarkan throughput: Rekomendasi minimumnya adalah 4 core, dan 8 core untuk sistem throughput tinggi. Anda dapat menjalankan pengujian performa untuk menentukan ukuran yang optimal untuk API. |
|||
|
*Sesuaikan persyaratan sistem Postgres berdasarkan throughput:
|
|||
|
**Nilai {i>hard disk<i} Postgres didasarkan pada analitik siap pakai yang ditangkap oleh
Edge. Jika Anda menambahkan nilai kustom ke data analisis, nilai ini harus
juga meningkat. Gunakan formula berikut untuk memperkirakan penyimpanan yang dibutuhkan: |
|||
|
*** Network Storage direkomendasikan untuk database Postgresql karena:
|
|||
Selain itu, berikut ini daftar persyaratan perangkat keras jika Anda ingin menginstal Layanan Monetisasi:
|
Komponen dengan Monetisasi |
RAM |
CPU |
Hard disk |
|---|---|---|---|
|
Server Pengelolaan (dengan Layanan Monetisasi) |
8 GB |
4 inti |
60 GB |
|
Analytics - Postgres/Qpid di server yang sama |
16 GB |
8 inti |
Penyimpanan jaringan 500 GB - 1 TB, sebaiknya dengan backend SSD, yang mendukung 1000 IOPS atau lebih tinggi, atau gunakan aturan dari tabel di atas. |
|
Analytics - Postgres mandiri |
16 GB |
8 inti |
Penyimpanan jaringan 500 GB - 1 TB, sebaiknya dengan backend SSD, yang mendukung 1000 IOPS atau lebih tinggi, atau gunakan aturan dari tabel di atas. |
|
Analytics - Qpid mandiri |
8 GB |
4 inti |
Penyimpanan lokal 40 GB - 500 GB dengan SSD atau HDD cepat
Untuk instalasi lebih besar dari 250 TPS, HDD dengan penyimpanan lokal yang mendukung 1000 IOPS adalah
direkomendasikan.
|
Berikut ini daftar persyaratan hardware jika Anda ingin menginstal API BaaS:
|
Komponen BaaS API |
RAM |
CPU |
Hard disk |
|---|---|---|---|
|
ElasticSearch* |
8 GB |
4 inti |
60 - 80GB |
|
Stack BaaS API * |
8 GB |
4 inti |
60 - 80GB |
|
Portal BaaS API |
1 GB |
2 inti |
20GB |
|
Cassandra (Opsional — biasanya Anda menggunakan cluster Cassandra yang sama untuk kedua Edge dan Layanan API BaaS) |
16 GB |
8 inti |
250 GB penyimpanan lokal dengan SSD atau HDD cepat mendukung 2000 IOPS |
|
* Anda dapat menginstal ElasticSearch dan API BaaS Stack pada node yang sama. Jika Anda melakukannya, mengonfigurasi ElasticSearch untuk menggunakan memori 4 GB (default). Jika ElasticSearch diinstal di {i>node<i}-nya sendiri, lalu mengkonfigurasinya untuk menggunakan memori 6 GB. |
|||
Catatan:
- Jika sistem file {i>root<i} tidak cukup besar untuk instalasi, disarankan untuk menempatkan data ke disk yang lebih besar.
- Jika Apigee Edge versi lama untuk Private Cloud diinstal di komputer, pastikan Anda menghapus folder /tmp/java sebelum melakukan penginstalan baru.
- Folder sementara di seluruh sistem /tmp memerlukan izin eksekusi agar dapat mulai Cassandra.
- Jika “apigee” pengguna dibuat sebelum penginstalan, pastikan “/home/apigee” ada sebagai direktori utama dan dimiliki oleh “apigee:apigee”.
Sistem Operasi dan pihak ketiga persyaratan software
Petunjuk instalasi ini dan file instalasi yang disediakan telah diuji pada sistem operasi dan software pihak ketiga yang tercantum di sini: https://apigee.com/docs/api-services/reference/supported-software.
Membuat pengguna apigee
Prosedur penginstalan membuat pengguna sistem Unix bernama 'apigee'. Direktori edge dan file dimiliki oleh 'apigee', seperti halnya proses Edge. Artinya komponen Edge berjalan sebagai 'apigee' . jika perlu, Anda dapat menjalankan komponen sebagai pengguna yang berbeda. Lihat "Mengikat Router ke port yang dilindungi" di Instal komponen Edge pada node sebagai contoh.
Direktori penginstalan
Secara default, penginstal akan menulis semua file ke direktori /opt/apigee. Anda tidak dapat mengubahnya lokasi direktori. Meskipun tidak dapat mengubah direktori ini, Anda dapat membuat symlink untuk memetakan /opt/apigee untuk lokasi lain, seperti dijelaskan di bawah ini.
Dalam petunjuk dalam panduan ini, direktori penginstalan dicatat sebagai /<inst_root>/apigee, yang mana /<inst_root> adalah /opt secara default.
Membuat {i>symlink<i} dari /opt/apigee
Sebelum membuat symlink, Anda harus membuat pengguna dan grup bernama "apigee" terlebih dahulu. Ini adalah grup dan pengguna yang sama yang dibuat oleh penginstal Edge.
Untuk membuat symlink, lakukan langkah-langkah ini sebelum mendownload file bootstrap_4.17.01.sh. Anda harus melakukan semua langkah ini sebagai root:
- Membuat "apigee" pengguna dan grup:
> {i>groupadd -r<i} apigee
> useradd -r -g apigee -d /opt/apigee -s /sbin/nologin -c "Pengguna platform Apigee" apigee - Buat symlink dari /opt/apigee ke penginstalan yang diinginkan
akar:
> ln -Ts /srv/myInstallDir /opt/apigee
dengan /srv/myInstallDir adalah lokasi Edge yang diinginkan . - Ubah kepemilikan root penginstalan dan symlink ke "apigee" pengguna:
> {i>chown -h<i} apigee:apigee /srv/myInstallDir /opt/apigee
Java
Anda perlu menginstal versi Java1.8 yang didukung di setiap komputer sebelum melakukan penginstalan. JDK yang didukung tercantum di sini:
https://apigee.com/docs/api-services/reference/supported-software
Pastikan bahwa JAVA_HOME poin ke akar JDK untuk pengguna yang melakukan instalasi.
SELinux
Bergantung pada setelan Anda untuk SELinux, Edge dapat mengalami masalah saat menginstal dan memulai Komponen edge. Jika perlu, Anda dapat menonaktifkan SELinux atau menyetelnya ke mode permisif selama instalasi, dan kemudian mengaktifkannya kembali setelah instalasi. Lihat Menginstal utilitas penyiapan Edge apigee untuk informasi selengkapnya.
Setelan Jaringan
Sebaiknya periksa setelan jaringan sebelum pemasangan. Penginstal mengharapkan bahwa semua komputer memiliki alamat IP tetap. Gunakan perintah berikut untuk memvalidasi setelan:
- nama host menampilkan nama mesin
- nama host -i menampilkan IP untuk nama {i>host<i} yang dapat dialamatkan dari komputer lain.
Bergantung pada jenis dan versi sistem operasi, Anda mungkin harus mengedit /etc/hosts dan /etc/sysconfig/network jika nama host tidak diatur dengan benar. Lihat dokumentasi untuk sistem operasi tertentu Anda untuk informasi selengkapnya.
Wrapper TCP
Pembungkus TCP dapat memblokir komunikasi beberapa porta dan dapat mempengaruhi OpenLDAP, Postgres, dan Pemasangan Cassandra. Pada node tersebut, centang /etc/hosts.allow dan /etc/hosts.deny untuk memastikan bahwa tidak ada pembatasan porta pada OpenLDAP, Postgres, dan Cassandra yang diperlukan porta.
iptable
Memvalidasi bahwa tidak ada kebijakan iptables yang mencegah konektivitas antar node pada port Edge yang diperlukan. Jika perlu, Anda dapat menghentikan iptable selama penginstalan menggunakan berikut:
> sudo /etc/init.d/iptables stop
Di CentOS 7.x:
> systemctl stop firewalld
Pastikan Router Edge dapat akses {i> /etc/rc.d/init.d/functions<i}
Node Edge Router dan BaaS Portal menggunakan router Nginx dan memerlukan akses baca ke /etc/rc.d/init.d/functions.
Jika proses keamanan mengharuskan Anda menetapkan izin di /etc/rc.d/init.d/functions, lakukan tidak mengaturnya ke 700 atau {i> router<i} akan gagal untuk memulai. Izin dapat disetel ke 744 untuk diizinkan akses baca ke /etc/rc.d/init.d/functions.
Cassandra
Semua node Cassandra harus terhubung ke sebuah cincin. Cassandra menyimpan replika data di beberapa {i>node<i} untuk memastikan keandalan dan fault tolerance. Strategi replikasi untuk setiap Keyspace Edge menentukan node Cassandra tempat replika ditempatkan. Untuk informasi selengkapnya,lihat Tentang Cassandra Faktor Replikasi dan Tingkat Konsistensi.
Cassandra otomatis menyesuaikan ukuran heap Java-nya berdasarkan memori yang tersedia. Untuk selengkapnya, lihat Menyesuaikan Java resource. Jika terjadi penurunan performa atau konsumsi memori tinggi.
Setelah menginstal Edge untuk Private Cloud, Anda dapat memeriksa apakah Cassandra sudah dikonfigurasi dengan memeriksa file /<inst_root>/apigee/apigee-cassandra/conf/cassandra.yaml . Misalnya, pastikan bahwa skrip penginstalan Edge for Private Cloud menetapkan hal berikut properti:
- cluster_name
- initial_token
- partisi
- bibit
- listen_address
- rpc_address
- snitch
Peringatan: Jangan edit file ini.
Database PostgreSQL
Setelah menginstal Edge, Anda dapat menyesuaikan setelan database PostgreSQL berikut berdasarkan jumlah RAM yang tersedia di sistem Anda:
conf_postgresql_shared_buffers = 35% of RAM # min 128kB conf_postgresql_effective_cache_size = 45% of RAM conf_postgresql_work_mem = 512MB # min 64kB
Untuk menetapkan nilai ini:
- Edit postgresql.properties:
> vi /<inst_root>/apigee/customer/application/postgresql.properties
Jika file tidak ada, buat file tersebut. - Setel properti yang tercantum di atas.
- Simpan hasil editan Anda.
- Mulai ulang database PostgreSQL:
> /<inst_root>/apigee/apigee-service/bin/apigee-service apigee-postgresql mulai ulang
Batas sistem
Pastikan Anda telah menetapkan batas sistem berikut pada Cassandra dan Pemroses Pesan node:
- Pada node Cassandra, setel batas memlock lembut dan keras, nofile, dan ruang alamat (as) untuk
pengguna penginstalan (default-nya adalah “apigee") di /etc/security/limits.d/90-apigee-edge-limits.conf sebagai
ditampilkan di bawah ini:
apigee memlock lembut tidak terbatas
apigee hard memlock tak terbatas
apigee soft nofile 32768
apigee hard nofile 65536
apigee lembut sebagai tidak terbatas
apigee hard as terbatas
- Pada node Pemroses Pesan, tetapkan jumlah maksimum deskriptor file yang terbuka ke 64K
di /etc/security/limits.d/90-apigee-edge-limits.conf sebagai
ditampilkan di bawah ini:
nofile lunak apigee 32.768
apigee hard nofile 65536
Jika perlu, Anda dapat meningkatkan batas tersebut. Misalnya, jika Anda memiliki sejumlah besar file terbuka kapan saja.
jsvc
"jsvc" adalah prasyarat untuk menggunakan API BaaS. Versi 1.0.15-dev diinstal saat Anda menginstal API BaaS.
Layanan Keamanan Jaringan (NSS)
Layanan Keamanan Jaringan (NSS) adalah serangkaian pustaka yang mendukung pengembangan aplikasi klien dan server yang mendukung keamanan. Anda harus memastikan bahwa Anda telah menginstal NSS v3.19, atau yang lebih baru.
Untuk memeriksa versi saat ini:
> yum info nss
Untuk mengupdate NSS:
> yum update nss
Lihat artikel ini dari RedHat untuk informasi selengkapnya.
Nonaktifkan pencarian DNS di IPv6 saat menggunakan NSCD (Name Service Cache Daemon)
Jika Anda telah menginstal dan mengaktifkan NSCD (Name Service Cache Daemon) Message Processors membuat dua pencarian DNS: satu untuk IPv4 dan satu untuk IPv6. Anda harus menonaktifkan pencarian DNS di IPv6 saat menggunakan NSCD.
Untuk menonaktifkan pencarian DNS di IPv6:
- Di setiap node Message Processor, edit /etc/nscd.conf
- Tetapkan properti berikut:
enable-cache host no
Nonaktifkan IPv6 di Google Cloud Platform untuk RedHat/CentOS 7
jika Anda menginstal Edge di RedHat 7 atau CentOS 7 di Google Cloud Platform, maka Anda harus menonaktifkan IPv6 di semua node Qpid.
Lihat dokumentasi RedHat atau CentOS untuk versi OS tertentu untuk mendapatkan petunjuk tentang menonaktifkan IPv6.
AMI AWS
Jika Anda menginstal Edge pada AWS Amazon Machine Image (AMI) untuk Red Hat Enterprise Linux 7.x, Anda harus menjalankan perintah berikut terlebih dahulu:
> yum-config-manager --enable rhui-REGION-rhel-server-extras rhui-REGION-rhel-server-optional
Alat
Penginstal menggunakan alat UNIX berikut dalam versi standar sebagaimana disediakan oleh EL5 atau EL6.
|
awk |
{i>expr<i} |
lua-socket |
npm |
unzip |
|
nama dasar |
grep |
ls |
rpm2cpio |
useradd |
|
bash |
hostname |
net-tools |
sed |
wc |
|
bc |
id |
perl (dari procps) |
sudo |
wget |
|
curl |
Libaio |
pgrep (dari procps) |
tar |
Xerces-c |
|
Cyrus-Sasl
|
libdb-cxx
|
ps | tr | enak |
|
tanggal |
libibverb
|
pwd |
uuid |
chkconfig |
| dirname |
librdmacm
|
python | {i>uname<i} | |
| echo |
libxslt
|
Catatan:
- File yang dapat dieksekusi untuk alat 'useradd' terletak di /usr/sbin dan untuk chkconfig di /sbin.
- Misalnya, dengan akses {i>sudo <i}Anda dapat mengakses lingkungan pengguna yang menelepon, biasanya Anda akan memanggil “sudo <command>” atau “sudo PATH=$PATH:/usr/sbin:/sbin <command>”.
- Pastikan Anda telah menginstal alat “patch” sebelum paket layanan (patch) penginstalan.
ntpdate – Sebaiknya lakukan sinkronisasi waktu server. Jika belum dikonfigurasi, utilitas ‘ntpdate’ dapat memenuhi tujuan ini, yang memverifikasi apakah server disinkronkan waktu atau tidak. Anda dapat menggunakan “yum install ntp” untuk menginstal utilitas. Hal ini sangat berguna untuk mereplikasi pengaturan OpenLDAP. Perhatikan bahwa Anda menyiapkan server dengan zona waktu UTC.
openldap 2.4 – Penginstalan lokal memerlukan OpenLDAP 2.4. Jika server Anda memiliki koneksi Internet, maka skrip instal Edge akan mendownload dan menginstal OpenLDAP. Jika server Anda tidak memiliki koneksi Internet, Anda harus memastikan bahwa OpenLDAP yang sudah diinstal sebelum menjalankan skrip penginstalan Edge. Di RHEL/CentOS, Anda dapat menjalankan "yum install openldap-clients openldap-servers" untuk menginstal OpenLDAP.
Untuk penginstalan 13 host, dan penginstalan 12 host dengan dua Pusat Data, Anda memerlukan Replikasi OpenLDAP karena ada beberapa {i>node<i} yang menghosting OpenLDAP.
{i>Firewall<i} dan {i>Host Virtual<i}
Istilah "{i>virtual<i}" umumnya menjadi terlalu banyak muatan di ranah IT, dan begitu juga dengan Apigee Edge untuk deployment Private Cloud dan host virtual. Untuk memperjelas, ada dua utama penggunaan istilah "virtual":
- Virtual machine (VM): Tidak diperlukan, tetapi beberapa deployment menggunakan teknologi VM membuat server terisolasi untuk komponen Apigee mereka. Host VM, seperti host fisik, dapat memiliki antarmuka jaringan dan {i>firewall<i}.
- Host virtual: Endpoint web, setara dengan host virtual Apache.
{i>Router<i} di VM dapat mengekspos beberapa {i>host<i} virtual (selama mereka berbeda satu sama lain dalam alias host-nya atau di porta antarmukanya).
Sama seperti contoh penamaan, satu server fisik “A” mungkin menjalankan dua VM, dengan nama “VM1” dan “VM2”. Anggaplah VM1 mengekspos Ethernet virtual antarmuka ini, yang diberi nama eth0 di dalam VM, dan yang diberi alamat IP 111.111.111.111 oleh virtualisasi komputer atau server DHCP jaringan; dan menganggap VM2 mengekspos antarmuka Ethernet virtual bernama eth0 dan diberi alamat IP 111.111.111.222.
Kita mungkin memiliki router Apigee yang berjalan di masing-masing dari dua VM. {i>Router<i} mengekspos {i>host<i} virtual endpoint seperti dalam contoh hipotesis ini:
Router Apigee di VM1 mengekspos tiga host virtual pada antarmuka eth0-nya (yang memiliki beberapa alamat IP spesifik), api.perusahaansaya.com:80, api.mycompany.com:443, dan api.mycompany.com:443.
Router di VM2 mengekspos api.mycompany.com:80 (nama dan port yang sama dengan yang diekspos oleh VM1).
Sistem operasi {i>host<i} fisik mungkin memiliki {i>firewall<i} jaringan; jika demikian, {i>firewall<i} tersebut harus dikonfigurasi guna meneruskan lalu lintas TCP yang terikat untuk porta yang diekspos pada antarmuka (111.111.111.111:{80, 443} dan 111.111.111.222:80). Selain itu, masing-masing Sistem operasi VM dapat menyediakan {i>firewall<i} sendiri di antarmuka {i>eth0<i}-nya dan ini juga harus mengizinkan traffic port 80 dan 443 untuk terhubung.
Basepath adalah komponen ketiga yang terlibat dalam merutekan panggilan API ke proxy API yang berbeda yang mungkin telah Anda deploy. Paket proxy API dapat berbagi endpoint jika memiliki {i>basepath<i}. Misalnya, satu jalur basis dapat didefinisikan sebagai http://api.mycompany.com:80/ dan lainnya ditetapkan sebagai http://api.mycompany.com:80/salesdemo.
Dalam hal ini, Anda memerlukan load balancer atau {i>traffic direktur<i} yang memisahkan http://api.perusahaansaya.com:80/ traffic antara dua alamat IP (111.111.111.111 di VM1 dan 111.111.111.222 di VM2). Fungsi ini adalah khusus untuk instalasi tertentu, dan dikonfigurasi oleh grup jaringan lokal Anda.
Jalur dasar disetel saat Anda men-deploy API. Dari contoh di atas, Anda dapat men-deploy dua API, perusahaansaya dan perusahaansaya pengujian, untuk organisasi perusahaan-perusahaan-perusahaan dengan host yang memiliki alias host api.mycompany.com dan port yang disetel ke 80. Jika Anda tidak mendeklarasikan basepath dalam deployment, lalu router tidak mengetahui API mana yang akan mengirim permintaan masuk tempat mesin terhubung.
Namun, jika Anda men-deploy testperusahaan API dengan URL dasar dari /salesdemo, lalu pengguna dapat mengakses API tersebut menggunakan http://api.mycompany.com:80/salesdemo. Jika Anda deploy API perusahaan Anda dengan URL dasar / lalu pengguna mengakses API melalui URL http://api.mycompany.com:80/.
Persyaratan port edge
Kebutuhan untuk mengelola {i>firewall<i} lebih dari sekadar {i>host<i} virtual; VM dan {i>host<i} fisik {i>firewall<i} harus mengizinkan lalu lintas untuk porta yang dibutuhkan oleh komponen untuk berkomunikasi dengan masing-masing lainnya.
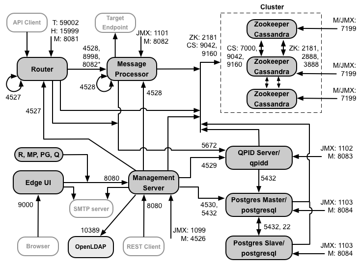
Gambar berikut menunjukkan persyaratan port untuk setiap komponen Edge:

Catatan tentang diagram ini:
-
*Port 8082 pada Pemroses Pesan hanya harus terbuka agar dapat diakses oleh {i>Router<i} ketika Anda mengonfigurasi TLS/SSL antara Router dan Pemroses Pesan. Jika Anda tidak mengonfigurasi TLS/SSL antara {i>Router<i} dan Pemroses Pesan, konfigurasi {i> default<i}, porta 8082 masih harus terbuka pada Pemroses Pesan untuk mengelola komponen, tetapi {i>Router<i} tidak memerlukan akses terhadap data tersebut.
- Port yang diawali dengan "M" adalah porta yang digunakan untuk mengelola komponen dan harus terbuka di untuk diakses oleh Server Pengelolaan.
- Komponen berikut memerlukan akses ke port 8080 di Server Pengelolaan: Router, Message Processor, UI, Postgres, dan Qpid.
- Pemroses Pesan harus membuka port 4528 sebagai port pengelolaannya. Jika Anda memiliki beberapa Pemroses Pesan, mereka semua harus dapat mengakses satu sama lain melalui porta 4528 (ditunjukkan oleh loop pada diagram di atas untuk port 4528 di Message Processor). Jika Anda memiliki beberapa Pusat Data, porta harus dapat diakses dari semua Pemroses Pesan di semua Pusat Data.
- Meskipun tidak diperlukan, Anda dapat membuka port 4527 di Router untuk diakses oleh Pesan apa pun Pemroses. Jika tidak, Anda mungkin akan melihat pesan error di file log Pemroses Pesan.
- Router harus membuka port 4527 sebagai port pengelolaannya. Jika Anda memiliki beberapa {i>Router<i}, mereka semua harus dapat mengakses satu sama lain melalui porta 4527 (ditunjukkan dengan tanda panah berulang diagram di atas untuk port 4527 pada Router).
- UI Edge memerlukan akses ke Router, pada port yang diekspos oleh proxy API, untuk mendukung tombol Send pada alat pelacakan.
- Server Pengelolaan memerlukan akses ke port JMX di Cassandra node.
- Akses ke porta JMX dapat dikonfigurasi untuk mewajibkan nama pengguna/kata sandi. Lihat Cara Memantau untuk mengetahui informasi selengkapnya.
- Anda dapat mengonfigurasi akses TLS/SSL untuk koneksi tertentu, yang dapat menggunakan porta yang berbeda. Lihat TLS/SSL untuk banyak lagi.
- Jika mengonfigurasi dua node Postgres untuk menggunakan replikasi master-standby, Anda harus membuka port 22 pada setiap {i>node<i} untuk akses SSH. Anda dapat memilih untuk membuka porta pada setiap node untuk memungkinkan akses SSH.
- Anda dapat mengonfigurasi UI Server Pengelolaan dan Edge untuk mengirim email melalui SMTP eksternal server tertentu. Jika melakukannya, Anda harus memastikan bahwa Server Pengelolaan dan UI dapat mengakses porta di server SMTP. Untuk SMTP non-TLS, nomor port biasanya 25. Untuk TLS yang diaktifkan SMTP biasanya berupa 465, tetapi periksa dengan penyedia SMTP Anda.
Tabel di bawah menunjukkan port yang perlu dibuka di firewall, oleh komponen Edge:
|
Komponen |
Port |
Deskripsi |
|---|---|---|
|
Port HTTP standar |
80.443 |
HTTP plus port lain yang Anda gunakan untuk host virtual |
|
Server Pengelolaan |
8080 |
Port untuk panggilan API pengelolaan Edge. Komponen ini memerlukan akses ke port 8080 di Server Pengelolaan: {i>Router<i}, {i>Message Processor<i}, UI, Postgres, dan Qpid. |
|
1099 |
Port JMX |
|
|
4526 |
Untuk panggilan pengelolaan dan cache terdistribusi |
|
|
UI Pengelolaan |
9000 |
Port untuk akses browser ke UI pengelolaan |
|
Pemroses Pesan |
8998 |
Port Pemroses Pesan untuk komunikasi dari Router |
|
8082 |
Port pengelolaan default untuk Pemroses Pesan dan harus terbuka pada komponen untuk diakses oleh Server Pengelolaan.
Jika Anda mengonfigurasi TLS/SSL antara Router dan Pemroses Pesan, yang digunakan oleh Router
untuk melakukan health check pada Pemroses Pesan.
|
|
|
1101 |
Port JMX |
|
|
4528 |
Untuk cache terdistribusi dan panggilan pengelolaan antara Pemroses Pesan, dan untuk komunikasi dari {i>Router<i} |
|
|
Router |
8081 |
Port pengelolaan default untuk Router dan harus terbuka pada komponen agar dapat diakses oleh Server Pengelolaan. |
|
4527 |
Untuk panggilan pengelolaan dan cache terdistribusi |
|
|
15999 |
Port health check. Load balancer menggunakan porta ini untuk menentukan apakah Router yang tersedia. Untuk mendapatkan status Router, load balancer membuat permintaan ke port 15999 pada {i>Router<i}: > curl -v http://<routerIP>:15999/v1/servers/self/reachable Jika Router dapat dijangkau, permintaan akan menampilkan HTTP 200. |
|
|
59001 |
Port yang digunakan untuk menguji penginstalan Edge oleh utilitas apigee-validate. Utilitas ini memerlukan akses ke port 59001 di Router. Lihat Menguji penginstalan untuk mengetahui informasi selengkapnya tentang port 59001. |
|
|
ZooKeeper |
2181 |
Digunakan oleh komponen lain seperti Server Pengelolaan, {i>Router<i}, Pemroses Pesan, dan sebagainya nyala |
|
2888, 3888 |
Digunakan secara internal oleh ZooKeeper untuk cluster ZooKeeper (dikenal sebagai ansambel ZooKeeper) komunikasi |
|
|
Cassandra |
7000, 9042, 9160 |
Port Apache Cassandra untuk komunikasi antara node Cassandra dan untuk akses dengan komponen Edge lainnya. |
|
7199 |
Port JMX. Harus terbuka untuk diakses oleh Server Pengelolaan. |
|
|
Qpid |
5672 |
Digunakan untuk komunikasi dari Router dan Pemroses Pesan ke server Qpid |
|
8083 |
Porta manajemen {i>default<i} pada server Qpid dan harus terbuka pada komponen untuk diakses oleh Server Pengelolaan. |
|
|
1102 |
Port JMX |
|
|
4529 |
Untuk panggilan pengelolaan dan cache terdistribusi |
|
|
Postgres |
5432 |
Digunakan untuk komunikasi dari Qpid/Server Pengelolaan ke Postgres |
|
8084 |
Port pengelolaan default pada server Postgres dan harus terbuka pada komponen agar dapat diakses oleh Server Pengelolaan. |
|
|
1103 |
Port JMX |
|
|
4530 |
Untuk panggilan pengelolaan dan cache terdistribusi |
|
|
22 |
Jika mengonfigurasi dua node Postgres untuk menggunakan replikasi master-standby, Anda harus membuka porta 22 pada setiap {i>node<i} untuk akses SSH. |
|
|
LDAP |
10389 |
OpenLDAP |
|
SmartDocs |
59002 |
Port di router Edge tempat permintaan halaman SmartDocs dikirim. |
Tabel berikutnya menunjukkan porta yang sama, dicantumkan secara numerik, dengan sumber dan tujuannya komponen:
|
Nomor Port |
Tujuan |
Komponen Sumber |
Komponen Tujuan |
|---|---|---|---|
|
<port host virtual#> |
HTTP plus port lain yang Anda gunakan untuk traffic panggilan API host virtual. Port 80 dan 443 yang paling umum digunakan; {i>Router<i} Pesan dapat menghentikan koneksi TLS/SSL. |
Klien eksternal (atau load balancer) |
Pemroses di Router Pesan |
|
1099 sampai 1103 |
Manajemen JMX |
Klien JMX |
Server Pengelolaan (1099) Pemroses Pesan (1101) Server Qpid (1102) Server Postgres (1103) |
|
2181 |
Komunikasi klien Zookeeper |
Server Pengelolaan Router Message Processor Server Qpid Server Postgres |
Zookeeper |
|
2888 dan 3888 |
Pengelolaan ruas (internode) dari Zookeeper |
Zookeeper |
Zookeeper |
|
4.526 |
Port Pengelolaan RPC |
Server Pengelolaan |
Server Pengelolaan |
| 4.527 | Port Pengelolaan RPC untuk panggilan pengelolaan dan cache terdistribusi, serta untuk komunikasi antar-Router |
Server Pengelolaan Router |
Router |
|
4.528 |
Untuk panggilan cache terdistribusi antara Pemroses Pesan, dan untuk komunikasi dari Router |
Server Pengelolaan Router Message Processor |
Message Processor |
| 4.529 | Port Pengelolaan RPC untuk panggilan pengelolaan dan cache terdistribusi | Server Pengelolaan | Server Qpid |
| 4.530 | Port Pengelolaan RPC untuk panggilan pengelolaan dan cache terdistribusi | Server Pengelolaan | Server Postgres |
|
5.432 |
Klien Postgres |
Server Qpid |
Postgres |
|
5.672 |
Digunakan untuk mengirim analisis dari Router dan Pemroses Pesan ke Qpid |
Router Message Processor |
Server Qpid |
|
7.000 |
Komunikasi antar-node Cassandra |
Cassandra |
Node Cassandra lainnya |
|
7.199 |
Pengelolaan JMX. Harus terbuka untuk akses pada node Cassandra oleh Manajemen Server. |
Klien JMX |
Cassandra |
|
8080 |
Port Management API |
Klien Management API |
Server Pengelolaan |
|
8081 sampai 8084 |
Port API komponen, yang digunakan untuk mengeluarkan permintaan API secara langsung ke masing-masing komponen. Setiap komponen membuka porta yang berbeda; porta yang digunakan bergantung pada konfigurasi tetapi harus terbuka pada komponen agar dapat diakses oleh Server Pengelolaan |
Klien Management API |
Router (8081) Pemroses Pesan (8082) Server Qpid (8083) Server Postgres (8084) |
|
8.998 |
Komunikasi antara Router dan Pemroses Pesan |
Router |
Message Processor |
|
9.000 |
Port UI pengelolaan Edge default |
Browser |
Server UI Pengelolaan |
|
9.042 |
transpor native CQL |
Router Message Processor Server Pengelolaan |
Cassandra |
|
9.160 |
Klien Cassandra thrift |
Router Message Processor Server Pengelolaan |
Cassandra |
|
10.389 |
Port LDAP |
Server Pengelolaan |
OpenLDAP |
| 15.999 |
Port health check. Load balancer menggunakan porta ini untuk menentukan apakah Router yang tersedia. |
Load balancer | Router |
| 59.001 | Port yang digunakan oleh utilitas apigee-validate untuk diuji penginstalan Edge | apigee-validate | Router |
|
59.002 |
Port router tempat permintaan halaman SmartDocs dikirim |
SmartDocs |
Router |
Pemroses pesan membuat kumpulan koneksi khusus tetap terbuka untuk Cassandra, yang dikonfigurasi ke tidak pernah waktu tunggu habis. Ketika {i>firewall<i} berada di antara pemroses pesan dan server Cassandra, {i>firewall<i} dapat mengurangi waktu koneksi. Namun, pemroses pesan tidak dirancang untuk membangun kembali koneksi ke Cassandra.
Untuk mencegah situasi ini, Apigee merekomendasikan agar server Cassandra, pemroses pesan, dan {i>router<i} berada di subnet yang sama sehingga {i>firewall<i} tidak terlibat dalam deployment ini komponen.
Jika {i>firewall<i} berada di antara {i>router<i} dan pemroses pesan, dan memiliki waktu tunggu {i>tidak ada aktivitas<i} TCP, rekomendasi kami adalah untuk:
- Setel net.ipv4.tcp_keepalive_time = 1800 di setelan sysctl pada OS Linux, dengan 1800 harus lebih rendah daripada firewall nonaktif waktu tunggu tcp habis. Pengaturan ini harus menjaga koneksi dalam keadaan mapan sehingga {i>firewall<i} tidak memutuskan koneksi.
- Di semua Pemroses Pesan, edit /<inst_root>/apigee/customer/application/message-processor.properties
untuk menambahkan properti berikut. Jika file tidak ada, buat file tersebut.
conf_system_cassandra.maxconnecttimeinmillis=-1 - Mulai ulang Pemroses Pesan:
> /opt/apigee/apigee-service/bin/apigee-service edge-message-processor mulai ulang - Di semua Router, edit /<inst_root>/apigee/customer/application/router.properties
untuk menambahkan properti berikut. Jika file tidak ada, buat file tersebut.
conf_system_cassandra.maxconnecttimeinmillis=-1 - Mulai ulang Router:
> /opt/apigee/apigee-service/bin/apigee-service edge-router mulai ulang
Jika Anda menginstal 12 konfigurasi cluster host dengan dua Pusat Data, pastikan {i>node<i} di dua Pusat Data dapat berkomunikasi melalui porta yang ditunjukkan di bawah ini:

Persyaratan port BaaS API
Jika memilih untuk menginstal API BaaS, Anda dapat menambahkan komponen API BaaS Stack dan API BaaS Portal. Komponen ini menggunakan port yang ditampilkan pada gambar di bawah:

Catatan tentang diagram ini:
- Portal BaaS API tidak pernah membuat permintaan langsung ke node BaaS Stack. Ketika developer masuk ke Portal, aplikasi Portal akan diunduh ke browser. Aplikasi Portal yang berjalan di browser kemudian membuat permintaan ke node BaaS Stack.
- Penginstalan produksi API BaaS menggunakan load balancer antara node API BaaS Portal dan Stack API BaaS. Saat mengonfigurasi Portal, dan saat melakukan panggilan BaaS API, Anda menentukan alamat IP atau nama DNS load balancer, bukan node Stack.
- Semua node Stack harus membuka port 2551 untuk akses dari semua node Stack lainnya (ditunjukkan oleh panah loop pada diagram di atas untuk port 2551 pada node Stack). Jika Anda memiliki beberapa data Center, port harus dapat diakses dari semua node Stack di semua Pusat Data.
- Anda harus mengonfigurasi semua node Baas Stack untuk mengirim email melalui server SMTP eksternal. Sebagai SMTP non-TLS, nomor porta biasanya 25. Untuk SMTP yang mendukung TLS, biasanya yang digunakan adalah 465, namun periksa dengan penyedia SMTP Anda.
- Node Cassandra dapat dikhususkan untuk API BaaS, atau dapat dibagikan dengan Edge.
Tabel di bawah menunjukkan port default yang perlu dibuka di firewall, berdasarkan komponen:
|
Komponen |
Port |
Deskripsi |
|---|---|---|
|
Portal BaaS API |
9000 |
Port untuk UI BaaS API |
|
Stack BaaS API |
8080 |
Port tempat permintaan API diterima |
| 2551 |
Porta untuk komunikasi di antara semua node Stack. Harus dapat diakses oleh semua Stack lainnya node dalam canter data. Jika Anda memiliki beberapa pusat data, porta harus dapat diakses dari semua {i>node <i}Stack di semua Pusat Data. |
|
|
ElasticSearch |
9200 sampai 9400 |
Untuk berkomunikasi dengan API BaaS Stack dan untuk berkomunikasi antara ElasticSearch node |
Pemberian Lisensi
Setiap penginstalan Edge memerlukan file lisensi unik yang Anda dapatkan dari Apigee. Anda akan harus memberikan jalur ke file lisensi saat menginstal server pengelolaan, misalnya /tmp/license.txt.
Penginstal akan menyalin file lisensi ke /<inst_root>/apigee/customer/conf/license.txt.
Jika file lisensi valid, server pengelolaan akan memvalidasi masa berlaku dan Pesan yang diizinkan Jumlah prosesor (MP). Jika ada setelan lisensi yang kedaluwarsa, Anda dapat menemukan log di lokasi berikut: /<inst_root>/apigee/var/log/edge-management-server/logs. Dalam hal ini, Anda dapat menghubungi Dukungan Apigee untuk detail migrasi.
Jika Anda belum memiliki lisensi, hubungi Bagian penjualan di sini.